QQ登录

只需一步,快速开始

登录 | 注册 | 找回密码

三维网

 找回密码
 注册

QQ登录

只需一步,快速开始

展开

通知     

全站
8天前
查看: 3128|回复: 24
收起左侧

[已解决] 求此图画法,请各位师傅指点

[复制链接]
发表于 2011-3-5 09:13:17 | 显示全部楼层 |阅读模式 来自: 中国山东青岛

马上注册,结识高手,享用更多资源,轻松玩转三维网社区。

您需要 登录 才可以下载或查看,没有帐号?注册

x
本帖最后由 honglang0913 于 2011-3-5 15:25 编辑 . Y+ }7 Z' F. `* h

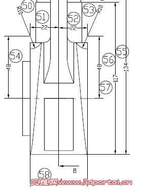
, w, K6 h: V4 V$ p2 |1 x各位老师帮忙看一下,两边的R10怎么切除,麻烦做一下传上来学习下,谢谢啦$ U# m4 I" ]* @# ^# m/ \- c
1.jpg " Q0 d3 H6 x) y/ i) P( l$ n6 U8 k
9 P% b7 E1 ?0 e$ U2 u; M

" _% v; `  s! b1 n! Z  c/ \2 y: l2 {6 Z) O8 S6 l% x) y; {! a  p
2.jpg
( c3 a$ P- [/ f
2 b% ?, y7 l! Q8 ^: N. C& `& \! d: k2 E* @2 Y
美国调整臂(中).pdf (219.51 KB, 下载次数: 88)
发表于 2011-3-5 10:28:48 | 显示全部楼层 来自: 中国江苏无锡
看不到图啊
 楼主| 发表于 2011-3-5 13:43:13 | 显示全部楼层 来自: 中国山东青岛
2# yang3269143 8 y7 c3 }* G; V2 F0 q: q0 s" ]1 T. P3 T
; `" Q3 V, r' [7 _) o
现在可以了
发表于 2011-3-5 14:22:25 | 显示全部楼层 来自: 中国江苏苏州
这图不全吧  部分看不到
 楼主| 发表于 2011-3-5 14:38:32 | 显示全部楼层 来自: 中国山东青岛
本帖最后由 honglang0913 于 2011-3-5 20:43 编辑
0 p: n; K) r1 i: v/ u6 j6 _3 A: f9 s
4# wuxin520
* H9 A% @" a0 R! Z/ S+ C6 _! ?" g! v) c2 F1 H8 k- e' f: [
全图已上传
发表于 2011-3-5 14:50:31 | 显示全部楼层 来自: 中国山东潍坊
本帖最后由 ffda 于 2011-3-5 17:01 编辑 * x! t  E3 }: C
& q4 U$ R6 a$ h' H9 M3 s0 [
你把模型建好,我来给你切!  J0 x+ u  i2 R5 I" ?1 b; Z
不行,我的图档是加密的,你打不开!
6 g8 k3 x8 m# v( g$ p这个可以用扫切来做:轮廓草图就是一个R10的圆,路径依图上要求来建!
: }- V# k0 l) D  I5 U, m* [

扫切的效果

扫切的效果

  x' J5 i) d( w6 q5 g& L' P效果不太理想,两端应该用阿基米德螺线,我用直线代替,就是这个意思吧!
发表于 2011-3-5 14:58:50 | 显示全部楼层 来自: 中国山东济宁
给我个电子版的 我给你画 有电子版 QQ280017815
发表于 2011-3-5 15:12:12 | 显示全部楼层 来自: 中国江苏苏州
用扫描切除做  就OK了
 楼主| 发表于 2011-3-5 15:21:13 | 显示全部楼层 来自: 中国山东青岛
8# wuxin520 2 Q8 I# n* N3 l3 t) m' l
我的源文件已经上传了,劳驾您完善下再发上来,谢谢啦
 楼主| 发表于 2011-3-5 19:30:38 | 显示全部楼层 来自: 中国山东青岛
本帖最后由 honglang0913 于 2011-3-5 20:44 编辑
/ \$ s. o" I$ a4 P- e/ G# g; t! x1 b( P( Q
6# ffda ) H6 ], ~: P5 R# g
效果是不太理想,你看看 3.jpg           4.jpg
5 a: C; h/ c7 K" g: A+ i% o他的两端应该是这个样子的,不是直的,这就是我搞不出来的关键
发表于 2011-3-5 19:41:51 | 显示全部楼层 来自: 中国江苏南京
本帖最后由 wlinyong 于 2011-3-5 21:35 编辑
" P+ u" u6 O% ~' U: r4 @2 o) e
, ]' o8 _; [* |$ }唉,我还要多多学习啊!14#太钓人胃口啦
发表于 2011-3-5 20:00:15 | 显示全部楼层 来自: 中国山东东营
这个题目是学习的好东西
 楼主| 发表于 2011-3-5 20:37:18 | 显示全部楼层 来自: 中国山东青岛
本帖最后由 honglang0913 于 2011-3-5 20:44 编辑 " F3 t9 H0 i+ t( X' u! `) N
) V9 k5 t' q+ S( D* O5 F) g
11# wlinyong / k7 K/ [# H+ @' f$ G
没有,原图就是这样的,客户给的,我也没办法,但少的尺寸不影响我们讨论的这个问题吧
发表于 2011-3-5 21:06:52 | 显示全部楼层 来自: 中国北京
本帖最后由 shui321yang 于 2011-3-5 21:16 编辑 : F% x' m  a5 p; |

0 n2 @. s( Z9 g7 t+ N/ ?- q给楼主个图吧,应该是这样的! 顺便给你个x-t文件,希望能有所帮助!
( Y0 f7 ~7 I* y1 s" N5 U% Q% H4 T 无标题.jpg

美国调整臂.rar

37.12 KB, 下载次数: 26

 楼主| 发表于 2011-3-5 21:32:59 | 显示全部楼层 来自: 中国山东青岛
14# shui321yang # Y* H6 T% A/ x* h: b( a  R
对,就是这样,谢谢啊,可是你给我的这个没用啊,没有特征,看不出怎么做的,文件还是X_T格式......截图不是solidworks的吗?您就好人做到底,把solidworks的源文件传上来学习下吧。
发表于 2011-3-6 06:49:49 | 显示全部楼层 来自: 中国北京
15# honglang0913 5 e3 q, N5 d. O5 o4 l9 h

5 ~4 A' t3 h" O2 i0 J, ]你的源文件是老版本,估计你打不开SW2011的,所以给了个X-T的,再给你个SW2011版的,低版本我没有。

美国调整臂.rar

261.32 KB, 下载次数: 65

 楼主| 发表于 2011-3-6 11:37:58 | 显示全部楼层 来自: 中国山东青岛
16# shui321yang
% e- |* p1 [* t. ~8 l这样啊,您可真是与时俱进啊,2011好用吗?对配置的要求是不是比2010还高啊?先谢谢啦,为了这个文件我也要装2011.
发表于 2011-3-6 16:02:42 | 显示全部楼层 来自: 中国广东深圳
可以用变半径圆角。
发表于 2011-3-7 10:34:23 | 显示全部楼层 来自: 中国河北石家庄
16# shui321yang 2 L: ~; o0 V& e" R$ u. h3 X6 F0 Y
真是个老油条啊不仅做出来了还都是奇思妙想佩服佩服!在C-C上54差0.49
 楼主| 发表于 2011-3-7 21:11:59 | 显示全部楼层 来自: 中国山东青岛
19# pproee88
' j" Z) b; y7 @' t% Z2 z您有什么妙招?我这2011还没装呢,太麻烦了,还得换回来。
 楼主| 发表于 2011-3-9 20:36:46 | 显示全部楼层 来自: 中国山东青岛
本帖最后由 honglang0913 于 2011-3-9 20:56 编辑
1 d8 }+ ^( U) N. ~- E( n, \
: m$ n: o$ S2 t# q16# shui321yang , v% ~2 s% O2 B/ f7 y7 p8 s4 q
装了双系统,又装了2011,打开了你的文件,学习了一下,终于2010版文件出炉,问题解决了,谢谢大家啦! 美国调整臂.rar (253.73 KB, 下载次数: 19)
发表于 2011-3-10 17:29:27 | 显示全部楼层 来自: 中国江苏常州
我也做了个,2011版的,高手多指教哈# ~( _' Y" l! x
美国调整臂.jpg

美国调整臂.rar

248.85 KB, 下载次数: 20

发表于 2011-3-15 23:38:58 | 显示全部楼层 来自: 中国广东东莞
[img][/img]学习了[img][/img]
发表于 2011-3-16 09:33:27 | 显示全部楼层 来自: 中国河北廊坊
高手到处有啊,好好学习一下
 楼主| 发表于 2011-3-19 21:34:42 | 显示全部楼层 来自: 中国山东青岛
22# g381011574 - O& W" `4 s2 X6 v- r" q6 S6 r

7 F2 }, z# ^3 K下载,谢谢啊。
发表回复
您需要登录后才可以回帖 登录 | 注册

本版积分规则


Licensed Copyright © 2016-2020 http://www.3dportal.cn/ All Rights Reserved 京 ICP备13008828号

小黑屋|手机版|Archiver|三维网 ( 京ICP备2023026364号-1 )

快速回复 返回顶部 返回列表