QQ登录

只需一步,快速开始

登录 | 注册 | 找回密码

三维网

 找回密码
 注册

QQ登录

只需一步,快速开始

展开

通知     

全站
5天前
查看: 5919|回复: 17
收起左侧

[推荐] 注塑模具图集 PDF (塑胶模具设计资料)

[复制链接]
发表于 2011-5-17 23:29:02 | 显示全部楼层 |阅读模式 来自: 中国广东广州

马上注册,结识高手,享用更多资源,轻松玩转三维网社区。

您需要 登录 才可以下载或查看,没有帐号?注册

x
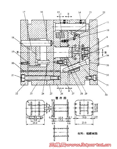
《注塑模具图集》PDF档方便设计师们携带和查询。
注塑1.jpg
注塑2.jpg
注塑.jpg

注塑模具图集.part2.rar

1.78 MB, 下载次数: 117

注塑模具图集.part1.rar

1.91 MB, 下载次数: 126

 楼主| 发表于 2011-5-17 23:29:44 | 显示全部楼层 来自: 中国广东广州
自己顶一下,发贴不易,您的回复是我最大的收获。
发表于 2011-5-21 22:26:59 | 显示全部楼层 来自: 中国江苏常州
顶下!!!不错的资料!!
发表于 2011-6-2 21:09:48 | 显示全部楼层 来自: 中国广东佛山
好资料。谢楼主。
发表于 2011-6-3 16:16:40 | 显示全部楼层 来自: 中国浙江台州
谢谢 好资料 学习了
发表于 2011-9-20 18:37:23 | 显示全部楼层 来自: 中国广东东莞
自己顶一下,发贴不易,您的回复是我最大的收获
发表于 2011-9-21 11:29:49 | 显示全部楼层 来自: 中国重庆
谢谢 好资料 下载来看看
发表于 2011-10-3 10:04:34 | 显示全部楼层 来自: 中国广东深圳
哇,,,,PDF格式的   呵呵!
发表于 2011-10-17 21:41:53 | 显示全部楼层 来自: 中国河南信阳
顶下!!!不错的资料
发表于 2011-10-28 17:03:32 | 显示全部楼层 来自: 中国山东德州
谢谢楼主分享 学习一下
发表于 2011-10-29 11:39:33 | 显示全部楼层 来自: 中国台湾
回覆一下...谢谢楼主分享
发表于 2017-3-15 15:51:45 | 显示全部楼层 来自: 中国北京
谢谢!楼主分享!
发表于 2017-6-5 16:01:36 | 显示全部楼层 来自: 中国浙江金华
谢谢,学习下。
发表于 2017-9-30 17:42:13 | 显示全部楼层 来自: 中国广东江门
很有参考价值
发表于 2017-10-6 09:36:15 | 显示全部楼层 来自: 中国山东烟台
顶贴   不错的资料   
发表于 2018-3-7 17:07:27 | 显示全部楼层 来自: 中国广东汕头
支持一下。
发表于 2023-3-22 13:44:37 | 显示全部楼层 来自: 中国湖北武汉
好资料,正需要
发表于 2025-6-13 15:04:31 | 显示全部楼层 来自: 德国
谢谢楼主分享 !   
发表回复
您需要登录后才可以回帖 登录 | 注册

本版积分规则


Licensed Copyright © 2016-2020 http://www.3dportal.cn/ All Rights Reserved 京 ICP备13008828号

小黑屋|手机版|Archiver|三维网 ( 京ICP备2023026364号-1 )

快速回复 返回顶部 返回列表