QQ登录

只需一步,快速开始

登录 | 注册 | 找回密码

三维网

 找回密码
 注册

QQ登录

只需一步,快速开始

展开

通知     

查看: 2872|回复: 11
收起左侧

[求助] 这种双齿轮轴可以加工吗?

[复制链接]
发表于 2011-7-5 09:36:40 | 显示全部楼层 |阅读模式 来自: 中国山东东营

马上注册,结识高手,享用更多资源,轻松玩转三维网社区。

您需要 登录 才可以下载或查看,没有帐号?注册

x
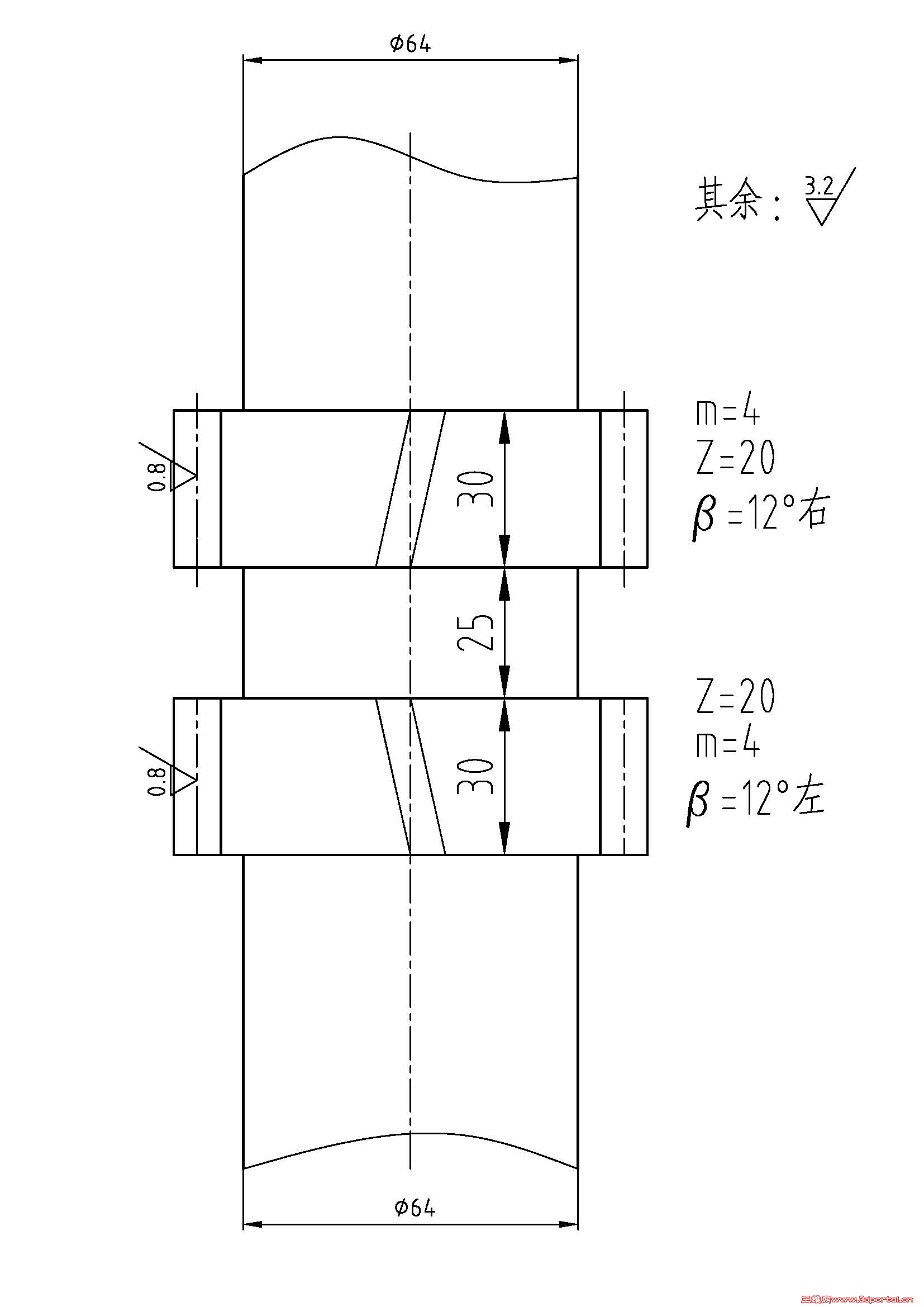
请问如图所示的双齿轮轴,可以加工出来吗?用什么方法加工呢?还是需要把其中的一个齿轮改成单个零件后,用键连接呢?谢谢
双齿轮轴.jpg
发表于 2011-7-5 09:56:57 | 显示全部楼层 来自: 中国广东深圳
本帖最后由 天地行008 于 2011-7-5 09:59 编辑
% f* E$ F, n- P+ ~" T, U- `, Y
& U1 n6 p+ V2 t4 ]# m# j这可以认为是通常意义的人字齿轮,中间25长度就是留给加工机床的空刀槽,精加工可以考虑用梳齿机加工,也可以特制人字齿轮形砂轮利用绗磨得到0.8,0 S* E4 B7 n, |1 ~/ ?, J# R
用键连接呢?不知道你的具体设计要求怎么样,不敢妄言,若有活需要干,可以直发短信联系哦

评分

参与人数 1三维币 +3 收起 理由
hero2006 + 3 应助

查看全部评分

 楼主| 发表于 2011-7-5 11:18:20 | 显示全部楼层 来自: 中国山东东营
感谢楼上回复,我就是想知道25的空刀槽够用了是吧?我是怕空刀不够用,才考虑是否要换成键连接的
发表于 2011-7-5 12:06:19 | 显示全部楼层 来自: 中国上海
如果是滚齿加工的话,25宽的退刀槽恐怕不够。
td.jpg

评分

参与人数 1三维币 +3 收起 理由
hero2006 + 3 应助

查看全部评分

 楼主| 发表于 2011-7-5 13:17:48 | 显示全部楼层 来自: 中国山东东营
不用滚齿加工的话,可以采用其他什么加工方式呢?
发表于 2011-7-5 16:16:33 | 显示全部楼层 来自: 中国江苏苏州
不用滚齿加工的话,可以采用其他什么加工方式呢?
! e) {0 j) e) lphoebehsm 发表于 2011-7-5 13:17 http://www.3dportal.cn/discuz/images/common/back.gif
  O- h$ u* z0 }' ]3 Q  \
可用插齿加工,但精度可能不太好。需专用工装或数控插齿机。& \( @% w6 V/ j' O1 T- y8 k
加工方法还是看你需要多高的精度。还有人字齿的对中性要求怎么样?
 楼主| 发表于 2011-7-5 16:55:26 | 显示全部楼层 来自: 中国山东东营
可用插齿加工,但精度可能不太好。需专用工装或数控插齿机。
5 S) h) ?# @/ N% n( F5 e6 G+ @( C加工方法还是看你需要多高的精度。还有人字齿的对中性要求怎么样?
2 t7 q8 m% X6 r; _. uhero2006 发表于 2011-7-5 16:16 http://www.3dportal.cn/discuz/images/common/back.gif

: z3 ?1 Y, A2 H1 i& Q  J6 I/ w3 z' F3 _$ V2 z" W
精度等级 6GJ,齿顶圆尺寸公差为h11,齿部G52,其余T235。; s( f* n4 k; k
! a- E$ F4 ^) I6 o0 X
对中性是指什么?图纸上没有特殊要求。
发表于 2011-7-6 09:11:25 | 显示全部楼层 来自: 中国广东深圳
对中性是指:左右两个旋向的两个齿关于退刀槽中线的对称特性,这一对称特性直接影响人字齿轮的工作受力状况和啮合特性
 楼主| 发表于 2011-7-6 09:45:02 | 显示全部楼层 来自: 中国山东东营
对中性是指:左右两个旋向的两个齿关于退刀槽中线的对称特性,这一对称特性直接影响人字齿轮的工作受力状况和啮合特性
. j4 x6 H# X+ a/ X) p5 \天地行008 发表于 2011-7-6 09:11 http://www.3dportal.cn/discuz/images/common/back.gif
1 j, W  J+ N$ O. e) i1 L& E
- x3 _9 R( n+ q* z9 e
哦,这个对中性没有要求。和这个人字齿轮啮合的另外2个齿轮属于2个不同的轴,那两个齿轮与轴的连接是涨紧套连接的。
  ?3 Y' W3 p& n: R2 q2 N  t- Y( E  y$ B0 l( B# F
另外问下,滚齿加工和插齿加工在价格上大概差多少呢?
发表于 2011-7-6 15:47:19 | 显示全部楼层 来自: 中国台湾
採用刨齒機(Gear Shaper)加工
发表于 2011-7-6 16:35:46 | 显示全部楼层 来自: 中国台湾
雖然對機加工比較不了,多吸收,多學習
发表于 2011-7-7 12:16:24 | 显示全部楼层 来自: 中国广东深圳
9# phoebehsm , G* V9 q/ c9 s

9 ?4 s/ I) |/ ]0 _你这图上这个件,强行用滚齿加工的话,说不定比插齿还贵(一般能同时用滚齿和插齿加工的,制齿工序工时价格差约为30%,滚齿便宜)
发表回复
您需要登录后才可以回帖 登录 | 注册

本版积分规则


Licensed Copyright © 2016-2020 http://www.3dportal.cn/ All Rights Reserved 京 ICP备13008828号

小黑屋|手机版|Archiver|三维网 ( 京ICP备2023026364号-1 )

快速回复 返回顶部 返回列表