QQ登录

只需一步,快速开始

登录 | 注册 | 找回密码

三维网

 找回密码
 注册

QQ登录

只需一步,快速开始

展开

通知     

查看: 2264|回复: 10
收起左侧

[求助] 一个很奇怪的负载敏感回路问题- 求高人指点

[复制链接]
发表于 2011-8-22 10:15:55 | 显示全部楼层 |阅读模式 来自: 中国湖南长沙

马上注册,结识高手,享用更多资源,轻松玩转三维网社区。

您需要 登录 才可以下载或查看,没有帐号?注册

x
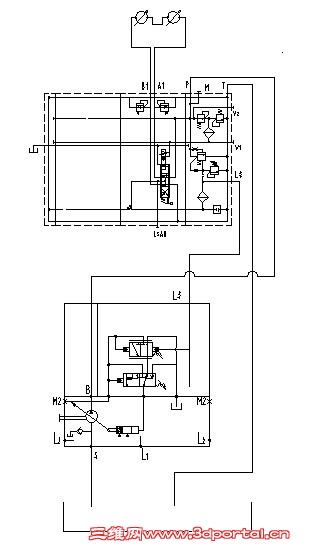
电手柄满行程7V的样子,在5~6V的某个位置上,锁定后,主阀芯来回窜动,主油路的管路抖动得特别厉害,不知道什么原因。
# E1 s5 H5 G7 C" s- G; A. r6 }0 m. l/ p. i0 W  e$ T9 u
振动源,从原理上分析,应该是主阀引起的。3 d5 K- w  V6 u+ T$ A
. y1 Y' K& k+ P5 A# g
泵也是一个负载敏感泵, 主阀芯来回窜动,导致泵的输出来回盖板,泵至阀的油路抖动可以理解。
  q* `6 L& L" K  ?0 A; S: j6 U8 Q( ]) y9 S# @4 J. _
而执行机构, 是2个变量泵串联,没有其它的反馈信号,在空载下,管路也抖动,这样由于负载引起的抖动有点讲不通。7 F/ ^3 M. Q+ A5 l$ `5 x; m2 ?

3 v% d. q" Y- s而阀的部分,也就是一个负载敏感阀+电液比例,也没有其它的复合动作。电信号和放大板采用原厂自带的,也出现抖动情况。9 g5 H/ K$ k$ `9 [% U# D; w
; E& D' A, m6 K1 g/ J* Q7 s, P
在流量上,我们将发动机的转速从900 转提升到2000rpm,这个过程中,在这个点的位置都有抖动现象。- b  a' [  W; V: X
* p, O3 n+ P- H' F/ {+ S/ {( a& U
在阀至泵的LS油路上,增加一节流阀,泵至阀处的管理抖动稍微有点好转,但是调整手柄到某个位置,又可找到抖动得更厉害的位置。
$ @" V, ?# c% M, t$ ?
+ U0 S6 `' U  U  g现在我们打算测一测,阀上先导油口的油压,看能否找到抖动源。
* Q; f: M" `8 w* q
" I2 }6 B; R2 F$ U* i1 A不知群里的高手有什么好的建议,望不吝赐教,谢谢。3 }8 I4 X' h; }4 u) x' n
, ^; T2 V+ {6 W# {
http://file:///C:/Users/CSYC_CSU/AppData/Roaming/Tencent/Users/75078018/QQ/WinTemp/RichOle/QNT%6058JUD_0GX4QA$T%7DTHDM.jpg
原理.jpg

评分

参与人数 1三维币 +3 收起 理由
柠檬咖啡 + 3 议题详细

查看全部评分

 楼主| 发表于 2011-8-22 14:22:04 | 显示全部楼层 来自: 中国湖南长沙
自己沙发一下,在线等高人的出现。。。。
 楼主| 发表于 2011-8-22 16:38:07 | 显示全部楼层 来自: 中国湖南长沙
地址怎么发不上来?想把震荡现象的视频发出来,大家分析分析。。。
# ]0 X; {0 Y% D, V' X( e0 P2 S$ u7 T3 L7 B3 z, y) M/ t. H
http://6 I+ S3 f' q- d  T2 B; L& J
v.youku.com/v_show/id_XMjk3MjE4NjQw) Q$ H* t! `+ s2 H7 I" C  J
.html
发表于 2011-8-24 14:38:34 | 显示全部楼层 来自: 中国上海
首先你的主阀芯来回窜动这个问题不应该是LS回路的问题,首先你应该测一下主阀先导那一路的压力是否正常。还有阀电流(电压)是否正常。如有条件记录下抖动特别厉害的阀芯的位置,采用手动操作看是否还有这个现象。把电器的故障排除。你先做做看。然后下一步再做判断。

评分

参与人数 1三维币 +3 收起 理由
柠檬咖啡 + 3 积极应助

查看全部评分

发表于 2011-8-25 20:41:56 | 显示全部楼层 来自: 中国湖南长沙
4F说的很正确
发表于 2011-8-28 23:47:21 | 显示全部楼层 来自: 中国天津
楼主用的阀是哈维的多路阀吗?LS溢流阀可能有问题,还有就是液压系统有一定的刚度,在种频率下可能会有共振,加节流就是改变了系统的刚度
发表于 2011-8-29 07:49:48 | 显示全部楼层 来自: 中国江苏南通
这个不错,够明确
发表于 2011-8-29 18:04:10 | 显示全部楼层 来自: 中国湖南长沙
电控是不是有振颤频率?振颤幅度?
发表于 2011-8-30 22:52:16 | 显示全部楼层 来自: 中国上海
从原理图上看,比例多路阀应该是丹佛斯的,先导控制压力应该是没有办法测的,因为它没有测压点,如果有条件请更换换向阀上的电比例先导控制模块,有可能是它有问题;, z' l- ~% O+ ]7 [/ L2 z
从楼主的描述来看,在手柄不动的情况下系统也是会振动的。我遇到过类似的问题,多路阀手柄固定在一个位置的时候系统也有可能振动,我认为不一定是多路阀阀的事;
' W6 X6 J. i+ }- ?建议在LS管路上增加节流孔,而不是节流阀,通过实验可以找到消除振动的合适大小的节流孔;
发表于 2011-8-31 10:33:09 | 显示全部楼层 来自: 中国福建厦门
一般先导压力通过减压阀后提供控制油源,应该不会有大问题,特别是空载时P口的压力稳定,先导压力也应该稳定。那么问题应该出现在LS线上,增加节流孔或节流阀无法去除LS压力波动,只能减弱。所以个人觉得原因出在LS线上的溢流阀,看看是否可以堵住这个阀再试验。
发表于 2011-8-31 15:32:31 | 显示全部楼层 来自: 中国北京
原理图我都看不明白啊
发表回复
您需要登录后才可以回帖 登录 | 注册

本版积分规则


Licensed Copyright © 2016-2020 http://www.3dportal.cn/ All Rights Reserved 京 ICP备13008828号

小黑屋|手机版|Archiver|三维网 ( 京ICP备2023026364号-1 )

快速回复 返回顶部 返回列表