QQ登录

只需一步,快速开始

登录 | 注册 | 找回密码

三维网

 找回密码
 注册

QQ登录

只需一步,快速开始

展开

通知     

全站
11天前
查看: 2199|回复: 8
收起左侧

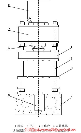
[求助] 液压机导柱两端现在都是用什么固定?

[复制链接]
发表于 2011-8-27 20:40:09 | 显示全部楼层 |阅读模式 来自: 中国浙江金华

马上注册,结识高手,享用更多资源,轻松玩转三维网社区。

您需要 登录 才可以下载或查看,没有帐号?注册

x
液压机导柱两端现在都是用什么固定?
 楼主| 发表于 2011-8-28 09:46:13 | 显示全部楼层 来自: 中国浙江金华
未命名.jpg 就是类似这样的导杆应该怎么样固定两端,其导向作用最佳
发表于 2011-8-28 09:49:08 | 显示全部楼层 来自: 中国山东烟台
锯齿形螺纹
发表于 2011-8-30 23:37:33 | 显示全部楼层 来自: 中国河北唐山
螺纹固定。
发表于 2011-8-31 17:26:31 | 显示全部楼层 来自: 中国江苏泰州
这个看液压机吨位大小的,小的三角螺纹,大的锯齿螺纹 好像界限是500T 500T以上是锯齿螺纹 还有一点上了几千吨的,固定方式又有些不一样,具体你可以查资料
发表于 2011-9-1 11:03:25 | 显示全部楼层 来自: 中国湖北荆州
一般是通过工作台、上固定架用(螺纹)螺母固定。
 楼主| 发表于 2012-7-8 18:28:25 | 显示全部楼层 来自: 中国浙江金华
谢谢大家了
发表于 2012-7-9 11:01:12 | 显示全部楼层 来自: 中国山西太原
两端用锯齿形螺纹的螺母紧固,注意外螺纹的小角度(3°)平面朝里,使小角度面受力。
发表于 2012-7-9 22:10:18 | 显示全部楼层 来自: 中国山东青岛
小吨位都是三角形螺纹的。
发表回复
您需要登录后才可以回帖 登录 | 注册

本版积分规则


Licensed Copyright © 2016-2020 http://www.3dportal.cn/ All Rights Reserved 京 ICP备13008828号

小黑屋|手机版|Archiver|三维网 ( 京ICP备2023026364号-1 )

快速回复 返回顶部 返回列表