QQ登录

只需一步,快速开始

登录 | 注册 | 找回密码

三维网

 找回密码
 注册

QQ登录

只需一步,快速开始

展开

通知     

查看: 4312|回复: 25
收起左侧

[求助] 做变速的齿轮倒角

[复制链接]
发表于 2011-10-5 13:36:33 | 显示全部楼层 |阅读模式 来自: 中国四川资阳

马上注册,结识高手,享用更多资源,轻松玩转三维网社区。

您需要 登录 才可以下载或查看,没有帐号?注册

x
本帖最后由 liqiangproe 于 2011-10-5 22:27 编辑
$ d+ x/ `* M, e4 i) z+ N! q! A# m& P; X
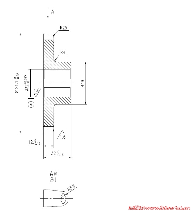
做变速的齿轮(滑移齿轮)倒角角度 一般为20度,但听同事说 倒角应该有圆弧,但学生不解:; P# }5 P! m8 Y/ G0 n

: Q0 C! ^1 F  G/ X圆弧大小该为多少(有什么原则)
& ]; e0 d- D& ^3 l4 x& f4 O+ ]- H  H+ _, }: k" }
以及在CAD或CAXA软件中 如何画这个圆弧?5 z6 s8 ~+ k7 s  l; |- a: A# R" K

& M7 n  Q- ^# O6 U, [请老师指教!!. [. ]9 ^' d5 {- u! g
% b2 }, E% i. ~( u' j& B: T2 @

! _. o( r9 V* R  A, V- F, R
) o. R/ F$ `2 T& y4 G谢谢!!!
01.jpg
发表于 2011-10-5 16:04:35 | 显示全部楼层 来自: 中国江苏常州
滑移齿轮的话,倒角应该有圆弧,圆弧大小与模数、齿厚有关。可查齿轮手册。
发表于 2011-10-5 16:06:39 | 显示全部楼层 来自: 中国江苏常州
看一下此贴 ) K3 D. p7 k/ v/ b7 F1 E2 U3 x8 X

( D* m( M; ~$ U( ?7 P9 d, @6 S2 qhttp://www.3dportal.cn/discuz/viewthread.php?tid=905429
发表于 2011-10-5 16:24:04 | 显示全部楼层 来自: 中国江苏常州
本帖最后由 ftgww123 于 2011-10-5 16:26 编辑
% ]/ l) Z9 @6 M! T! I$ b8 S7 x5 f: r" i! e# d1 \& T
未命名.jpg
' z) L" A3 u8 O5 @" R, q6 w+ Y- ~4 \8 I; e
贴图供参考,20度斜面也可以用大圆角R替代。
发表于 2011-10-5 18:46:30 | 显示全部楼层 来自: 中国广东东莞
倒角比倒圆弧成本低,但倒圆弧操作运行要好些,结合冲击小。建议高速齿倒圆弧减小冲击和噪音,低速齿倒角以降低成本。
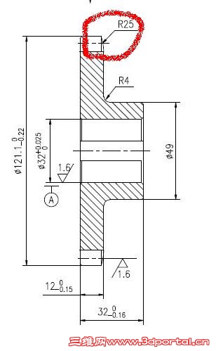
 楼主| 发表于 2011-10-5 22:02:50 | 显示全部楼层 来自: 中国四川资阳
本帖最后由 liqiangproe 于 2011-10-5 22:41 编辑
0 b2 ~& r! Y5 s1 J/ U6 l' _
3 ]' U0 P: C8 V" J; D- p谢谢 老师 学生学习了& [0 }0 R0 Z/ @, Q$ J

7 E. R+ ^* _. Z/ ^6 g( L+ c请问老师 !
* S2 R; u0 D2 `6 d# x; t/ B* X
) L2 O. k# W( L9 I5 @在CAD里 用20度线画出了倒角线,我用圆弧命令画不出来?
. J- _! ~9 s$ M, S5 C1 K- |. w7 m9 Y" u1 c% M' n1 M+ I
学生理解所画的圆弧线与20度线相切?不知正确与否..
+ F! o2 i$ S) Y1 `* d% j; n! `  \+ ]/ n
请赐教!!!
01.jpg
01.jpg
发表于 2011-10-5 22:48:25 | 显示全部楼层 来自: 中国江苏常州
要么20度斜线,要么R圆弧,与倒角刀形状是一致的。
/ \% `& f, N# i: Q下载3楼衔接课件好好看看,就明白了。
发表于 2011-10-5 22:52:02 | 显示全部楼层 来自: 中国广东东莞
本帖最后由 tangcarlos3d 于 2011-10-6 18:54 编辑
1 F1 m% m" I' w
! w# F6 S" w+ A1,将左边线往右offset 半径值(比如25mm),2,过切点作左边线的垂线,二线的交点就是圆心,3,以此点为圆心,25为半径画的弧即是结果。
 楼主| 发表于 2011-10-6 13:03:12 | 显示全部楼层 来自: 中国四川资阳
8# tangcarlos3d : ?- w# r/ b; v5 b
- o+ S: q' x% v
谢谢!
9 S; b) X1 b! S8 L* ]. J  L8 @4 X& R5 O
学生试了一下! 还是不行 ,请看图:4 T$ G& }9 d9 N* p$ p& ?+ A

6 b/ b8 c3 Z% o$ e4 H1 {) J$ ~
; u7 @. s! [, d4 v( @5 v+ J& \老师 帮帮学生 示范一下操作过程(截图或录像)吧!!!8 c# Y1 I: M, z. l/ u" S$ p
, z9 e$ }0 y: u0 m4 r: M

: B& Q) g% a5 e2 ~谢谢!!!
01.jpg
发表于 2011-10-6 13:34:46 | 显示全部楼层 来自: 中国江苏常州
不要把功夫花在作图上,多看看课件,看看实际是怎么回事再说。
发表于 2011-10-6 19:01:15 | 显示全部楼层 来自: 中国广东东莞
本帖最后由 tangcarlos3d 于 2011-10-6 19:13 编辑
+ f/ m5 Y; }( _8 _, n, d5 y, r* e  ^! W
你的作图错了!第二条线是过切点(即知道切点位置),不是offset.2 L! O' V1 M' j+ b
3 ]) z3 b0 J' A/ m; V) p( z, j
注意:我是pro/e画的。
' j) [/ G+ D5 w第一图:图中斜线对y轴的角度是20度(图中的T是相切点)。我家里机器没有autcad。不过画图方法是一样的。+ S; y/ n' `  L  T
' h" q5 t/ v, A( M
第而个作图方法是(已知20度倒角边的大小,不知道切点位置):1,作20度倒角斜边,2,把斜边与左垂直边的交点处倒R25的圆弧(见第二个图)。这个方法简单些。
a.jpg
b.jpg
 楼主| 发表于 2011-10-6 21:33:01 | 显示全部楼层 来自: 中国四川资阳
本帖最后由 liqiangproe 于 2011-10-6 21:34 编辑 4 O; X. E0 S1 X: s$ O5 i$ G
$ ~3 {" A; k3 q; v; K  W0 U! t
谢谢 老师!
7 A( Q# K" T: G5 S
# I: S! q% B# c/ x( e- O学生也用PROE画了一下!请老师看图(如图2及如图3)请问正确吗?% i/ N$ [/ T' u* j/ ]2 E
% B$ d' t6 W+ _! w6 H. B* ?
(齿轮画的简图,齿形不正确,还请见谅); `; D. d, R% I
# }1 [$ v* t4 _- f) n. E
请看第一张图(如图1),齿槽端部(此处)还需要倒成圆角吗?
( D0 ^8 T% f1 U. U6 H, ^! d* D( W; q9 T. v2 j+ J
谢谢!!!
01.jpg
02.jpg
03.jpg
发表于 2011-10-6 21:38:17 | 显示全部楼层 来自: 中国江苏常州
本帖最后由 ftgww123 于 2011-10-6 21:39 编辑
& Z- R" T& j) I  E, t! O- H. m/ b2 V1 D" V  R( Y& ]7 `5 p
本版块----研究cad,还是倒角工艺。
8 A+ p) E0 e( V. V杯具
 楼主| 发表于 2011-10-6 21:52:41 | 显示全部楼层 来自: 中国四川资阳
对不起 各位版主 各位老师
9 ~) R7 z) _# W  S; v这个问题 倒角涉及加工 也涉及倒角的大小及画法
" r+ n" _/ K0 J) P7 u6 u9 N+ {倒角的大小(画法) 关系到加工
2 P4 Y: N: b% ~$ q6 |0 j# x! {1 @所以学生发到这里了
发表于 2011-10-6 22:38:49 | 显示全部楼层 来自: 中国广东东莞
本帖最后由 tangcarlos3d 于 2011-10-8 22:39 编辑 , P: Y9 R9 Y7 I% E1 p

7 n" O' \: m: }$ J. c6 {# b图纸画正确肯定是对的!我没有记错的话,12楼中第一图中轮齿端部的倒角是用剃齿机进行微修(查了一下,剃齿机主要用于精加工没淬火的齿轮,也可以加工齿面中鼓的齿形)。
发表于 2011-10-6 22:39:50 | 显示全部楼层 来自: 中国江苏常州
本帖最后由 ftgww123 于 2011-10-7 14:58 编辑
0 l/ R3 S2 r' V2 W3 o
0 n7 e, t9 i& m剃齿机进行倒角$ b) W  M9 e3 @4 k, H8 @0 t, P

1 r! Z; l) i2 K" A& J-----------孤陋寡闻了
 楼主| 发表于 2011-10-7 13:19:30 | 显示全部楼层 来自: 中国四川资阳
请问 老师!!!5 ]! g( q2 d/ S7 z9 e) n

7 b: O: [' m6 N3 z轮齿端部需要倒角吗?(什么情况下要倒角)5 i! O" T, K+ \# q* B
' K6 F& L2 c1 x+ R6 h1 B
我在现场看了下,好像没有倒....
* v8 |& N( Y; {; Z/ }
+ Y( _& h6 T, \谢谢
发表于 2011-10-7 14:53:10 | 显示全部楼层 来自: 中国江苏常州
一下回到解放前
 楼主| 发表于 2011-10-8 21:25:39 | 显示全部楼层 来自: 中国四川资阳
本帖最后由 liqiangproe 于 2011-10-8 21:31 编辑
- X2 f7 C2 T$ W* R8 A, }* X0 [4 T
( p# Y# D4 J) P- p- L6 L6 |% h请问 老师!!!3 K7 S2 N/ g3 {  O, |' Z
- V$ L) l3 A! _& P  m0 H& J
轮齿端部需要倒角吗?(什么情况下要倒角)
+ T- q4 q' M, b3 O/ S; w6 B3 F: x  B# B# b4 D9 o- n, J
做滑移齿轮用7 X0 u6 m4 _; {# t# H2 i3 S
. ]0 \+ t/ B! ]1 w) V, [
谢谢
发表于 2011-10-8 22:32:23 | 显示全部楼层 来自: 中国广东东莞
本帖最后由 tangcarlos3d 于 2011-10-8 23:14 编辑
7 b  s  p3 }4 w4 ]8 P9 U; J8 h3 s8 ?; _6 V& {1 p
滑移齿轮及与滑移齿轮相啮合的齿轮,换句话说就是换挡齿轮的轮齿主动(先接触)结合边要倒角。
发表于 2011-10-8 22:33:59 | 显示全部楼层 来自: 中国江苏常州
主被动都要倒角.
 楼主| 发表于 2011-10-8 22:47:23 | 显示全部楼层 来自: 中国四川资阳
本帖最后由 liqiangproe 于 2011-10-8 22:49 编辑 2 f+ ?  S2 @! Q  Q& `  l! i! I2 g6 `% z
: I( y( R/ g  V0 p* h1 ^
谢谢 两位师傅!2 o2 R8 Z' m; O# t: Q

( w4 c! c5 k" k- f9 f做滑移齿轮 轮齿端部 倒角  可以只倒成图1那样 (这样倒角会补会影响齿轮的滑移)
) u+ n- e* k6 Q( V- s  l  x9 W- p7 I/ u
还是必须要倒成图2那样啊
* t. _6 z4 B) \
4 u  }2 j; L7 Z' Q$ Q+ m; k+ B! B学生谢谢了!
01.jpg
02.jpg
发表于 2011-10-8 23:18:00 | 显示全部楼层 来自: 中国广东东莞
谢谢 两位师傅!, d  A2 f: G& [7 C

; X2 c- O! N$ L! b! d4 u+ }1 [做滑移齿轮 轮齿端部 倒角  可以只倒成图1那样 (这样倒角会补会影响齿轮的滑移)
7 G0 C1 R7 m8 U+ ~2 ]* r% k( C+ z# ~9 L. T0 D1 h
还是必须要倒成图2那样啊! _2 H* m- ]* a) e' ?

2 Q5 }, d: K) M; L+ F学生谢谢了!
  u0 J) L- ]/ c( ~0 N2 M; j; Xliqiangproe 发表于 2011-10-8 22:47 http://www.3dportal.cn/discuz/images/common/back.gif

& b  p" `. V( c, [( {$ y7 s. \应该做成图2那样才能容易啮合(倒角面作为导向面)。图1 的倒角不行。
 楼主| 发表于 2011-10-9 14:46:09 | 显示全部楼层 来自: 中国四川资阳
谢谢  两位师傅 !' C' z+ N, w; b! w. u
$ K/ w. L! L& l  [2 v% ^$ J
学生学习了........
发表于 2011-10-18 20:08:39 | 显示全部楼层 来自: 中国广东东莞
上次我在15楼的答复有误,在此表示歉意。下面的是正确的资料。

齿轮轮齿端倒角.pdf

222.94 KB, 下载次数: 5

发表回复
您需要登录后才可以回帖 登录 | 注册

本版积分规则


Licensed Copyright © 2016-2020 http://www.3dportal.cn/ All Rights Reserved 京 ICP备13008828号

小黑屋|手机版|Archiver|三维网 ( 京ICP备2023026364号-1 )

快速回复 返回顶部 返回列表