QQ登录

只需一步,快速开始

登录 | 注册 | 找回密码

三维网

 找回密码
 注册

QQ登录

只需一步,快速开始

展开

通知     

查看: 1369|回复: 3
收起左侧

[已解决] 这个图怎样画?

[复制链接]
发表于 2012-3-26 18:06:19 | 显示全部楼层 |阅读模式 来自: 中国广东佛山

马上注册,结识高手,享用更多资源,轻松玩转三维网社区。

您需要 登录 才可以下载或查看,没有帐号?注册

x
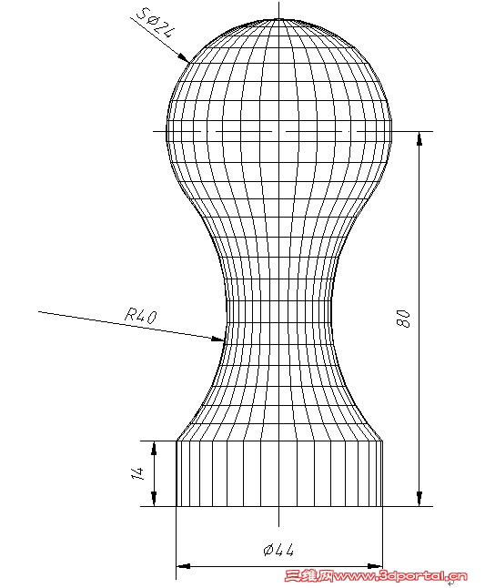
如题,详细些,
R~(}[O{_US6VVY$[(~FV30S.jpg
发表于 2012-3-26 18:10:03 | 显示全部楼层 来自: 中国广东江门
是网格状?用旋转命令就做出来啊

评分

参与人数 1三维币 +3 收起 理由
woaishuijia + 3 应助

查看全部评分

发表于 2012-3-26 18:15:41 | 显示全部楼层 来自: 中国广东江门
做一个出来
未命名.jpg
 楼主| 发表于 2012-3-27 13:26:47 | 显示全部楼层 来自: 中国广东佛山
恩恩~!懂啦 3# tonyle
发表回复
您需要登录后才可以回帖 登录 | 注册

本版积分规则


Licensed Copyright © 2016-2020 http://www.3dportal.cn/ All Rights Reserved 京 ICP备13008828号

小黑屋|手机版|Archiver|三维网 ( 京ICP备2023026364号-1 )

快速回复 返回顶部 返回列表