QQ登录

只需一步,快速开始

登录 | 注册 | 找回密码

三维网

 找回密码
 注册

QQ登录

只需一步,快速开始

展开

通知     

查看: 2748|回复: 22
收起左侧

[求助] 差动油缸为何不动作

[复制链接]
发表于 2012-3-30 20:31:10 | 显示全部楼层 |阅读模式 来自: 中国江苏无锡

马上注册,结识高手,享用更多资源,轻松玩转三维网社区。

您需要 登录 才可以下载或查看,没有帐号?注册

x
Y型中位机能的电磁阀控制一组带液压锁(液控单向阀)的油缸,现在我的电磁换向阀P、T口接反了,结果就成了P型的中位机能了,且换向前始终有高压,为何中位时,油缸不动了?
1 [5 Y7 H8 `; W' A1 j" O9 b
+ F" _/ C* n( j* l7 x/ W1 p0 D 20080525_f434fdebccaa6988d1ccYCyFunrUBuM0.jpg
 楼主| 发表于 2012-3-30 20:34:36 | 显示全部楼层 来自: 中国江苏无锡
我自己开始分析的时候是这样想的,中位的时候进出口都是高压,液压锁的单向阀都打开,而且压力也相等,但无杆腔面积较大,所以油缸应该是伸出才对,实际情况却不对 1# ligongjie
发表于 2012-3-30 20:45:00 | 显示全部楼层 来自: 中国广东东莞
本帖最后由 tangcarlos3d 于 2012-3-30 20:50 编辑 9 |7 i3 e, T! N9 R8 e

) a5 q) c  G8 h有杆腔的油被单向阀陡死出不来,油缸能前进吗?你的油路有问题吧?
1.jpg

评分

参与人数 1三维币 +3 收起 理由
9619 + 3 技术讨论

查看全部评分

 楼主| 发表于 2012-3-30 20:52:12 | 显示全部楼层 来自: 中国江苏无锡
3# tangcarlos3d
5 a2 [4 r5 o! }2 E; W+ A这是液控单向阀,两个组成液压锁,无杆腔如果有一定压力(相当于先导压力),其单向阀会打开,有杆腔的油液可以逆流排出
发表于 2012-3-30 22:19:02 | 显示全部楼层 来自: 中国辽宁沈阳
书上说P型中位机能不就是油缸浮动吗?, K" C) S0 l9 I  w4 s) q5 n
现象正确啊. q& w- y% X# z2 j
压力决定于负载呀,在这图里与活塞面积无关吧
发表于 2012-3-30 23:35:46 | 显示全部楼层 来自: 中国四川成都
楼上的把压力取决于负载用的真好啊。。。" U( {( J% z1 D% g% s9 Y6 O
油缸不动了,是不是走到头了哦
发表于 2012-3-30 23:40:43 | 显示全部楼层 来自: 中国河南安阳
油缸抖动吗?
发表于 2012-3-31 11:44:15 | 显示全部楼层 来自: 中国四川泸州
本帖最后由 倒扁 于 2012-3-31 11:58 编辑
5 T) n$ h$ `( e9 ]# D3 C
1 M" D1 k4 c" o( \- N* s应该和双向锁顶杆结构有关,顶杆两端面积和压力相同,并有杆腔单向阀弹簧力的作用下,顶杆在中位,有杆腔液控单向阀不能打开。油缸不动。这应该也是双向锁液压原理图画法不准的误导。
发表于 2012-3-31 11:57:53 | 显示全部楼层 来自: 中国广东深圳
本帖最后由 ttyxe 于 2012-3-31 11:59 编辑 4 N( x; U: `, a* m( e

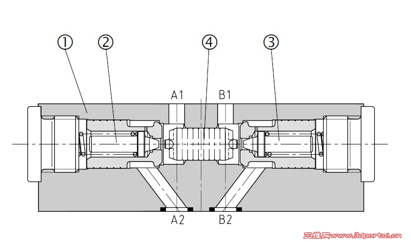
& p$ R  p% T: }' N9 M+ ?7 q; \了解一下叠加式液控单向阀的结构啦!当p接反时 液控单向阀的先导控制活塞两边的压力是一样的。你要想使油缸差动,就必须使有杆腔排油。现在液控单向阀就像两个单向阀一样,只能出不能打开其中一边,所以就没有什么差动了,油缸根本就不能动作。若你把液控单向阀拆了就可以差动了。 叠加式液控单向阀剖视图.jpg
发表于 2012-3-31 23:03:55 | 显示全部楼层 来自: 中国山西太原
支持楼上的说法,两边都憋死了,液控单向阀就只是单向阀了!~
发表于 2012-4-1 14:39:34 | 显示全部楼层 来自: 中国江苏盐城
差动油缸速度可以提升,但输出力是下降的,所以得看看你的输出力是否大于负载,输出力是压力乘以无杆腔和有杆腔的面积差,如果面积差较小,自然输出力就不大了。
发表于 2012-4-1 20:52:03 | 显示全部楼层 来自: 中国广东东莞
差动油缸速度可以提升,但输出力是下降的,所以得看看你的输出力是否大于负载,输出力是压力乘以无杆腔和有杆腔的面积差,如果面积差较小,自然输出力就不大了。
* ^6 n5 U' o9 z5 f6 x0 N& t; Wyx_111 发表于 2012-4-1 14:39 http://www.3dportal.cn/discuz/images/common/back.gif
: y2 [; r6 Q: {! s% E+ t! y
一般差动油缸有杆腔的面积是无杆腔的一半。
# }, J2 L4 |: j% l9 s1 k差动油缸主要使用在快进的场合,工进时不用差动油缸。请楼主检查工进时还是用差动连接。
发表于 2012-4-2 14:23:04 | 显示全部楼层 来自: 中国广东深圳
各位,他这个回路不能形成差动是因为液控单向阀的问题,讨论其他都没用。

评分

参与人数 1三维币 +2 收起 理由
9619 + 2 这是问题的所在

查看全部评分

 楼主| 发表于 2012-4-3 21:38:15 | 显示全部楼层 来自: 中国江苏无锡
没有任何抖动 7# 9619
 楼主| 发表于 2012-4-3 21:40:46 | 显示全部楼层 来自: 中国江苏无锡
杆是伸出到最前端了。我想明白了,如果反接的话,中位应该是保压状态,对么? 6# dirina
 楼主| 发表于 2012-4-3 21:48:52 | 显示全部楼层 来自: 中国江苏无锡
到底是先排出油液从而使叠加式液控单向阀活塞两端受力不等从而实现差动还是因为叠加式液控单向阀活塞两端受力不等从而使油缸有杆腔排出油液从而实现差动?哪个在前? 9# ttyxe
发表于 2012-4-6 12:05:21 | 显示全部楼层 来自: 中国广东深圳
叠加式液压锁,其实就是两个单向阀+一个双锥头控制活塞组成。请看上面回复。当换向阀在中位时控制活塞两个端的作用力是一样的,这样控制活塞不起任何作用。这样液压锁就相当于两个单向阀。P口的油只出流出,油缸AB腔的油不能倒流。若你油缸有较大负载,可能动了一下液控单向阀关不死造成油缸失控的情况也有
发表于 2012-4-7 22:44:40 | 显示全部楼层 来自: 中国河南安阳
杆是伸出到最前端了。我想明白了,如果反接的话,中位应该是保压状态,对么? 6# dirina
7 S7 Y# d' v9 _7 Kligongjie 发表于 2012-4-3 21:40 http://www.3dportal.cn/discuz/images/common/back.gif
  s' \- G/ u; R7 X; o7 z

5 S" N0 E1 P' o  p! B' x这个与你一楼的表述不一致呀。
 楼主| 发表于 2012-4-8 10:20:19 | 显示全部楼层 来自: 中国江苏无锡
接反了之后还是从左位换到中位,但是左位的话就变成伸出,而不是缩回了 18# 9619
 楼主| 发表于 2012-4-8 10:21:35 | 显示全部楼层 来自: 中国江苏无锡
我仔细看了你的回复,应该是叠加液压单向阀的结构导致的,谢谢 17# ttyxe
 楼主| 发表于 2012-4-8 10:28:03 | 显示全部楼层 来自: 中国江苏无锡
你可以把叠加式液控单向阀组 的完整结构和说明发给我么?你给的图上面①②③④和两边的口都没有说明,看的不是很明白,我没有样本,谢谢了 9# ttyxe
发表于 2012-4-9 20:27:53 | 显示全部楼层 来自: 中国浙江湖州
唉,接反了还说。赶快改过来。讨论来讨论去有用么?' I6 a1 S* C& j. ^' \
看来不像是电液阀,T口能接高压么?小心电磁铁飞出来。
. Y$ U' {* G' M' k/ l不做实验,就不知道欧阳锋练出来的九阴真经效果是九阳真经还是九阴假经。谢谢楼主做了这次实验,一般来讲,换向阀有个液动力问题,不同的机能还不一样,同一个机能两个(几个)方向也可能不一样。有兴趣有能力的话,倒可以做这个反接实验,另外要注意安全,并且不要走火入魔啊。
9 o* H: L1 ~; s" A就纯Y变成纯P来讲,这个差动还是能实现的。但你要换向就难说了,毕竟接反了。6 V/ o; G. L6 v9 b9 {' s% y
五楼讲“压力取决于负载”,书上讲的也有道理,也许是宏观上是对的,微观上来讲后半句话就错了,回程时加装双向液压锁,如果面积比较悬殊的话就不能现了,跟阀的通径也有关系,比如拿Z2S型来讲,六通径相当于直控阀,面积比是2.97,而十通径面积比要大到16了。
0 c$ Q0 B4 r2 g1 u, h" h个人觉得,选阀也好做系统也好,油路通不通是必须的,这相当于方向的问题。通了,要通得顺畅、合理。也就是流量与压力的问题。0 U6 L0 ]) |4 Y4 E" g
楼主没有样本,不知道还有什么?不要轻举妄动啊。
 楼主| 发表于 2012-4-9 20:49:55 | 显示全部楼层 来自: 中国江苏无锡
感谢提醒与教诲,我也是无意当中看到接反了之后觉得实际情况与我的分析的不同,所以才立贴求证,并非实验。谢谢各位的帮助 22# zjp741208107
发表回复
您需要登录后才可以回帖 登录 | 注册

本版积分规则


Licensed Copyright © 2016-2020 http://www.3dportal.cn/ All Rights Reserved 京 ICP备13008828号

小黑屋|手机版|Archiver|三维网 ( 京ICP备2023026364号-1 )

快速回复 返回顶部 返回列表