QQ登录

只需一步,快速开始

登录 | 注册 | 找回密码

三维网

 找回密码
 注册

QQ登录

只需一步,快速开始

展开

通知     

查看: 1791|回复: 4
收起左侧

[求助] 这个在UG模具设计里如何做

[复制链接]
发表于 2012-4-1 09:22:44 | 显示全部楼层 |阅读模式 来自: 中国江苏徐州

马上注册,结识高手,享用更多资源,轻松玩转三维网社区。

您需要 登录 才可以下载或查看,没有帐号?注册

x
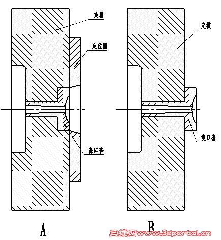
在添加浇口套时,UG模架按图A方式安装,现在很多厂按图B方式设计,这在UG模架添加标准件时如何做到的?
浇口.JPG
发表于 2012-4-1 09:34:36 | 显示全部楼层 来自: 中国山东济南
UG的模架库中找找有没有没有你要的那种,如果没有需要自己加入(二次开发),要么手动装配也可以。在实际的设计中,三维上加不加主流导套意义不大,主要是分模和做铜公。
发表于 2012-4-2 08:24:55 | 显示全部楼层 来自: 中国江苏徐州
本帖最后由 jsmold 于 2012-4-2 08:26 编辑
! ^& W* B& ^% t, [* r- ]% K
$ D9 }4 T# i6 b3 r我也想知道,如何在自动装配里实现
 楼主| 发表于 2012-4-2 10:16:59 | 显示全部楼层 来自: 中国江苏徐州
给别人讲课时还是要解决这个问题的,不能说用的少
发表于 2012-6-1 10:29:26 | 显示全部楼层 来自: 中国广东东莞
学习下,UG模具设计还不会,
发表回复
您需要登录后才可以回帖 登录 | 注册

本版积分规则


Licensed Copyright © 2016-2020 http://www.3dportal.cn/ All Rights Reserved 京 ICP备13008828号

小黑屋|手机版|Archiver|三维网 ( 京ICP备2023026364号-1 )

快速回复 返回顶部 返回列表