QQ登录

只需一步,快速开始

登录 | 注册 | 找回密码

三维网

 找回密码
 注册

QQ登录

只需一步,快速开始

展开

通知     

查看: 1648|回复: 3
收起左侧

[求助] X形夹具弹性套怎么设计?

[复制链接]
发表于 2012-4-15 19:12:34 | 显示全部楼层 |阅读模式 来自: 中国江苏苏州

马上注册,结识高手,享用更多资源,轻松玩转三维网社区。

您需要 登录 才可以下载或查看,没有帐号?注册

x
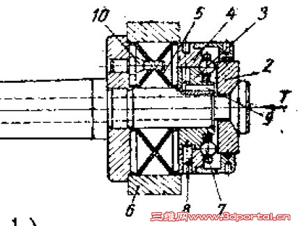
各位同行:大家有设计过夹具的X形弹性套吗?进行弹性定位使用。跪求具体零件图,及相应材料及热处理。组立图见附件。
未命名.jpg
 楼主| 发表于 2012-4-15 20:27:40 | 显示全部楼层 来自: 中国江苏苏州
求指教呀!!!!!!!!!!!
发表于 2012-4-15 20:54:30 | 显示全部楼层 来自: 中国广东东莞
本帖最后由 tangcarlos3d 于 2012-4-15 20:58 编辑
8 d- H8 g5 n1 W1 I
) w) ~7 Y" A/ T" U定位工件内径的材料应该是60Si2Mn、65Mn等弹簧钢,热处理为HRC43~48即可。
9 n0 _& z7 P' [$ ?$ w9 H% u2 h要注意的是所用的平面轴承的寿命比较短。因为空转是钢珠在离心力的作用下很快就把保持架磨坏(20年前本人上过这样的当)。
 楼主| 发表于 2012-4-16 21:00:04 | 显示全部楼层 来自: 中国江苏苏州
能发给具体的零件图吗?谢谢!
发表回复
您需要登录后才可以回帖 登录 | 注册

本版积分规则


Licensed Copyright © 2016-2020 http://www.3dportal.cn/ All Rights Reserved 京 ICP备13008828号

小黑屋|手机版|Archiver|三维网 ( 京ICP备2023026364号-1 )

快速回复 返回顶部 返回列表