QQ登录

只需一步,快速开始

登录 | 注册 | 找回密码

三维网

 找回密码
 注册

QQ登录

只需一步,快速开始

展开

通知     

查看: 1632|回复: 10
收起左侧

[求助] 请教前辈盖板上的符号

[复制链接]
发表于 2012-5-21 12:49:41 | 显示全部楼层 |阅读模式 来自: 中国安徽马鞍山

马上注册,结识高手,享用更多资源,轻松玩转三维网社区。

您需要 登录 才可以下载或查看,没有帐号?注册

x
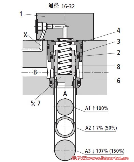
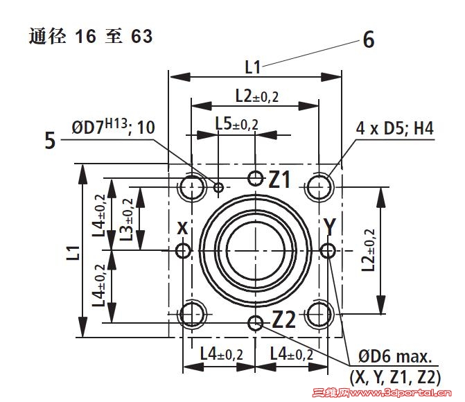
在力士乐样本上看到插装阀的盖板上的X、Y、Z1、Z2符号,我感觉X是插件的控制油口,但是其他几个油口弄不懂,还请懂的前辈指点一下。
盖板.jpg
插装阀.jpg
发表于 2012-5-21 21:19:41 | 显示全部楼层 来自: 中国江苏徐州
X控制口,Y泄油孔,Z1Z2 是定位销孔
发表于 2012-5-21 21:38:34 | 显示全部楼层 来自: 中国安徽马鞍山
楼上,5是什么?也是定位孔吗?
发表于 2012-5-22 09:13:30 | 显示全部楼层 来自: 中国北京
Z1、Z2是盖板叠加阀功能油孔,具体作用参照样本功能盖板图。
* g; M; r9 q% G" W# s样本画得很清楚。

评分

参与人数 1三维币 +3 收起 理由
自流井 + 3 技术讨论

查看全部评分

 楼主| 发表于 2012-5-22 12:25:57 | 显示全部楼层 来自: 中国安徽马鞍山
你好,我之前在方向阀中没有看到关于Z1、Z2的说明,在压力阀中的顺序阀功能中看到了关于Z1、Z2和Y的说明。谢谢。 4# gxp1014
 楼主| 发表于 2012-5-22 12:27:12 | 显示全部楼层 来自: 中国安徽马鞍山
5是定位销孔。 3# abcluck
发表于 2012-5-22 13:20:29 | 显示全部楼层 来自: 中国天津
Z1、Z2是盖板叠加阀功能油孔
 楼主| 发表于 2012-5-22 21:13:13 | 显示全部楼层 来自: 中国安徽马鞍山
谢谢。 7# kingdyy
发表于 2012-5-23 07:55:35 | 显示全部楼层 来自: 中国江苏南通
5是定位销孔! K1 S; s8 a: @5 W

# r) e* K4 ?8 y: }, |! tZ口是机能口
 楼主| 发表于 2012-5-23 20:00:17 | 显示全部楼层 来自: 中国安徽马鞍山
是的,现在找到了,谢谢! 9# 自流井
发表于 2012-5-23 20:37:29 | 显示全部楼层 来自: 中国江苏无锡
恩,学习学习
发表回复
您需要登录后才可以回帖 登录 | 注册

本版积分规则


Licensed Copyright © 2016-2020 http://www.3dportal.cn/ All Rights Reserved 京 ICP备13008828号

小黑屋|手机版|Archiver|三维网 ( 京ICP备2023026364号-1 )

快速回复 返回顶部 返回列表