QQ登录

只需一步,快速开始

登录 | 注册 | 找回密码

三维网

 找回密码
 注册

QQ登录

只需一步,快速开始

展开

通知     

全站
6天前
查看: 6876|回复: 52
收起左侧

[讨论结束] 这种手动抽水机能用吗?

[复制链接]
发表于 2013-1-31 21:38:58 | 显示全部楼层 |阅读模式 来自: 中国广东清远

马上注册,结识高手,享用更多资源,轻松玩转三维网社区。

您需要 登录 才可以下载或查看,没有帐号?注册

x
本帖最后由 asdolmlm 于 2013-1-31 22:55 编辑
, d' G8 O0 s5 b9 y, ]) n  {2 \! F" \( ~! k/ y1 t
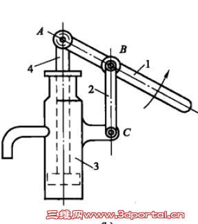
我看悬。不知道大家怎么觉得。最好是给个受力分析!
7P05@I2(Z$G8UXH`7UMNCEY.jpg
发表于 2013-1-31 21:57:40 | 显示全部楼层 来自: 中国广东东莞
这就是农村自家打的水井用的手动抽水器。怎么不能用?3 A- b- [6 s% t4 ~  I, [/ ~( v
但你图中活塞上缺少了关键的活动皮碗,没有它水就上不来。

评分

参与人数 1三维币 +3 收起 理由
洪哥 + 3 讨论

查看全部评分

发表于 2013-1-31 22:27:19 | 显示全部楼层 来自: 中国四川成都
没底阀没活动皮碗,当然用不了。

评分

参与人数 1三维币 +2 收起 理由
洪哥 + 2 讨论

查看全部评分

 楼主| 发表于 2013-1-31 22:37:59 | 显示全部楼层 来自: 中国广东清远
tangcarlos3d 发表于 2013-1-31 21:57 static/image/common/back.gif
7 O7 {0 ^3 F  s0 }$ R这就是农村自家打的水井用的手动抽水器。怎么不能用?
' z# N& o- k  ]# Z1 @! }, @5 ^$ q但你图中活塞上缺少了关键的活动皮碗,没有它水就上 ...

) G0 K" F/ Z. Y0 E9 x) ]! y% i0 P我小时候用过这种,看这个图样子,杆往下压的时候会出问题。

评分

参与人数 1三维币 +2 收起 理由
洪哥 + 2 讨论

查看全部评分

 楼主| 发表于 2013-1-31 22:39:06 | 显示全部楼层 来自: 中国广东清远
cdxwg 发表于 2013-1-31 22:27 static/image/common/back.gif
  z# l' a4 h- L没底阀没活动皮碗,当然用不了。

1 H/ ?! P& w( O/ `8 k/ ~9 g那个当然是要。皮碗这里省略

评分

参与人数 1三维币 +2 收起 理由
洪哥 + 2 讨论

查看全部评分

发表于 2013-1-31 22:53:40 | 显示全部楼层 来自: 中国浙江宁波
是的,楼主这个是个示意图,四连杆机构,应该可以用啊

评分

参与人数 1三维币 +2 收起 理由
洪哥 + 2 讨论

查看全部评分

发表于 2013-1-31 23:10:03 | 显示全部楼层 来自: 中国广东东莞
本帖最后由 tangcarlos3d 于 2013-1-31 23:41 编辑
9 U6 y/ J! }$ V& l
八根 发表于 2013-1-31 22:37 static/image/common/back.gif+ h- V$ i1 b! f$ ]- a+ n7 C6 V1 h
我小时候用过这种,看这个图样子,杆往下压的时候会出问题。
% I' L; A8 P6 q. A+ k1 ]
% d; U  }, T) q" S, P4 {+ H
如果活塞杆短了活塞会被拉出来的。曲柄滑块杆机构。

评分

参与人数 1三维币 +2 收起 理由
洪哥 + 2 讨论

查看全部评分

 楼主| 发表于 2013-2-1 08:57:46 | 显示全部楼层 来自: 中国广东广州
tangcarlos3d 发表于 2013-1-31 23:10 static/image/common/back.gif( {: D' _& F/ j1 `
如果活塞杆短了活塞会被拉出来的。曲柄滑块杆机构。

- k: }9 f' x, u3 m7 F6 e7 F个人觉得,这个东西的自由度为1.就是绕一点的旋转。事实也是如此。可以得知活动有3个。转动副跟移动副加起来4个。刚好计算出来的自由度为1.那可以确定C点为转动副。活塞往上的时候是出水。这个机构有能力使得活塞往上吗?

评分

参与人数 1三维币 +3 收起 理由
洪哥 + 3 讨论

查看全部评分

发表于 2013-2-1 09:10:58 | 显示全部楼层 来自: 中国上海
此点是固定死的吧?: w- Y# {8 r' v9 ]* w. f. h8 O
QQ截图20130201090949.jpg

评分

参与人数 1三维币 +2 收起 理由
洪哥 + 2 讨论

查看全部评分

发表于 2013-2-1 09:28:17 | 显示全部楼层 来自: 中国山西太原
看看这个示意图的结构,活塞上要有单向排气孔,否则压不下去,上提时由胶皮压封。还要有防止流下去的单向阀。
手动抽水机.jpg

评分

参与人数 1三维币 +5 收起 理由
洪哥 + 5 讨论

查看全部评分

 楼主| 发表于 2013-2-1 09:47:43 | 显示全部楼层 来自: 中国广东广州
hbsky20 发表于 2013-2-1 09:10 static/image/common/back.gif3 ?$ r" b- K( J1 M+ u
此点是固定死的吧?

, l, ~8 h2 o6 g# B, H4 AC点固定死的话,自由度就为零了吧?那就动都动不了了!3×2-2×3=0

评分

参与人数 1三维币 +2 收起 理由
洪哥 + 2 讨论

查看全部评分

 楼主| 发表于 2013-2-1 09:55:45 | 显示全部楼层 来自: 中国广东广州
gaoyns 发表于 2013-2-1 09:28 static/image/common/back.gif
% L& E" g- _* ?8 G看看这个示意图的结构,活塞上要有单向排气孔,否则压不下去,上提时由胶皮压封。还要有防止流下去的单向阀 ...
( @7 G* d3 k' B6 u, B- K
高手,这样透彻!我想知道的是在活塞内移动的软胶板在这里充当的什么连接?此处应该不仅仅只有一个移动副吧?

评分

参与人数 1三维币 +2 收起 理由
洪哥 + 2 讨论

查看全部评分

发表于 2013-2-1 10:28:49 | 显示全部楼层 来自: 中国上海
八根 发表于 2013-2-1 09:47 static/image/common/back.gif
0 I( g% J' q; i* J# g4 t0 jC点固定死的话,自由度就为零了吧?那就动都动不了了!3×2-2×3=0

- k% L# c' [/ [  s, {# u此图也C点固定死了
手动抽水机.jpg

评分

参与人数 1三维币 +2 收起 理由
洪哥 + 2 讨论

查看全部评分

 楼主| 发表于 2013-2-1 10:40:39 | 显示全部楼层 来自: 中国广东广州
hbsky20 发表于 2013-2-1 10:28 static/image/common/back.gif
- I9 |, ~1 i  K3 M+ ]2 D此图也C点固定死了

0 U( v* z. O% q* {% j+ Q$ r5 u/ Z这里是固定死了,但是它有可行性。主要的原因在于在块在活塞内运动的软胶板。估计软胶板除了在活塞内是个移动副,它本身自己应该也是一个运动件和一个低副。这样子的就可以替代C点的固定。就是3×3-4×2=1.

评分

参与人数 1三维币 +3 收起 理由
洪哥 + 3 讨论

查看全部评分

发表于 2013-2-1 10:57:36 | 显示全部楼层 来自: 中国浙江杭州
不错,传统的东西就是好。

评分

参与人数 1三维币 +1 收起 理由
洪哥 + 1 讨论

查看全部评分

发表于 2013-2-1 10:59:08 | 显示全部楼层 来自: 中国山西太原
本帖最后由 gaoyns 于 2013-2-1 11:01 编辑
8 C( v/ C! P' L) D+ Y7 }
八根 发表于 2013-2-1 09:55 http://www.3dportal.cn/discuz/static/image/common/back.gif
* p' v' \) N$ h9 M  [5 V高手,这样透彻!我想知道的是在活塞内移动的软胶板在这里充当的什么连接?此处应该不仅仅只有一个移动副 ...

8 ^" Q" N1 j# C8 p3 ~, O4 K
' t! O. e! ]- F2 V" R4 d9 B活塞板上钻若干孔,由上面压的胶板复盖,胶板由塞杆上螺母、垫圈压住,活塞向下压时,下面的空气顶开胶板排出,向上提时吸水,胶板将孔压住密封,胶板圆周与筒接触,起活塞的密封作用。

评分

参与人数 1三维币 +3 收起 理由
洪哥 + 3 讨论

查看全部评分

发表于 2013-2-1 11:33:49 | 显示全部楼层 来自: 中国广东汕头

RE: 这种手动抽水机能用吗?

八根 发表于 2013-2-1 08:57 static/image/common/back.gif3 A& w3 k; \* t4 w8 {4 f
个人觉得,这个东西的自由度为1.就是绕一点的旋转。事实也是如此。可以得知活动有3个。转动副跟移动副加起 ...

2 N5 q+ k7 I/ z& K8 u' ^活塞杆有转动!因为连干在水平面的长度是变化的。活塞不是理想的滑动副,活塞直径小于筒子内径(或者上面加铰接与活塞杆相连),上面的皮封尺寸比筒子内径要大,起密封作用。

评分

参与人数 1三维币 +3 收起 理由
洪哥 + 3 讨论

查看全部评分

 楼主| 发表于 2013-2-1 11:37:35 | 显示全部楼层 来自: 中国广东广州
gaoyns 发表于 2013-2-1 10:59 static/image/common/back.gif; t: R" l3 s. v, x8 O) ~3 q4 C
活塞板上钻若干孔,由上面压的胶板复盖,胶板由塞杆上螺母、垫圈压住,活塞向下压时,下面的空气顶开胶 ...

- r* e4 J! \2 b! E' o/ G2 v5 B6 ~解释的很全面。谢谢。
发表于 2013-2-1 11:45:42 | 显示全部楼层 来自: 中国广东汕头

RE: 这种手动抽水机能用吗?

八根 发表于 2013-2-1 09:55 static/image/common/back.gif' F9 Z, n1 ^! w( u  F: H, ~+ Z
高手,这样透彻!我想知道的是在活塞内移动的软胶板在这里充当的什么连接?此处应该不仅仅只有一个移动副 ...

" @- }1 N; {$ O7 {6 \胶皮充当一个铰链,因为连杆的长度在水平面前是变化的。活塞直径要比筒子内径小,否则转不动。

评分

参与人数 1三维币 +2 收起 理由
洪哥 + 2 讨论

查看全部评分

 楼主| 发表于 2013-2-1 11:45:55 | 显示全部楼层 来自: 中国广东广州
tangcarlos3d 发表于 2013-2-1 11:33 static/image/common/back.gif
- a& a  h3 X, W3 `活塞杆有转动!因为连干在水平面的长度是变化的。活塞不是理想的滑动副,活塞直径小于筒子内径(或者上面 ...
# H" M; m+ L: v& V% B& ~/ _, [1 @
活塞杆是上下移动吧。连杆的投影长度是随着摇杆的旋转变化的。赞同活塞上面加铰接。

评分

参与人数 1三维币 +2 收起 理由
洪哥 + 2 讨论

查看全部评分

 楼主| 发表于 2013-2-1 11:51:18 | 显示全部楼层 来自: 中国广东广州
tangcarlos3d 发表于 2013-2-1 11:45 static/image/common/back.gif& J8 P  u  E0 a/ }0 i6 ?) a
胶皮充当一个铰链,因为连杆的长度在水平面前是变化的。活塞直径要比筒子内径小,否则转不动。
5 w8 d/ U: o9 z8 ^4 y
对,要是活塞的直径跟缸直径一样大的话,这个东西就不能动了。一样大就不能够使用胶皮充当一个胶链。就缺少了一个活动构件跟一个低副了。

评分

参与人数 1三维币 +2 收起 理由
洪哥 + 2 讨论

查看全部评分

发表于 2013-2-1 12:14:34 | 显示全部楼层 来自: 中国广东汕头
胶皮的另一个作用是作为单向阀使用。两个胶皮同向安装且皮在上面才能将地下水抽出来。

评分

参与人数 1三维币 +2 收起 理由
洪哥 + 2 讨论

查看全部评分

发表于 2013-2-1 12:18:01 | 显示全部楼层 来自: 中国广东汕头

RE: 这种手动抽水机能用吗?

gaoyns 发表于 2013-2-1 09:28 static/image/common/back.gif3 g1 v$ x" A  y9 e. B( m! Z
看看这个示意图的结构,活塞上要有单向排气孔,否则压不下去,上提时由胶皮压封。还要有防止流下去的单向阀 ...

1 A) P7 M7 r9 g8 D/ C0 d3 z" o不要单向球。下面还有一个胶皮密封,也是单向阀的作用。

评分

参与人数 1三维币 +2 收起 理由
洪哥 + 2 讨论

查看全部评分

发表于 2013-2-1 12:28:25 | 显示全部楼层 来自: 中国广东汕头

RE: 这种手动抽水机能用吗?

八根 发表于 2013-2-1 11:51 static/image/common/back.gif; U( W. C: u; o( q, U
对,要是活塞的直径跟缸直径一样大的话,这个东西就不能动了。一样大就不能够使用胶皮充当一个胶链。就缺 ...

5 O! K$ c+ ~# K( I0 c5 d' ?! K一般不用铰链结构,因为活塞直径如果和筒子内径一样大那么只要有一点倾斜就卡住动不了。另外活塞直径小一些的好处是活塞下压的过程中下面的水更容易上来。活塞上的孔径小了或活塞与孔壁的间隙小了,在活快速下降时会形成水枪。

评分

参与人数 1三维币 +3 收起 理由
洪哥 + 3 讨论

查看全部评分

 楼主| 发表于 2013-2-1 12:50:40 | 显示全部楼层 来自: 中国广东广州
tangcarlos3d 发表于 2013-2-1 12:18 static/image/common/back.gif
% C4 M' o9 a1 R  g3 x# Z不要单向球。下面还有一个胶皮密封,也是单向阀的作用。

9 V0 B) e; E) I其实都可以的。主要看那个更加的简单、实用。
发表回复
您需要登录后才可以回帖 登录 | 注册

本版积分规则

Licensed Copyright © 2016-2020 http://www.3dportal.cn/ All Rights Reserved 京 ICP备13008828号

小黑屋|手机版|Archiver|三维网 ( 京ICP备2023026364号-1 )

快速回复 返回顶部 返回列表