QQ登录

只需一步,快速开始

登录 | 注册 | 找回密码

三维网

 找回密码
 注册

QQ登录

只需一步,快速开始

展开

通知     

全站
3小时前
查看: 2960|回复: 17
收起左侧

[求助] 这个闷盖在mastercam中如何实现两面加工啊???

[复制链接]
发表于 2013-7-6 15:07:14 | 显示全部楼层 |阅读模式 来自: 中国河北唐山

马上注册,结识高手,享用更多资源,轻松玩转三维网社区。

您需要 登录 才可以下载或查看,没有帐号?注册

x
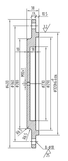
    我在mastercam里只会加工闷盖的一面,如何实现另一面的加工啊?新手上路,请多关照~~~% G0 B1 e4 L: x$ S9 h' R
                                                                `S~)BXN(3)3GOG38XTRZ2X3.jpg
发表于 2013-7-6 18:33:50 | 显示全部楼层 来自: 中国福建泉州
车床的问题,要铣床铣吗?
 楼主| 发表于 2013-7-6 19:11:26 | 显示全部楼层 来自: 中国河北唐山
threestone 发表于 2013-7-6 18:33 static/image/common/back.gif9 }  ^# [( E" Z6 S9 T- M
车床的问题,要铣床铣吗?

6 G& d) K6 g8 d* N/ Y7 ]+ E嗯,这个应该也可以用铣床吧?两次装夹,不过在cam上我不会,你知道怎么弄吗?
发表于 2013-7-6 19:17:29 | 显示全部楼层 来自: 中国上海
楼上就贴一剖视图,你能知道是什么玩意,只能看大概形状,铣床就18的孔可以打,都是车床的活,楼主的工艺这么差劲
发表于 2013-7-6 20:22:21 | 显示全部楼层 来自: 中国广东东莞
双之蓝 发表于 2013-7-6 19:11 static/image/common/back.gif, I+ J  n- |! o8 k9 v# w, m9 i
嗯,这个应该也可以用铣床吧?两次装夹,不过在cam上我不会,你知道怎么弄吗?
. j5 ~" V/ l# j0 [
车床干的活非要穷追问底的问用洗床怎么干,这有意思吗,即使是在铣床能干出来,那也没有一点经济价值,钻牛角尖也要找对方向啊
 楼主| 发表于 2013-7-6 20:35:01 | 显示全部楼层 来自: 中国河北唐山
zhuyi0829 发表于 2013-7-6 19:17 static/image/common/back.gif+ M3 e0 M' E: r/ p
楼上就贴一剖视图,你能知道是什么玩意,只能看大概形状,铣床就18的孔可以打,都是车床的活,楼主的工艺这 ...
7 x: }& d2 t# A3 F7 t, ?, v( j+ B
呃,这是原图纸截图下来的,就一个剖视图,不过我觉得形状可以确定了啊
 楼主| 发表于 2013-7-6 20:38:36 | 显示全部楼层 来自: 中国河北唐山
man8 发表于 2013-7-6 20:22 static/image/common/back.gif
# l/ H8 ^5 d" ]9 u5 ^车床干的活非要穷追问底的问用洗床怎么干,这有意思吗,即使是在铣床能干出来,那也没有一点经济价值,钻 ...
" |& j# U! P! e' R7 p
不是我要钻牛角尖,我需要找一个纯数铣加工的零件,找了半天就觉得这个像一些,别的都不太像
发表于 2013-7-6 22:48:09 | 显示全部楼层 来自: 中国上海
立式车铣中心两道工序完成
- {3 g: P" C" W$ J( o) i4 [0 Q1 Q
发表于 2013-7-7 08:52:20 | 显示全部楼层 来自: 中国安徽合肥
交给数车操工师弟,手动编程.
发表于 2013-7-7 09:59:53 | 显示全部楼层 来自: 中国上海
双之蓝 发表于 2013-7-6 20:35 static/image/common/back.gif
  d. @1 ^( V( \. _( B+ J; t% a呃,这是原图纸截图下来的,就一个剖视图,不过我觉得形状可以确定了啊
" B) G; p/ ?$ q! t' d
你是设计师,给人家这个图纸,请问别人有什么想法,不是你觉得可以就可以的,视图清晰,尺寸完整,行位公差规范,这是对设计师最起码的要求,不然外面还混什么
 楼主| 发表于 2013-7-7 15:49:12 | 显示全部楼层 来自: 中国河北唐山
zhuyi0829 发表于 2013-7-7 09:59 static/image/common/back.gif# [- ]! h+ r& }
你是设计师,给人家这个图纸,请问别人有什么想法,不是你觉得可以就可以的,视图清晰,尺寸完整,行位公 ...

, w0 Y% v) g4 P6 y( j! D呃,其实这个图纸不是我设计的,我刚在企业实习,学校要求我们做数控技术的课程设计,但我所在的公司是从事重型装备制造的,车间里只有一台不怎么用的数控铣床,我才找了这样一个零件,想试试看行不行、、、不过毕业了我挺想从事设计工作的,你的建议确实很有意义,真心谢谢你
发表于 2013-7-8 22:21:32 | 显示全部楼层 来自: 中国福建泉州
双之蓝 发表于 2013-7-6 19:11 static/image/common/back.gif' j! x2 X0 o! c  b  N! k
嗯,这个应该也可以用铣床吧?两次装夹,不过在cam上我不会,你知道怎么弄吗?
2 \" T! A5 H- ]) I/ h8 S( A
这个产品,在铣床上面的经济价值不高,就适合在数控车上面或者是车铣上面加工
发表于 2013-7-8 22:22:47 | 显示全部楼层 来自: 中国福建泉州
双之蓝 发表于 2013-7-7 15:49 static/image/common/back.gif  H4 J2 P+ D' g; A
呃,其实这个图纸不是我设计的,我刚在企业实习,学校要求我们做数控技术的课程设计,但我所在的公司是从 ...

, }  R* _8 R6 A8 Q难怪你在说数控铣上面,原来车间只有一个铣床,,。
发表于 2013-7-8 22:41:55 | 显示全部楼层 来自: 中国广东东莞
1,如可以打镙丝在工件上,就直接打镙丝在平面上./ |& k( }  q' t1 c/ |, I
2,如不可以打镙丝在平面上.就在空的地方上搞些镙丝位收,加工完了飞掉镙丝位.当然也可以压压码,锁磁等!!
发表于 2013-7-9 08:59:29 | 显示全部楼层 来自: 中国福建厦门
本帖最后由 363485543 于 2013-7-9 09:06 编辑
7 |+ {' s2 I- k7 G' X1 s0 i$ B6 ?) L, `1 G1 }, T+ ], s
这工件如果非得用铣床加工,数量才一件的话。。个人建议
/ S; V/ j# k  ]1.  下四方料压四个角,先挖直径230MM的那一端.,台阶,孔,最大外形之类的都一次性下来。。
  B1 {( Y7 q, j  s3 i( L2.反面装夹直接用反爪夹直径230这个内孔,三点找外圆中心,铣直径280MM,倒角,M10*1的牙,当然下刀量稍微小一点,怕震刀。。。。: V6 M+ g' h; \4 n' q
1 o- n! C8 T% g/ {
下次最好能写上是什么材料。。。
 楼主| 发表于 2013-7-9 18:10:34 | 显示全部楼层 来自: 中国河北唐山
threestone 发表于 2013-7-8 22:21 static/image/common/back.gif
/ v9 ~. A, M- X. x$ ~' ?# u! k$ }这个产品,在铣床上面的经济价值不高,就适合在数控车上面或者是车铣上面加工

  i0 q& V3 A( v0 T( |; ^嗯,我现在知道了,不过什么样的零件用数控铣床就能加工出来啊?能不能给我讲一下,我现在对工艺还不了解~~~
 楼主| 发表于 2013-7-9 18:12:36 | 显示全部楼层 来自: 中国河北唐山
363485543 发表于 2013-7-9 08:59 static/image/common/back.gif( s: C7 I+ o9 G1 E  t( @  p- h
这工件如果非得用铣床加工,数量才一件的话。。个人建议
( {) q5 w* E! Y/ n1.  下四方料压四个角,先挖直径230MM的那一端., ...
" h/ N1 z; F' L3 K( b% l- G5 v1 p* M
下次会注意材料的问题的,现在对这些还不太懂,谢谢你的讲解,很详细,呵呵
发表于 2013-7-9 18:22:52 | 显示全部楼层 来自: 中国天津
这个产品我们以前用普通车床都加工出来,再简单不过了的东西也拿来说,问这问题的无聊!
发表回复
您需要登录后才可以回帖 登录 | 注册

本版积分规则

Licensed Copyright © 2016-2020 http://www.3dportal.cn/ All Rights Reserved 京 ICP备13008828号

小黑屋|手机版|Archiver|三维网 ( 京ICP备2023026364号-1 )

快速回复 返回顶部 返回列表