QQ登录

只需一步,快速开始

登录 | 注册 | 找回密码

三维网

 找回密码
 注册

QQ登录

只需一步,快速开始

展开

通知     

全站
11天前
查看: 2688|回复: 20
收起左侧

[已解决] 请赐教

[复制链接]
发表于 2007-1-5 15:02:11 | 显示全部楼层 |阅读模式 来自: 中国北京

马上注册,结识高手,享用更多资源,轻松玩转三维网社区。

您需要 登录 才可以下载或查看,没有帐号?注册

x
A 170bar  ;B   120bar) R" G. P0 T* b# c5 k' e9 }# Q% q/ C
请详细说明1、2、3阀的名称及作用,可能的话请赐教CD是怎样工作的
9 s0 B) C: W. ^& o + a0 _9 E0 U" r6 B. T$ V# \
楼主久不参与,认为解决,谢谢!--by 江边

# Y, y- D; B4 g! U8 x[ 本帖最后由 江边 于 2007-2-4 16:22 编辑 ]
Snap2.jpg
发表于 2007-1-5 19:21:18 | 显示全部楼层 来自: 中国江苏苏州
个人观点:       / y4 D8 u0 R& h2 {2 o; J- _: K, p
阀1:先导式外控顺序阀      
  u4 _! u/ V# D. c0 r. I8 h2 C- V5 }; V5 S
     作用:控制执行元件(油缸)的动作顺序(压力油由阀2通过换向阀9中位来先导控制此阀的开启)/ i5 N8 x9 G/ R  w% Q
阀2:先导式减压阀          0 K0 K  s% u6 p! N
     ?8 k: \% Y& }$ I  K$ w# L
     作用:把泵站出来的压力降到120BAR 以内& ], r$ {# A  M
阀3:高压截止阀            
* E* h, R/ @) ?" ^' v9 z     作用:卸掉系统中高压油9 x1 D; U$ D' ]& k4 ]" P
C的动作: 阀2打开前,换向阀8左位手动接通时,活塞杆伸出
  G6 }3 O  j- h8 ~; y                            换向阀8右位手动接通时,活塞杆收回
6 t& x0 L# B' W  d3 [9 E( aD的动作:阀2打开后, 换向阀9右位手动接通时,活塞杆伸出
8 x" t$ E' P0 F6 P                            换向阀9左位手动接通时,活塞杆收回
 楼主| 发表于 2007-1-6 13:49:14 | 显示全部楼层 来自: 中国北京

回复 #2 cebmt 的帖子

首先感谢您的指点。
, J' C* l) K& A( l- E但C和D油缸均为单独作用油缸,没有先后顺序之分;
  S& s; B: g% [/ g  C我可否这样理解:% c7 L5 y, _8 g8 ]4 {7 S3 _
当阀8、阀9都不动作时:阀1作卸荷阀用,卸荷压力为阀7的开启压力,阀2处于开启状态;- G" f# v3 j2 ^# }0 J+ R7 S
当阀8动作时:阀2关闭;
" O" V/ ?+ r1 Z5 y4 F# v8 I当阀9动作时:阀1关闭;
发表于 2007-1-6 14:41:43 | 显示全部楼层 来自: 中国内蒙古鄂尔多斯
可以这样理解
7 W0 W3 l& h+ ?" t  @系统就是这样工作的
发表于 2007-1-6 19:09:58 | 显示全部楼层 来自: 中国四川自贡
刚接触到液压方面的,学习,学习
 楼主| 发表于 2007-1-7 11:54:51 | 显示全部楼层 来自: 中国北京
请版主给详细解释一下该阀的工作原理,及1、2阀的名称及作用,谢谢了!
发表于 2007-1-7 20:39:34 | 显示全部楼层 来自: 中国河北沧州
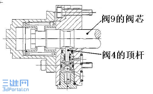
前面的动作实现不存在问题,请楼主说明阀4与阀9的安装关系.
发表于 2007-1-7 22:41:58 | 显示全部楼层 来自: 中国北京
一家之言1 D1 S6 f, t+ P: r8 E
1:当阀8处于中位阀9不在中位时,不管其在左位还是右位,阀四都处在上位,这时阀四把阀1、阀2的控制油路(即遥控口)与油箱接通,显然减压阀2全通不起减压作用。工作状态相信楼主能看出来我就不多说了,但我们必须注意阀1此时的作用,因为通向阀2的那条油路上的节流阀我们不得不考虑,当流量达到一定的程度时此节流阀两端的压差足以打开阀1的主阀芯而溢流,所以阀1的工作状态还要看系统的流量。所以个人感觉阀1起溢流作用,阀B做安全阀。
5 f/ M1 z) A* M4 J" [2:当阀9处于中位阀8不在中位时,很显然阀1、阀2的控制油路(即遥控口)的压力有减压阀决定,这时题1中提到的节流阀由于通过其流量很小,故可以认为其两端压差为0,但这时应该减压阀调定的压力应该足以打开阀1的主阀芯(通过其遥控口),别的相信楼主能看出来了。
* F( ]6 q6 c$ [: S$ d5 g3:请楼主检查此图,因为当当阀8处于中位阀9不在中位时,通过减压阀的流量却从单向阀7留进邮箱,连接阀8、阀9的这条油路好像有问题。- `/ q* T& u# j% g/ ~& V' W
希望大家批评指正,不过这个回路确实很有意思,希望大家仔细琢磨。
 楼主| 发表于 2007-1-8 07:48:09 | 显示全部楼层 来自: 中国北京

回复 #7 songwei 的帖子

阀4是一个顶杆式两位两通(常闭)换向阀,阀4的顶杆直接顶在阀9的柱塞上,当阀9控制手柄动作时,将阀4打开。
发表于 2007-1-8 08:15:51 | 显示全部楼层 来自: 中国安徽马鞍山
原帖由 zongjunjie 于 2007-1-6 13:49 发表- l: v+ j7 z3 A# k4 n
首先感谢您的指点。3 w" K+ U- N' L8 V, W+ O! X
但C和D油缸均为单独作用油缸,没有先后顺序之分;! Z* l, u3 o2 S- s& o6 u
我可否这样理解:! @/ e, c. {! C1 [5 r6 B0 Q
当阀8、阀9都不动作时:阀1作卸荷阀用,卸荷压力为阀7的开启压力,阀2处于开启状态;
; ^& D3 U2 F" @. u* H当阀8动作时:阀2关闭;
- {5 r" }9 _- G) b$ Z当阀 ...
* }% \1 n6 M/ z' A0 w1 ^

3 k3 `8 i0 t+ l8 JC、D缸之所以没有先后顺序,是因为还要受到换向阀8、9的控制!顺序特性无法体现!( X% l; A/ b$ R" X$ M
8、9都不动作时,阀1卸荷,系统压力应该维持在一定值上,不是阀7的开启压力!高于它!阀2开启8 D& b* E5 b9 w
阀8动作时,阀1为顺序阀!c缸到位后,压力升高,溢流阀A溢流卸压!阀2关闭,或维持一定开口度!开口度必然减小的!1 H5 o  C; \6 O1 N! q5 Y
阀9与阀4的关系需要楼主明确一下!(位置关系)
 楼主| 发表于 2007-1-8 08:21:46 | 显示全部楼层 来自: 中国北京

回复 #8 xz225 的帖子

很高兴能够得到您的指点;
6 P+ d3 c" m( ]' }3 B# Q; p您提出的这个问题我也注意到了,我也想不通。
2 V: z: F- u- H' q* s, i' g我又核对了一遍原图,原图和我转上来的图纸一样
 楼主| 发表于 2007-1-8 08:47:19 | 显示全部楼层 来自: 中国北京

回复 #10 江边 的帖子

阀4是一个顶杆式两位两通(常闭)换向阀,阀4的顶杆直接顶在阀9的阀芯上,当阀9控制手柄动作时,将阀4打开。
Snap3.jpg
发表于 2007-1-8 10:17:30 | 显示全部楼层 来自: 中国北京
QUOTE:
5 Q5 X2 [$ O$ n3 s- A原帖由 zongjunjie 于 2007-1-6 13:49 发表
  E/ o$ p0 X  P  {9 Q) d首先感谢您的指点。
6 s9 \& U2 Z; J但C和D油缸均为单独作用油缸,没有先后顺序之分;
% V( X: r0 i' E- j0 B& ~; P: G我可否这样理解:
, Q, X: ~; d3 |1 I& C( L当阀8、阀9都不动作时:阀1作卸荷阀用,卸荷压力为阀7的开启压力,阀2处于开启状态;. F* P6 G/ J( a8 |5 k4 B1 G
当阀8动作时:阀2关闭;
  _  R' S& [# i& T: y% N当阀 ...
; d# y0 t; v2 D" G* e6 n* a: N$ H7 i+ H' A* G
C、D缸之所以没有先后顺序,是因为还要受到换向阀8、9的控制!顺序特性无法体现!2 b" S- r5 M$ B, c+ i: `
8、9都不动作时,阀1卸荷,系统压力应该维持在一定值上,不是阀7的开启压力!高于它!阀2开启2 U- n7 X5 F9 p0 L
阀8动作时,阀1为顺序阀!c缸到位后,压力升高,溢流阀A溢流卸压!阀2关闭,或维持一定开口度!开口度必然减小的!: R( p% Y8 \8 i, X- ?
阀9与阀4的关系需要楼主明确一下!(位置关系)
; G" k5 A- n2 {" R3 m2 T
只要阀9在中位,减压阀2可以说是关闭的,通过减压阀2的流量很小仅用来维持泄漏和先导流量。
发表于 2007-1-8 20:19:21 | 显示全部楼层 来自: 中国河北沧州
花费了几天时间,现在提出个人的看法,不清楚的地方请大家指正。9 k% T+ \4 n% T( V0 u) P
1、该系统对操作方面有一定的要求,即阀8必须在阀9动作之前动作或两个阀同时动作。
: e# I1 w1 j% N! O  }5 g8 Q2、当阀8与阀9未动作时,系统启动,由于先导式顺序阀1与先导式减压阀2的先导腔中的油液经过阀9、阀8及阀7进入油箱,由于阀1及阀2的先导阀均泄油,此时阀2关闭,阀1打开,液压泵进行泄荷。
1 K2 I$ l$ b, z% j. M' x# u3、当阀8动作时(假设处于左位),首先由于先导式减压阀2是常开的,所以在开始阶段液压阀C主要通过阀2通过的油液进行操作,当系统压力达到阀2的设定压力值时,先导腔泄压,阀2关闭,由于阀1的先导腔也同时泄压,此时阀1打开使液压缸C的缸杆伸出。, a7 I& @2 W% G; }
4、当需要液压缸D动作时,将阀9打到右位,同时阀4由断路变为通路,阀1及阀2的先导阀通过阀4进行泄压,此时阀2关闭,阀1打开,将液压缸D的缸杆推出。$ l( q' t; t. t1 r  c9 A
其中,阀1为先导式顺序阀,用于提高液压缸CD的动作速度;阀2为先导式减阀,使液压缸C开始动作时压力稳定;阀3应为手动截止阀,用于检修或手动操作提高液压缸8的运动速度。
 楼主| 发表于 2007-1-9 10:35:16 | 显示全部楼层 来自: 中国北京
为了方便大家分析,献上此图
) d! Z; n, u1 a5 U& `, `9 E+ L& o声明:结构图中的序号与机能符号中的序号不一致
9 ^* H- E  x/ y: ?  N Snap4.jpg , Q: U) c5 [9 x/ D2 R

( L! _: ^. u. Z- ~, t1 h: R9 P[ 本帖最后由 zongjunjie 于 2007-1-9 10:38 编辑 ]
发表于 2007-1-9 22:02:54 | 显示全部楼层 来自: 中国安徽马鞍山
补充:阀9动作时,阀4必然打开,阀9左位工作,阀2关闭,D缸卸荷!阀9右位工作,阀2开启,D缸打开。
 楼主| 发表于 2007-1-10 08:03:06 | 显示全部楼层 来自: 中国北京

回复 #16 江边 的帖子

阀9动作时,阀4必然打开,阀2必然开启(猜想),D缸的工作和卸荷是靠液控单项阀实现。
4 X8 ]6 E6 e" h. W( y$ c
" H" X6 a. N% Z! y. T6 W# |% j[ 本帖最后由 zongjunjie 于 2007-1-10 08:10 编辑 ]
发表于 2007-1-10 08:18:04 | 显示全部楼层 来自: 中国河北沧州
只要阀9动作,阀4打开,阀1、阀2的先导阀直接回油到油箱,阀1打开,阀2必然处于关闭状态.
 楼主| 发表于 2007-1-10 09:02:07 | 显示全部楼层 来自: 中国北京

回复 #18 songwei 的帖子

工况:油缸C和油缸D所承受的负载差异太大,负载C>负载D。液压泵按最大流量和压力参数选取,! n1 \/ ?: O8 s
         当油缸D单独工作时的输出功率远小于液压泵的输出功率,从而造成效率低,发热大的现象
6 S8 {2 ^3 Q& k- ?因此:该机能符号表示的是一个多级调压回路,5 R  r  N' r0 Z4 e/ ?  g9 y# s
如果没有阀1、阀2、阀4、阀7和阀B,该阀就是普通的两路手动换向阀;
) a, N" M7 Z( h) U我想不通您说的:“只要阀9动作,阀4打开,阀1、阀2的先导阀直接回油到油箱,阀1打开,阀2必然处于关闭状态.”

评分

参与人数 1三维币 +4 收起 理由
江边 + 4 应助,谢谢参与!

查看全部评分

发表于 2007-1-13 09:54:13 | 显示全部楼层 来自: 中国河北沧州

回复 #19 zongjunjie 的帖子

我再说明一下,阀2为先导式减压阀,在非工作状态是打开的,当先导阀腔与油箱通过阀4相通时,即相当于先导阀的遥控口与油箱相通,此时减压阀的主阀芯关闭,同时阀1的先导阀的遥控口与油箱相通时,主阀芯打开,所以阀1通油,阀2关闭.
 楼主| 发表于 2007-2-15 16:21:29 | 显示全部楼层 来自: 中国北京

回复 #19 zongjunjie 的帖子

几天没上该论坛,发现“积分、三维币”都变少了很多,请江边版主给解释一下
发表回复
您需要登录后才可以回帖 登录 | 注册

本版积分规则


Licensed Copyright © 2016-2020 http://www.3dportal.cn/ All Rights Reserved 京 ICP备13008828号

小黑屋|手机版|Archiver|三维网 ( 京ICP备2023026364号-1 )

快速回复 返回顶部 返回列表