|
|
发表于 2007-1-10 08:45:32
|
显示全部楼层
来自: 中国台湾
原帖由 ljyking 于 2007-1-9 19:31 发表
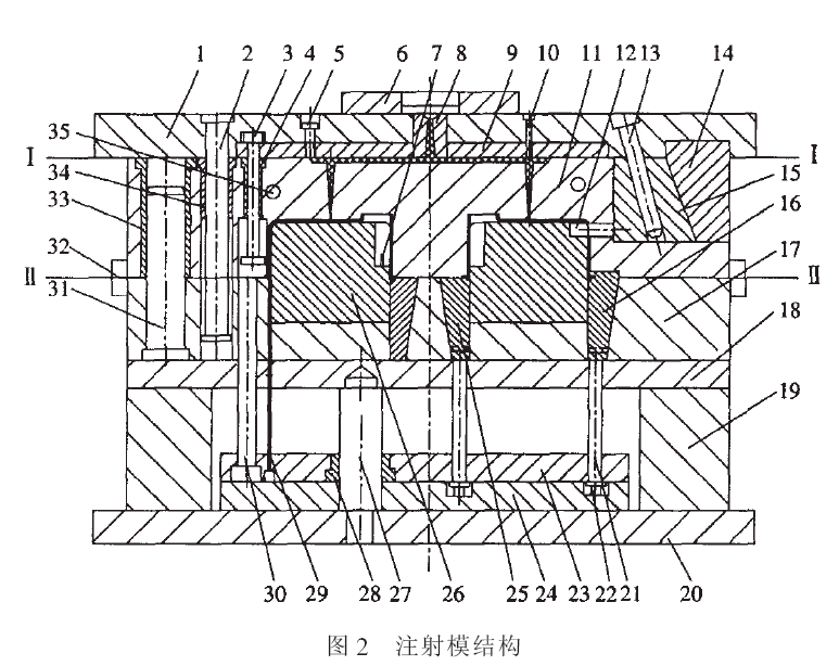
; K9 n- m8 U1 g, K关于29这个问题解决了,是顶针来的
, n4 Y* Q8 ?+ W不过30的作用不明白。。。。。。
+ i/ Q+ @+ S5 o( c% Q8 t: S. S: g$ o30...是回位銷啊....就是RP啊...RETURN PIN:L4 z q, S7 U) Q! K$ C
" S) v; ]2 h- M/ X, g若還有不懂得..我可以再回覆你
. {' N1 [5 @# Z8 k% {4 B, ^" S- d: a* E; j( f7 W+ p
[ 本帖最后由 alice-1 于 2007-1-10 08:46 编辑 ] |
|