QQ登录

只需一步,快速开始

登录 | 注册 | 找回密码

三维网

 找回密码
 注册

QQ登录

只需一步,快速开始

展开

通知     

全站
9天前
查看: 2541|回复: 6
收起左侧

[讨论] 回路话题--调速回路(积极参与有奖)

[复制链接]
发表于 2007-7-24 08:09:31 | 显示全部楼层 |阅读模式 来自: 中国安徽马鞍山

马上注册,结识高手,享用更多资源,轻松玩转三维网社区。

您需要 登录 才可以下载或查看,没有帐号?注册

x
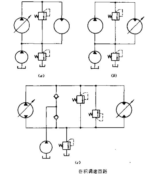
以下给两个调速回路。6 d" _" y# C1 k1 u+ M- y9 f' f4 L& t6 }2 ]
未命名1.JPG
& k% V' _1 n0 v8 y$ t7 I. u
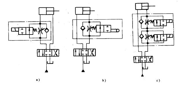
  S  H9 |2 I! w: ~$ [' t 未命名.JPG
发表于 2007-7-24 08:37:21 | 显示全部楼层 来自: 中国湖南湘潭
容积调速回路中(a)为变量泵—定量马达回路,也称为“等转矩调速回路”;(b)为定量泵—变量马达回路,也称为"恒功率调速回路”;(c)为变量泵—变量马达回路,实际上是(a)和(b)两种容积调速回路的组合。0 [: v; w8 b- ]7 V8 m& ?
     节流调速基本回路中(a)为进口节流阀调速回路;(b)为出口节流阀调速回路;(c)为旁路节流阀调速回路。(a)和(b)中溢流阀的作用为稳压溢流作用,而(c)中溢流阀的作用为安全阀作用。

评分

参与人数 1三维币 +3 收起 理由
江边 + 3 参与,谢谢您的积极参与

查看全部评分

发表于 2007-7-24 09:41:14 | 显示全部楼层 来自: 中国四川自贡
1。容积调速回路的原理:( B8 }  B& _/ H. j: z' E  W& j
用改变变量泵或变量液压马达的排量调速时,称为容积调速
! p6 ]# A3 g0 W: r- _4 y2.节流调速回路原理
# N( p# L7 j$ {1 n+ ?- v  t. n% J节流调速回路的工作原理是通过改变回路中流量控制元件(节流阀和调速阀)通流截面积的大小来控制流入执行元件或自执行元件流出的流量,以调节其运动速度。
( H" N; t/ t7 n/ |4 H1 ^5 }7 h% D3.节流调速成又分为三种:+ n* ~. Y) y9 F* m" m4 F  {
分为进油节流调速、回油节流调速和旁路节流调速三种回路" I3 o2 ~, b( r7 K5 u9 t
4.节流调速的a图中:这种回路的调速范围较大,但适用于低速轻载场合.b图中回油节流调速,其效率实际上比进油调速回路要低。C图旁路节流调速,节流阀调节了液压泵溢回油箱的流量,从而控制了进入液压缸的流量,调节节流阀的通流面积,即可实现调速...

评分

参与人数 1三维币 +3 收起 理由
江边 + 3 谢谢您的积极参与

查看全部评分

发表于 2007-7-24 10:23:25 | 显示全部楼层 来自: 中国内蒙古包头
节流调速回路安造节流阀所在位置不同可以分为进油路荣节流调速回路、回油路节流调速回路、旁油路节流调速回路,在性能方面有所不同 。1 n. H0 q2 E7 V% f
进油路节流调速回路适用于轻载低速、负载变化不大的、对速度稳定性要求不高的系统。
2 y9 q, v$ A: H9 r2 U1 [回油路节流调速回路的速度负载特性和进油路基本相同,但是能承受负值负载(背压),停车时间长后起动时会有前冲,进油路节流调速回路则不会前冲,回油路运动平稳性好,但进油路低速稳定性好!

评分

参与人数 1三维币 +5 收起 理由
江边 + 5 鼓励新人参与

查看全部评分

发表于 2007-7-26 09:39:52 | 显示全部楼层 来自: 中国江苏徐州
a、b容积调速回路多用语液压泵、马达试验0 _& G( G# |- y9 ^( Y2 v( j; G
c多用于车辆的无级调速
8 b& L. d, _. m5 |
1 l& X7 O: w2 ^6 ^) v7 [节流调速应用可就多了,需根据具体应用需要可选择进口节流a、出口节流b,或者旁路节流c
4 w/ R" T. e( g% v" t三者的液压系统刚度是不一样的
发表于 2007-7-27 12:07:12 | 显示全部楼层 来自: 中国陕西宝鸡
举一个例子:
. z) s- }0 Q( T' G# v
9 B1 H; _: {0 H. g4 V一个上下运动的气缸,要求上升和下降的速度可调,其实,最简单的方法就是在其进出气口安装节流阀。  N! R) x# g1 t0 B! p2 M* P4 U
: `/ x2 _* D; c! i0 x
容积调速回路,没有见过实物,呵呵。
) N/ O7 l! u' i5 S. ]9 t( G( n' F# V" o! G
其实,光这样说没有什么意义,液压这东西,是要用的,只用在实用中,才能把握其内容。
& G2 l: |: z5 _. e% N1 k3 f
5 k- f7 J4 x5 k) E  U大家不妨举几个例子,然后详细解说一下,这样既有理论,又有实践,多好!
) d* X+ |- F- u0 O5 k
& n. s" B+ `; f& d& s, ~: W: L) c[ 本帖最后由 zz435 于 2007-7-27 12:10 编辑 ]
发表于 2007-7-27 22:08:15 | 显示全部楼层 来自: 中国江苏无锡

我来几个

我来说说冶金厂一般常见的调速回路!
0 o( j* @* A/ k5 e* w1:有插装阀组成的进油调速回路,比较适合大流量的系统.
6 M: {$ y' n% w; }2:是具有多极调速功能: [' s) v5 {/ J0 ~: q8 q5 H3 E. g
3:在轧机好多液压缸上都用到此回路,有调速阀和四个单项阀组成桥式调速,值得一提的是油缸的进出都是经过同一个调速阀,对其双向的速度有一定的保证且方便调整。同时和定差减压阀使用具有压力补偿功能。# H: @. Q- b2 }# f3 N2 \* T
4:用溢流节流阀对进口进行调速,油液由节流阀调节多于的油液由溢流阀溢流会油箱,同时节流阀前后的压差恒定,故活塞的速度受负载的影响不大,不过没有调速阀好!  c* g6 j. O( X
5:通过梭阀可以对双向进行调速,同时具有压力补偿,是其移动的速度与负载无关。
1.JPG
2.JPG
3.JPG
4.JPG
5.JPG

评分

参与人数 1三维币 +3 收起 理由
cn_young + 3 谢谢您的积极参与

查看全部评分

发表回复
您需要登录后才可以回帖 登录 | 注册

本版积分规则


Licensed Copyright © 2016-2020 http://www.3dportal.cn/ All Rights Reserved 京 ICP备13008828号

小黑屋|手机版|Archiver|三维网 ( 京ICP备2023026364号-1 )

快速回复 返回顶部 返回列表