QQ登录

只需一步,快速开始

登录 | 注册 | 找回密码

三维网

 找回密码
 注册

QQ登录

只需一步,快速开始

展开

通知     

查看: 3818|回复: 11
收起左侧

[已解决] 关于矩形螺纹的加工

[复制链接]
发表于 2007-9-11 18:28:19 | 显示全部楼层 |阅读模式 来自: 中国江苏无锡

马上注册,结识高手,享用更多资源,轻松玩转三维网社区。

您需要 登录 才可以下载或查看,没有帐号?注册

x
请问导程3x12的矩形螺纹怎么加工比较好? 刀具要如何选择?
. f7 u8 t+ D; B% X) B8 S- a4 G. z请高手指点一下,谢谢!!
发表于 2007-9-11 18:52:45 | 显示全部楼层 来自: 中国陕西榆林
矩形螺纹得用专门的刀具。普通的床子都能加工。只要刀具解决,其他的都没有问题。
发表于 2007-9-11 20:19:05 | 显示全部楼层 来自: 中国陕西汉中
根据牙形磨刀,车床就可加工
发表于 2007-9-11 21:48:29 | 显示全部楼层 来自: 中国江苏扬州
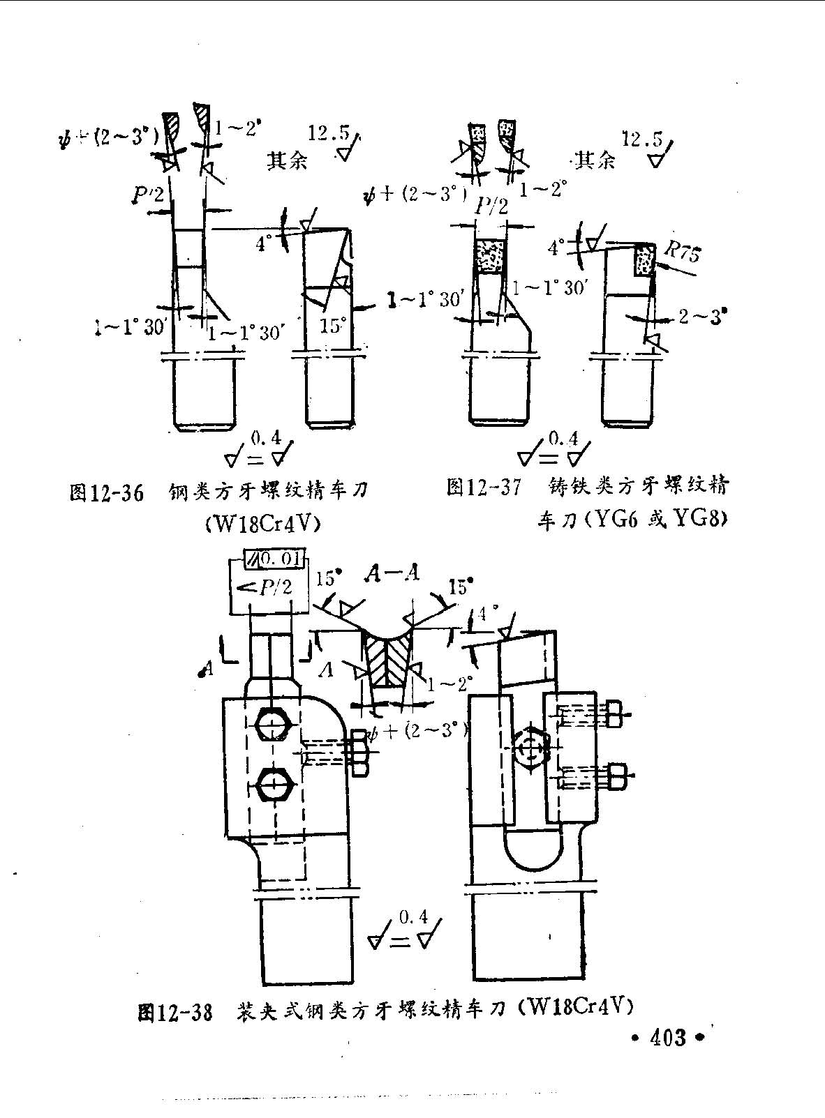
见车工手册(附件)
车工手册-方牙螺纹_页面_3.jpg
车工手册-方牙螺纹_页面_2.jpg

车工手册-方牙螺纹.pdf

67.75 KB, 下载次数: 37

发表于 2007-9-13 14:55:18 | 显示全部楼层 来自: 中国上海
需要根据螺距做成型刀,
发表于 2007-9-13 16:50:21 | 显示全部楼层 来自: 中国福建泉州
矩形螺纹的加工可采用车削和旋风铣加工工艺。现在有的也采用冷挤压工艺,但齿形的角度无法达到90度,大约在85度。
发表于 2007-9-13 22:31:32 | 显示全部楼层 来自: 中国山东济南
矩形螺纹的加工可采用车削和旋风铣加工工艺。现在有的也采用冷挤压工艺,但齿形的角度无法达到90度,大约在85度。
发表于 2007-9-14 07:24:27 | 显示全部楼层 来自: 中国浙江舟山
一般加工也是采用先用尖刀再用截头尖刀(梯形),然后用偏梯形和直方刀,一点一点地变化,然后修侧面与底面,并不是直接用直方刀,这样的刀三面受力一是工件易弯,二是刀具因受力太大而掉头损坏,轻则仅刀具坏,重则带工件一起损坏,旋风铣也不是一次可以铣成的,如果不信可以用三维去模拟,如果按标准槽宽作刀加工出来的实际槽要宽的多,因为在阴面上会发生干涉的。
发表于 2007-9-14 09:03:28 | 显示全部楼层 来自: 中国河南郑州
据说矩形螺纹不是国家标准的,真的吗
发表于 2007-9-14 20:50:10 | 显示全部楼层 来自: 中国安徽淮北
原帖由 simonlew 于 2007-9-14 09:03 发表 http://www.3dportal.cn/discuz/images/common/back.gif/ r% F5 W& ^! ~, u
据说矩形螺纹不是国家标准的,真的吗
/ k4 n, ~' t* F. k7 r2 N  z6 {
据说矩形螺纹不是国家标准的?是真的。
发表于 2007-9-15 11:57:56 | 显示全部楼层 来自: 中国台湾
矩形螺紋好像找不到成型鎢刀片....都要自己磨......
发表于 2011-12-18 13:04:54 | 显示全部楼层 来自: 中国江苏苏州
那请问下如果是P=12mm的方牙螺纹,它的牙顶宽跟牙槽深各是多少呢,还有一般车完矩形螺纹得测量哪些尺寸???
发表回复
您需要登录后才可以回帖 登录 | 注册

本版积分规则


Licensed Copyright © 2016-2020 http://www.3dportal.cn/ All Rights Reserved 京 ICP备13008828号

小黑屋|手机版|Archiver|三维网 ( 京ICP备2023026364号-1 )

快速回复 返回顶部 返回列表