QQ登录

只需一步,快速开始

登录 | 注册 | 找回密码

三维网

 找回密码
 注册

QQ登录

只需一步,快速开始

展开

通知     

全站
10天前
查看: 1558|回复: 4
收起左侧

[已解决] 请教

[复制链接]
发表于 2007-9-17 21:24:23 | 显示全部楼层 |阅读模式 来自: 中国北京

马上注册,结识高手,享用更多资源,轻松玩转三维网社区。

您需要 登录 才可以下载或查看,没有帐号?注册

x
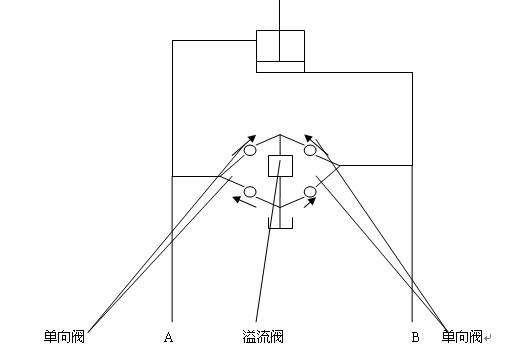
请问下各位,整流板(四个单向阀和一个调速阀组成,主要用于控制同步回路)中间的调速阀如果换成溢流阀(溢流口接油箱)有什么作用啊?我在一个连铸机的液压系统上看见了!
; K& A% y6 B; V附张图纸,用WORD画的,很粗糙,见笑了!
yuanli.JPG
发表于 2007-9-17 21:34:44 | 显示全部楼层 来自: 中国北京
1、限压0 ]" v( w, E- B* A  W( i
2、补油
发表于 2007-9-18 15:13:14 | 显示全部楼层 来自: 中国湖南长沙

回复 #1 mtmtmt 的帖子

AB口工作时起安全阀作用,AB口不工作时有防冲击和保压作用,还要看用的是什么类型的控制阀
发表于 2007-9-18 15:18:49 | 显示全部楼层 来自: 中国江苏常州
原帖由 liu_jk 于 2007-9-17 21:34 发表 http://www.3dportal.cn/discuz/images/common/back.gif4 \. y2 R% [4 f" \# u
1、限压/ V' d3 x! o, @2 j3 R/ d
2、补油
. L1 _( Y: r4 M4 y
这位同志的回答是正确的!4 N  h- l! c' b/ R+ G) ^$ L- e8 ]
那四个单向阀并不是整流板,上面两个单向阀和溢流阀起限压作用,下面两个单向阀起补油作用!
 楼主| 发表于 2007-9-18 19:34:36 | 显示全部楼层 来自: 中国北京
谢谢。明白了!
发表回复
您需要登录后才可以回帖 登录 | 注册

本版积分规则


Licensed Copyright © 2016-2020 http://www.3dportal.cn/ All Rights Reserved 京 ICP备13008828号

小黑屋|手机版|Archiver|三维网 ( 京ICP备2023026364号-1 )

快速回复 返回顶部 返回列表