|
|

楼主 |
发表于 2007-10-22 17:57:04
|
显示全部楼层
来自: 中国湖南长沙
2007年10月25日5 o) `& @6 q- V7 v- _' \8 v
谢谢各位大虾的解说
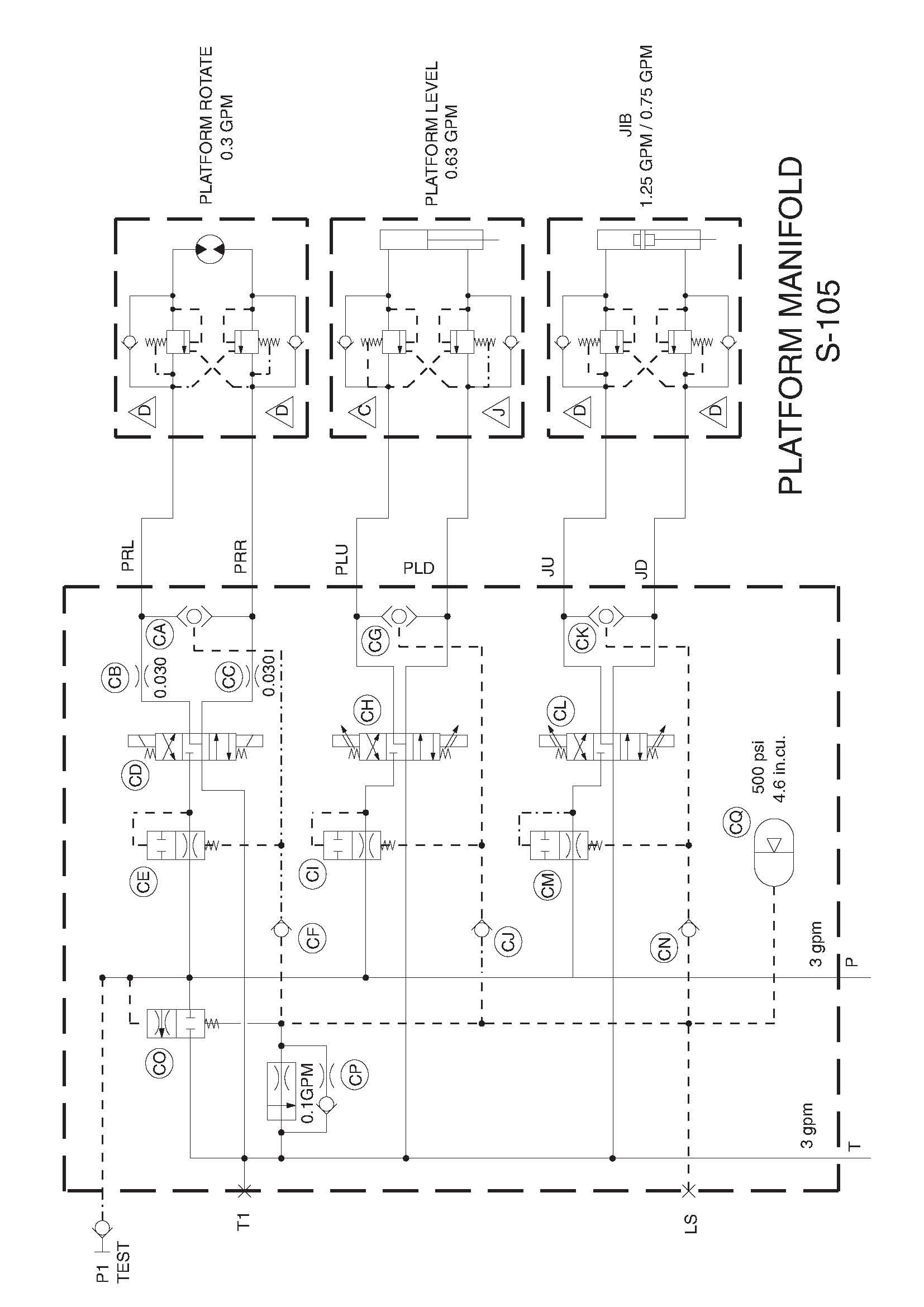
2 \$ Q! D, M) E; I$ S; S8 _* S我们不看马达那以部分,看PLATFORM LEVEL和JIB这两部分- q6 c% y4 E5 R) N8 x% ?5 b f: W
所有的阀都是螺纹插装阀,比如用SUN或HYDROFORCE,过几天我把我选择的阀的资料传上。
, H1 e+ m4 F7 Q% D2 y: @8 n1 \CP阀首先保证CO,CE,CI,CM阀的弹簧腔正常复位,当然流量不能太大,具体多少,可能与动态性能有关。! L/ K/ V6 y5 N4 ~: m) P
CI和CH构成定差减压节流阀,相当与调速阀的功能。即CI保证:CH阀进口压力=CH阀的出口压力+CI阀的弹簧力/ P K" t$ e5 Q
CO阀的作用是P口压力大于系统工作压力与CO阀弹簧压力的和之后,CO阀打开,系统开始溢流。0 F1 k# d2 Z( u0 K, w
正如wuwanfu所说,这是一个进口节流压力负载敏感系统。
( v3 Y2 S3 L( h6 c1 I. Y U. S- \1 I
[ 本帖最后由 fisherliu 于 2007-10-25 18:08 编辑 ] |
评分
-
查看全部评分
|