QQ登录

只需一步,快速开始

登录 | 注册 | 找回密码

三维网

 找回密码
 注册

QQ登录

只需一步,快速开始

展开

通知     

全站
10天前
查看: 1685|回复: 3
收起左侧

[讨论] 请高人帮忙分析一下这个原理图

[复制链接]
发表于 2007-11-11 22:51:25 | 显示全部楼层 |阅读模式 来自: 中国四川宜宾

马上注册,结识高手,享用更多资源,轻松玩转三维网社区。

您需要 登录 才可以下载或查看,没有帐号?注册

x
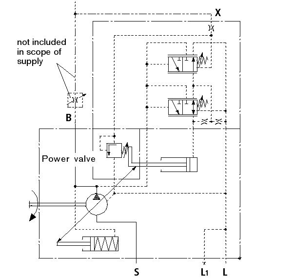
这是力士乐A10V的变量 未命名.JPG 泵,其中带有流量调节,压力调节,功率调节,帮忙分析一下它的工作原理,怎么实现功率调节的,还有那个溢流阀在工作中是打开的吗?这应该是双弹簧,实现恒功率的
发表于 2007-11-12 09:32:08 | 显示全部楼层 来自: 中国北京
这里已经有关于它的详细讨论' s. C# n5 Q$ }0 u  c8 @% I
http://www.3dportal.cn/discuz/vi ... id=127514#pid734541
 楼主| 发表于 2007-11-12 19:34:33 | 显示全部楼层 来自: 中国四川宜宾
那个不一样吧,这个是带负载反馈的,如果用到LUDV系统中,X端就接的多负载中的最大压力,用来调节流量,我不太清楚这个功率调节,就是上面的就是油缸作用的压力是通过流量调节阀节流作用,流量的变化会影起压差的变化,反过来又引起流量变化,平衡时,那个溢流量阀是开着还是关着的,反正我通过AMESim软件仿真出来,当在流量调节范围内时,出现了不稳定,通过操纵阀的流量一直上下波动,不知道原因/ I- g* g( O6 n+ G' r( a
请高人帮忙分析一下流量调节,压力调节,功率调节的是怎样共同作用的?
发表于 2008-2-24 17:50:45 | 显示全部楼层 来自: 中国广西玉林
恒功率阀是双弹簧的。在某一流量下(也就是某一变量斜盘角度),当负载压力不到恒功率线的设定压力时,恒功率溢流阀不打开,流量调节阀维持泵的恒流功能,负载压力上升到恒功率线限定的压力时,溢流阀打开,最上边的节流阀产生压差,流量调节阀被推向左位,泵排量减小,同时增加溢流阀的打开压力,溢流阀趋向关闭,于是节流阀的压差消失,流量调节阀推到右位,泵排量趋向增大,同时减小溢流阀的开启压力,溢流阀又趋向打开。如此反复,维持泵的输出功率恒定。
- d1 t" f4 x' [" [  L& ~" ~' l0 L# f7 z8 X9 l2 V
[ 本帖最后由 lwgx 于 2008-2-27 22:12 编辑 ]
发表回复
您需要登录后才可以回帖 登录 | 注册

本版积分规则


Licensed Copyright © 2016-2020 http://www.3dportal.cn/ All Rights Reserved 京 ICP备13008828号

小黑屋|手机版|Archiver|三维网 ( 京ICP备2023026364号-1 )

快速回复 返回顶部 返回列表