QQ登录

只需一步,快速开始

登录 | 注册 | 找回密码

三维网

 找回密码
 注册

QQ登录

只需一步,快速开始

展开

通知     

查看: 2405|回复: 8
收起左侧

[求助] 求双气控换向汽缸示意图!要求速度慢的时候不能卡死

[复制链接]
发表于 2007-11-26 16:36:33 | 显示全部楼层 |阅读模式 来自: 中国山东泰安

马上注册,结识高手,享用更多资源,轻松玩转三维网社区。

您需要 登录 才可以下载或查看,没有帐号?注册

x
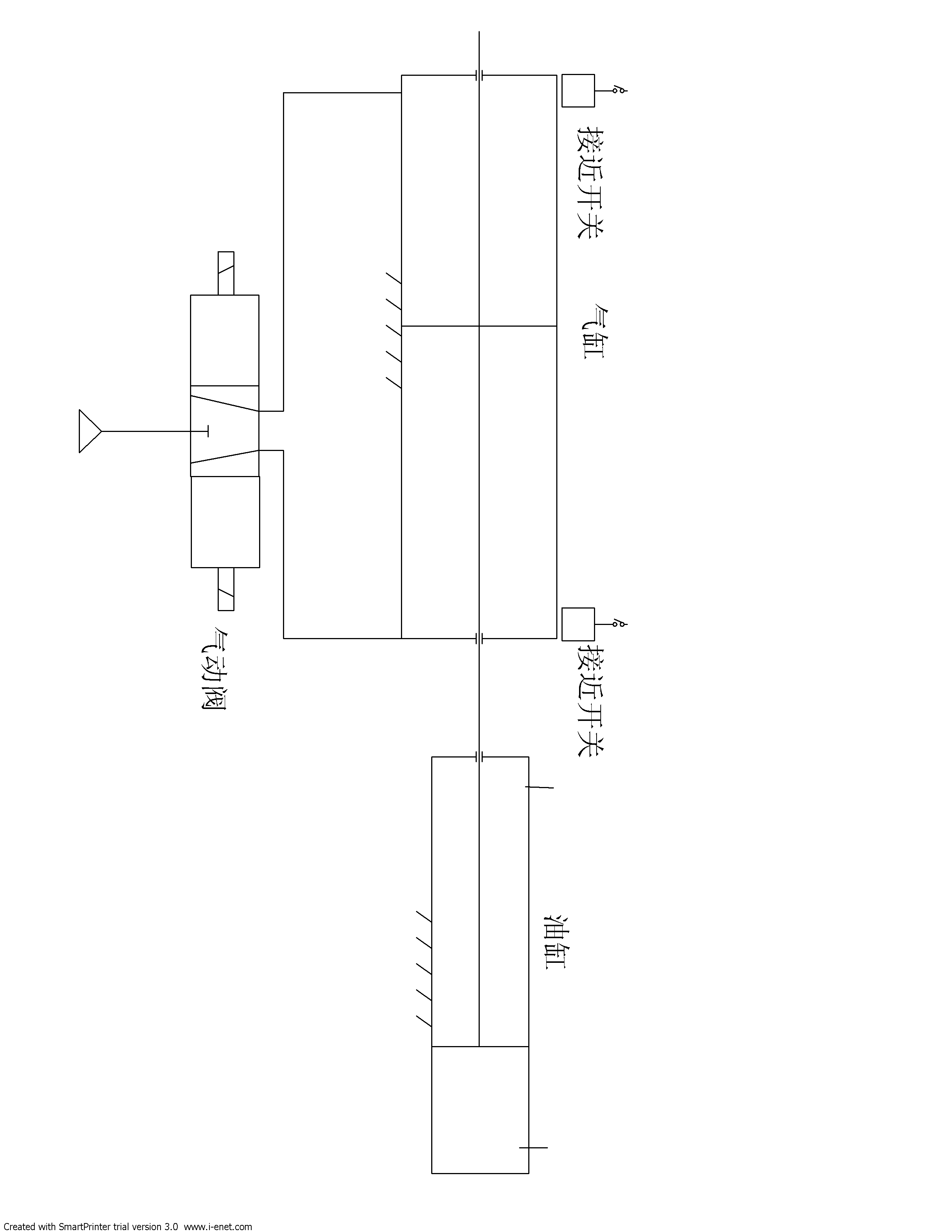
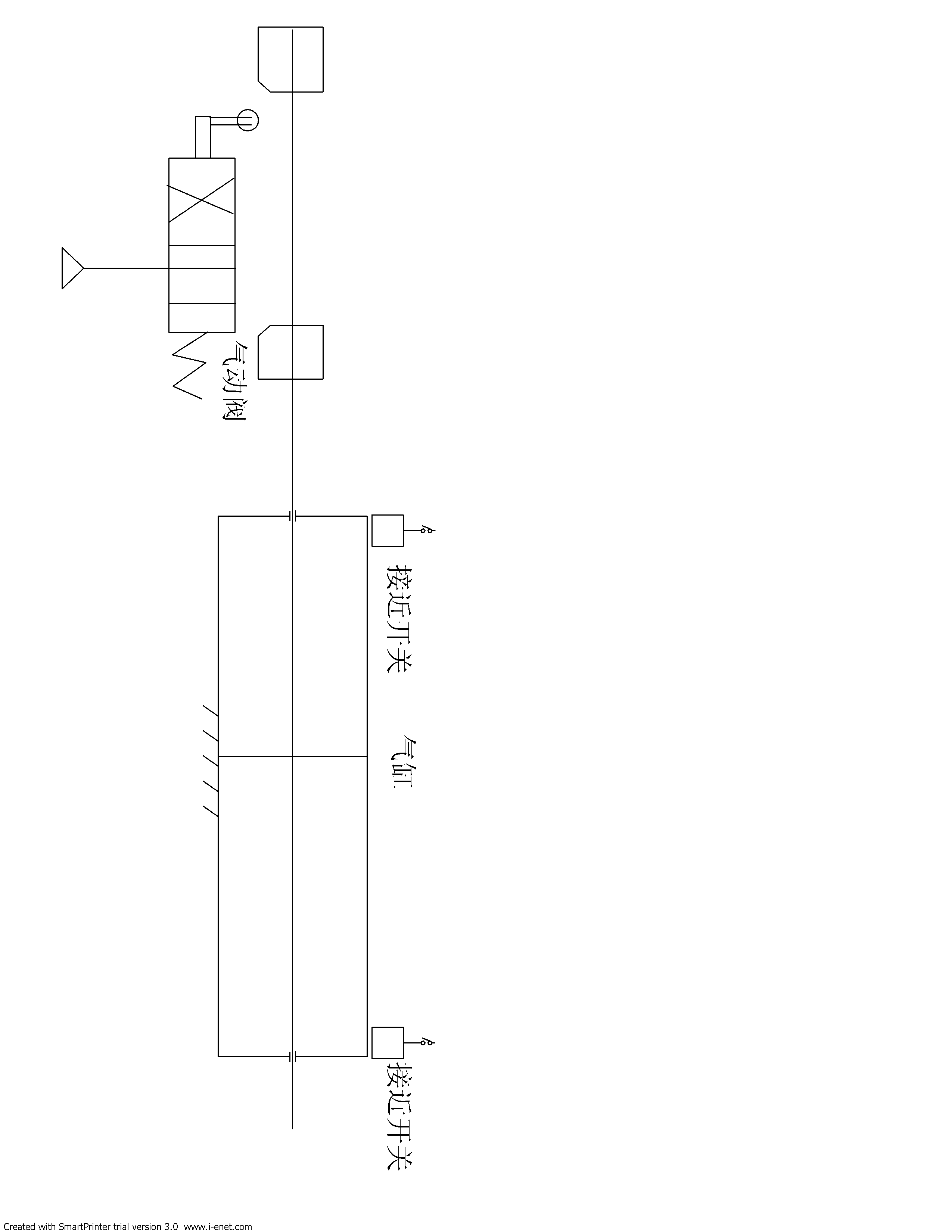
惭愧,自己用二位五通双气控换向阀改的泄压换向汽缸带动油缸,在压力高的时候,有时候会停在中间,迫不得以做了个放气阀在一端,希望各位能赐小弟一个示意图让小弟参考
  D# x$ |$ U2 E1 z& E4 v/ S0 M+ a+ v
! f) s( Y3 K" R* b  z[ 本帖最后由 9619 于 2007-11-26 19:29 编辑 ]
发表于 2007-11-26 17:56:50 | 显示全部楼层 来自: 中国
你这哥们,男儿膝下有黄金,以后不要轻易跪啊等等滴!
' y3 u" Y" Z7 J/ w3 c' W' w/ D$ G将你的现在的做法说详细,肯定有人能帮到你
 楼主| 发表于 2007-11-27 09:23:36 | 显示全部楼层 来自: 中国山东泰安

尽量吧!

我公司是生产煤矿产品的厂家,想生产一种气动液压泵,是由气动活塞直径160带动油缸活塞14,压力在0.5-0.7范围内才能达到要求的压力75MPa,我做的是用两个感知阀放在汽缸两端,分别与一个双气控二位五通换向阀(华能生产的)的控制口相连(我自己改装的吧两控制口都通进气口,)这样当汽缸走到一端的时候能够放掉气控换向阀的一端气体,达到换向的效果,但是压力高的时候活塞速度很慢,换向不到位导致气控换向阀在中间卡死,我迫不得以在换向阀一端做了个放气复位阀,才能正常工作,想求一个增压换向或者是压差幻想的示意图,希望各位能帮助我 ;)
 楼主| 发表于 2007-11-28 15:59:35 | 显示全部楼层 来自: 中国山东泰安

是不是说的不够详细

:L 为什么没有人帮我!
 楼主| 发表于 2007-12-30 15:16:13 | 显示全部楼层 来自: 中国山东泰安
是不是根本没有人能够解决这个问题 ;)
发表于 2007-12-30 19:16:23 | 显示全部楼层 来自: 中国广东
用接近开关的方式是不是你的想法?能不能完成你的功能,到一端开关动作换向,到另一端另外一组开关和电磁铁动作;
4 Z* G$ T3 q$ p. @1 l, M! ]4 l另外曾经见过有人直接用手动阀加撞击块作的不知可以吗?8 C$ f! [, c) D2 b4 o8 I
http://www.3dportal.cn/discuz/1
! f8 B4 T3 T: p" C+ w5 ]想当然画的另外一个+ Y" T& _; E1 y2 D
http://1
" b" g  o. b3 p2 g4 I% B( ~* L( I' E( d3 I$ _
[ 本帖最后由 xinoujixie 于 2007-12-30 19:31 编辑 ]
Drawing1 Model (1).gif
Drawing1 Model (1).gif
发表于 2007-12-31 08:13:37 | 显示全部楼层 来自: 中国江苏无锡
能不能把气缸的缸径再做的大一点。气缸速度慢是因为油腔里压力乘上面积和气腔里的压力乘上面积快相等了,毕竟在这个过程中有功的损耗。看这样能不能帮到你!
 楼主| 发表于 2008-1-19 14:19:17 | 显示全部楼层 来自: 中国山东泰安

首先谢谢你说这些!

你说的这些呢!还是没有解决这些问题。加大汽缸面积固然能够提高速度,但是总有平衡的时候,我们有最高压力要求63MPa,总得保证压力吧,如果刚好到一端,打开一点接近开关让气控阀换了一半就停住了,就出现了卡死的现象,并且没有办法解决,现在我有个原理图不知道能不能贴上就是利用压差换向,
 楼主| 发表于 2008-1-19 14:19:56 | 显示全部楼层 来自: 中国山东泰安

上传图片啊!

;) 没找到地方
发表回复
您需要登录后才可以回帖 登录 | 注册

本版积分规则


Licensed Copyright © 2016-2020 http://www.3dportal.cn/ All Rights Reserved 京 ICP备13008828号

小黑屋|手机版|Archiver|三维网 ( 京ICP备2023026364号-1 )

快速回复 返回顶部 返回列表