QQ登录

只需一步,快速开始

登录 | 注册 | 找回密码

三维网

 找回密码
 注册

QQ登录

只需一步,快速开始

展开

通知     

查看: 3932|回复: 18
收起左侧

[原创] 电子图版画的立体图

[复制链接]
发表于 2008-2-1 21:33:09 | 显示全部楼层 |阅读模式 来自: 中国湖北襄阳

马上注册,结识高手,享用更多资源,轻松玩转三维网社区。

您需要 登录 才可以下载或查看,没有帐号?注册

x
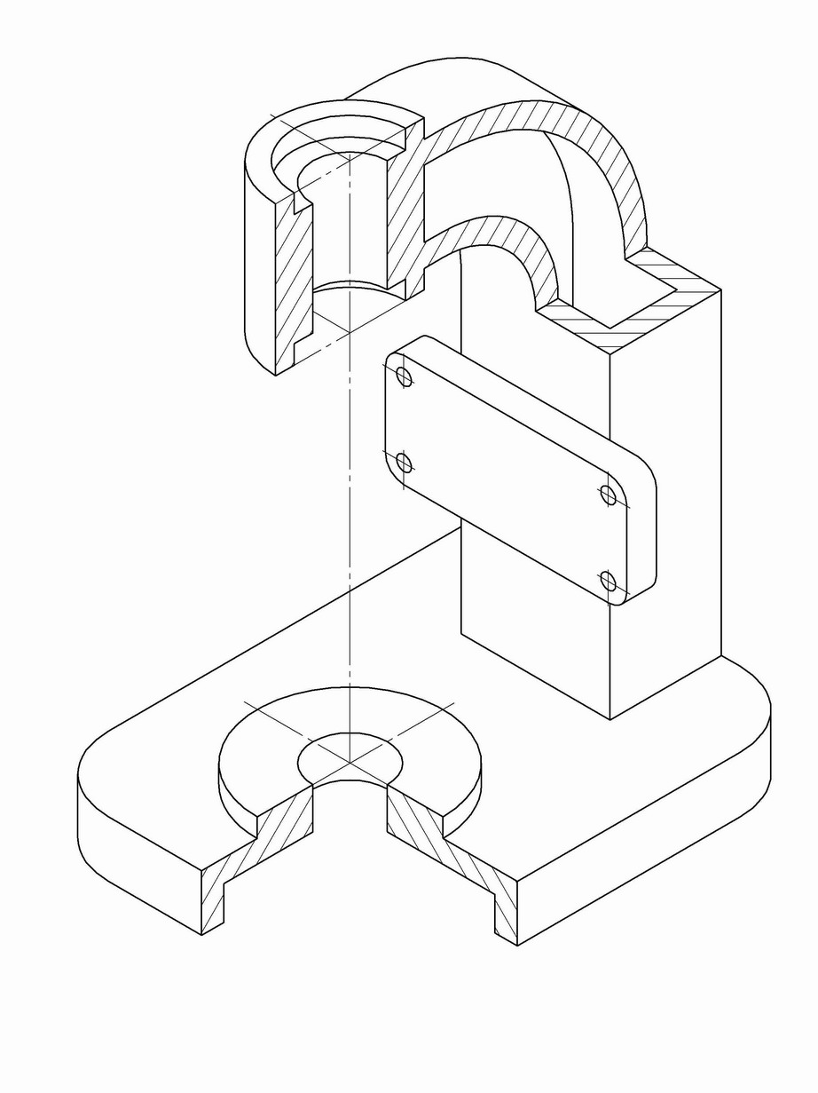
电子图版画的立体图
/ L: S) m6 @+ v9 b) l" J2 a9 }
8 ^& ]% P' J- d* w; }; x[ 本帖最后由 zeyong 于 2008-2-1 21:53 编辑 ]
C__Documents and Settings_zy_桌.jpg
zy_桌.jpg
发表于 2008-2-1 21:48:20 | 显示全部楼层 来自: 中国新疆石河子

满不错,是实体还是轴测图?

很好。剖面线怎样做的?我用SW加不上剖面线。另外缺口水平截交面处的剖面线好像不够均匀。
发表于 2008-2-2 09:40:20 | 显示全部楼层 来自: 中国山东淄博
CAXA画这个?比较麻烦的,用三维导出倒是比较简单。
发表于 2008-2-2 16:48:48 | 显示全部楼层 来自: 中国安徽芜湖
如果直接用电子图板画这两个图太麻烦,怎么也得两天,还是应当用实体画好图在导出2d图比较好。
 楼主| 发表于 2008-2-2 22:12:22 | 显示全部楼层 来自: 中国湖北襄阳
不要半天就可以绘制完的成,3D转2D是简单,但是不能掌握计算机绘图技巧。
头像被屏蔽
发表于 2008-2-6 10:21:52 | 显示全部楼层 来自: 中国山东烟台
提示: 作者被禁止或删除 内容自动屏蔽
发表于 2008-2-7 14:07:40 | 显示全部楼层 来自: 中国山西太原
可能是用三维电子图板画的,用二维的画太费力了。用实体设计画要速度快一些.
发表于 2008-2-7 20:43:48 | 显示全部楼层 来自: 中国辽宁沈阳
画的不错!我有个问题:第二张若剖到筋是否要打剖面线?
发表于 2008-2-8 10:12:20 | 显示全部楼层 来自: 中国山东淄博
CAXA画这个?比较麻烦的,用三维导出倒是比较简单。
头像被屏蔽
发表于 2008-2-9 11:38:47 | 显示全部楼层 来自: 中国山东青岛
提示: 作者被禁止或删除 内容自动屏蔽
发表于 2008-2-17 15:19:19 | 显示全部楼层 来自: 中国四川绵阳
还是实体画好图在导出比较好。
发表于 2008-2-19 22:42:37 | 显示全部楼层 来自: 中国湖北襄阳
原帖由 jack3320 于 2008-2-1 21:48 发表 http://www.3dportal.cn/discuz/images/common/back.gif$ x9 M+ w6 C) b2 g  @
很好。剖面线怎样做的?我用SW加不上剖面线。另外缺口水平截交面处的剖面线好像不够均匀。

( j) t: Q, R" G; U, o% v. @# Q! ~! h
1 d0 J4 `0 w0 ^) C实体设计2008好像可以加剖面线
头像被屏蔽
发表于 2008-2-22 20:03:26 | 显示全部楼层 来自: 中国山东烟台
提示: 作者被禁止或删除 内容自动屏蔽
发表于 2008-3-16 01:10:54 | 显示全部楼层 来自: 中国河北唐山
呵呵,做的不错,给大家说说怎么做的,交流一下吧
发表于 2008-3-16 10:18:13 | 显示全部楼层 来自: 中国安徽芜湖
很显然,应当采用caxa实体来做图,然后直接用caxa2007导出2d图,剖面线会自动加上,确实几分钟到十几分钟即可搞定。
发表于 2008-3-16 11:09:13 | 显示全部楼层 来自: 中国北京
原帖由 popjim 于 2008-2-7 20:43 发表 http://www.3dportal.cn/discuz/images/common/back.gif/ s0 z+ F3 X: }# |# e% L2 X4 Y
画的不错!我有个问题:第二张若剖到筋是否要打剖面线?
9 b( {' R6 p3 ~7 u8 Y& y
标准不打
发表于 2008-4-9 12:54:49 | 显示全部楼层 来自: 中国河北石家庄
不错,继续努力。             :)
发表于 2008-4-9 16:12:50 | 显示全部楼层 来自: 中国重庆
不错, ;)
发表于 2008-4-9 23:39:10 | 显示全部楼层 来自: 中国浙江金华
按自己的思路去画,不管他是用2D或3D
发表回复
您需要登录后才可以回帖 登录 | 注册

本版积分规则


Licensed Copyright © 2016-2020 http://www.3dportal.cn/ All Rights Reserved 京 ICP备13008828号

小黑屋|手机版|Archiver|三维网 ( 京ICP备2023026364号-1 )

快速回复 返回顶部 返回列表