QQ登录

只需一步,快速开始

登录 | 注册 | 找回密码

三维网

 找回密码
 注册

QQ登录

只需一步,快速开始

展开

通知     

全站
9天前
查看: 3872|回复: 40
收起左侧

[已解决] 小白问点白痴问题~昨天刚开始自学的~接着问!

[复制链接]
发表于 2008-3-5 12:43:27 | 显示全部楼层 |阅读模式 来自: 中国辽宁沈阳

马上注册,结识高手,享用更多资源,轻松玩转三维网社区。

您需要 登录 才可以下载或查看,没有帐号?注册

x
由于各种原来,我开始自学CACX,在网上查教程的时候,无意间发现这里,
3 T+ B6 t/ K/ _( t! d兴奋之余,决定以后在这里学习了!; m# c0 c  b+ Q6 H3 i& M
我是新人,什么都不懂,所以会问一些特白痴的问题,请各位帮我解答!' [+ S" @9 E6 R
小白我,先在这里深鞠躬,.谢谢大家了~
: R- o1 E) n  J
' |/ i& P4 K4 E+ _& q
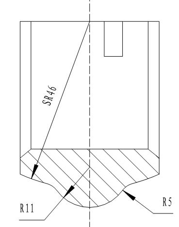
# M; P  [. K, {5 \. i$ o$ q- l' f我用的是CACX电子图板2005企业版
, Z5 k+ G: U, A5 b  j. H像我下面的图里的,那个,箭头,SR46是怎么标出来的?
8 ^) g% x: Z& i  h. \0 c我在软件自带的帮助里找了一圈.....楞没看明白...- -!
- t* B1 j' n! C% N4 n3 }  y0 G+ P4 h: i
谢谢~8 v; _$ }% f$ y4 Z

5 h. B1 p6 n+ N3 E: @9 O5 p6 \[ 本帖最后由 小奏鸣曲 于 2008-3-5 14:26 编辑 ]
1.jpg
发表于 2008-3-5 12:53:52 | 显示全部楼层 来自: 中国江苏南京
编辑标注在R前面输入S

评分

参与人数 1三维币 +3 收起 理由
小贾师傅CAXA + 3 应助

查看全部评分

 楼主| 发表于 2008-3-5 13:16:50 | 显示全部楼层 来自: 中国辽宁沈阳
哦,~
' d* r3 M# l3 m2 }谢谢谢谢~8 `# f3 q4 [" T, I
呵呵,
 楼主| 发表于 2008-3-5 14:31:36 | 显示全部楼层 来自: 中国辽宁沈阳
我想让我下图的上绿色圆弧,跟另外两条白色圆弧同时相切,应该怎么画?
; t# c) _% g( d4 G3 j& f9 ^3 |, K; Z  F% V* r4 Y
谢谢~
1.jpg
发表于 2008-3-5 14:45:14 | 显示全部楼层 来自: 中国四川绵阳
用指定两点-半径画圆,拾取1、2点时按T,鼠标变成方框时选择要切的圆,然后输入半径加回车就行了。; [; a' C7 d" A. n0 g2 u8 l4 g! G% A
. i' v  |; p0 k' Y2 q5 h
[ 本帖最后由 wuteng66 于 2008-3-5 14:47 编辑 ]

评分

参与人数 1三维币 +3 收起 理由
小贾师傅CAXA + 3 应助

查看全部评分

 楼主| 发表于 2008-3-5 14:58:11 | 显示全部楼层 来自: 中国辽宁沈阳
不好意思,我没太明白~
1 u( S/ ]- f& W: J; R# `我用的是2005版的,
# _/ @  j1 d. {# A2 o( U
- E; h9 i, I& d0 Q! D# P; W; X* m圆→三点→系统提示:第一点(切点),我选上面白色的圆弧,.然后系统提示,第二点(切点),我选择下面白色的圆弧.,我按T,.鼠标变成小方框,系统提示.第三点(切点),我不需要切第三个圆,我直接输入5(半径)回车...没反应..
发表于 2008-3-5 15:07:45 | 显示全部楼层 来自: 中国江苏南京
不要选三点: G/ e/ ?- x6 G5 R
圆→两点_半径
发表于 2008-3-5 15:11:26 | 显示全部楼层 来自: 中国四川绵阳
如图:(先按T再选圆)
0 X/ Z7 f7 c, u" S7 F0 C5 i* [, k 1.jpg 8 J/ W1 L% J* Z; B2 `2 g1 ]; L

5 [$ L% T# G- R# F[ 本帖最后由 wuteng66 于 2008-3-5 15:17 编辑 ]
发表于 2008-3-5 15:16:41 | 显示全部楼层 来自: 中国四川绵阳
第三点
. m5 G  K3 ^& J# f; Q" [ 3.JPG
 楼主| 发表于 2008-3-5 15:20:15 | 显示全部楼层 来自: 中国辽宁沈阳
两点,和三点的圆,我都试过了,
4 H! C4 Z) \2 C鼠标变成小方框时,我只点了一边的圆弧,那圆就已经出来了,- b" o3 P( [2 N% `7 t, A- z4 }
而且只切了一边的,$ ?  t; A6 C, c8 i' |5 Y. ^* E
有时候..是两圆都切了,但是半径,不对......没输入半径呢,,圆就自己出来了,
& E7 d9 `5 ]! g- x* {* w1 U
6 Z4 d: Y' }3 P/ C2 c; y2 {$ J/ l我哪地方弄错了吗?我怎么同样的步骤,做出不同的结果...- -!
) S4 B3 r: N+ M; a5 m7 s5 E麻烦各位了,谢谢~
 楼主| 发表于 2008-3-5 15:23:14 | 显示全部楼层 来自: 中国辽宁沈阳
哦,哈哈,谢谢
, F. E# v' ^: g我做出来了~  t+ ?+ k) F& E) Y
# [& \+ B4 O4 o4 e( a
我,两点_半径,.然后先按T再选圆  q! U1 }  ~" s! C7 X
就出来了,谢谢~- v2 a3 B: v; D* U0 F8 z' r2 g7 h

: \7 T3 `0 E: R& x3 p6 R; p谢谢,谢谢~两位,
发表于 2008-3-5 15:24:27 | 显示全部楼层 来自: 中国四川绵阳
;) ,用“两点-半径”好不好。
; w4 ~* [1 m& N( q拾取第2个园时也要按T。
 楼主| 发表于 2008-3-5 15:29:56 | 显示全部楼层 来自: 中国辽宁沈阳

$ ]+ l6 p4 W$ t嗯嗯,我知道了,谢谢~
# O. d  f' l: q0 K3 B+ f$ l7 V# Q. T刚才,是我弄错了,哈哈~
发表于 2008-3-5 15:31:29 | 显示全部楼层 来自: 中国四川绵阳
顺便考你一下。下图两条红线怎么画?
, G1 c6 O+ V& m, P; c6 X, L 5.JPG
 楼主| 发表于 2008-3-5 15:33:16 | 显示全部楼层 来自: 中国辽宁沈阳
我在去研究,% y: R# p/ K% k+ U8 _. n
有问题,还来这里问,: ?% A5 d4 ]" H: p/ A" b
呵呵,~谢谢~
 楼主| 发表于 2008-3-5 15:34:16 | 显示全部楼层 来自: 中国辽宁沈阳
$ ]3 |- m6 z. F
我去研究...
% ~9 K5 Q2 {4 k4 j7 c3 |6 A等~
发表于 2008-3-5 15:46:08 | 显示全部楼层 来自: 中国四川绵阳
没事就画图玩嘛,给你个图自己练去。% }) c0 U  ^+ x8 d" N) [
6.JPG
 楼主| 发表于 2008-3-5 16:01:43 | 显示全部楼层 来自: 中国辽宁沈阳
其实我刚刚开始就在照着软件里的帮助,画呢,.呵呵,9 `1 c2 L1 a3 s% `# J/ T+ Q% u4 E
您给你的图,..太难了点,
% C' \/ ^1 k' O8 ^我自己找的,呵呵,~7 |( o) {* [* o* \" s
还有工艺卡呢,~
1.jpg
 楼主| 发表于 2008-3-5 16:02:43 | 显示全部楼层 来自: 中国辽宁沈阳
怎么...看看..好像我的更难,,,
发表于 2008-3-5 16:13:10 | 显示全部楼层 来自: 中国四川绵阳
看不清楚,重来一张嘛。我正缺图画呢。( j2 b9 }$ U1 v; o3 e& s$ W
不过我是学电气自动化的,画图只是好玩。
 楼主| 发表于 2008-3-5 16:18:01 | 显示全部楼层 来自: 中国辽宁沈阳
嘿~
, y  W/ i4 u( u( v. m以防万一删了~
/ p4 P0 A8 ]& j7 M6 ~4 E8 I1 D# `+ v% m+ t

6 ], M+ [" K" I+ ?7 n :lol:
! E1 e4 k. T& e2 N8 X# B+ H( b: l- G! |0 j1 G$ [% l. V  u) @
[ 本帖最后由 小奏鸣曲 于 2008-3-5 17:00 编辑 ]
 楼主| 发表于 2008-3-5 16:19:40 | 显示全部楼层 来自: 中国辽宁沈阳
你出的那个90度...$ k  k$ P# s4 {8 _/ R
不会还得自己算角度吧?
+ p, N; {3 r; L( W我怎么画不出来?T_T
发表于 2008-3-5 16:47:43 | 显示全部楼层 来自: 中国四川绵阳

回复 22# 的帖子

呵呵,上当了吧! ) s9 w" H' z2 d& x  b# w
初中的知识:(你给的东东我下了,谢谢。画完后我第一时间给你看。), e2 K1 N4 D' d$ ?: o
7.JPG
 楼主| 发表于 2008-3-5 16:53:21 | 显示全部楼层 来自: 中国辽宁沈阳
.........................4 u7 T6 M+ s* M2 u  [! A

% y2 A1 ^# w! m6 a  c" |快十前的东西了...早忘了~ 3 P6 w# |. k. ~7 w: t2 W
4 e7 R8 d6 C+ F) G( y
我果然变笨了..... :mad: 7 M4 O- U) J8 A0 }
: I% ?9 T5 N; e
看图,我明白了,呵呵,~2 {2 j/ }1 c; j* m: u9 C- K* K7 {

# ]; V% `: j" J) {$ [1 ]我去画,1 ~8 J$ h" |7 o5 ]! n
" H' ]0 ]& S1 N* X

4 d" k) p1 U3 F' I  o2 {  g. z那些图,你慢慢玩吧,呵呵,我也是自己一点点磨呢,
发表于 2008-3-5 16:55:49 | 显示全部楼层 来自: 中国四川绵阳
你给你东东随然打了差的,会不会有问题呀。你把那个贴子删了吧。万一有麻烦呢?
发表回复
您需要登录后才可以回帖 登录 | 注册

本版积分规则


Licensed Copyright © 2016-2020 http://www.3dportal.cn/ All Rights Reserved 京 ICP备13008828号

小黑屋|手机版|Archiver|三维网 ( 京ICP备2023026364号-1 )

快速回复 返回顶部 返回列表