QQ登录

只需一步,快速开始

登录 | 注册 | 找回密码

三维网

 找回密码
 注册

QQ登录

只需一步,快速开始

展开

通知     

查看: 2864|回复: 16
收起左侧

[求助] 沟槽和O型圈

[复制链接]
发表于 2008-3-27 11:17:29 | 显示全部楼层 |阅读模式 来自: 中国浙江宁波

马上注册,结识高手,享用更多资源,轻松玩转三维网社区。

您需要 登录 才可以下载或查看,没有帐号?注册

x
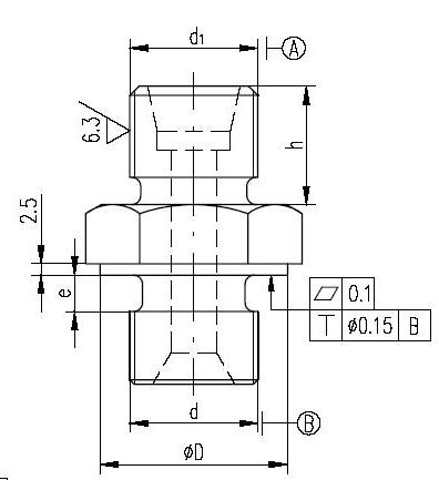
在设计时碰到沟槽和O型圈的问题。
O型圈1.JPG
发表于 2008-3-27 16:00:42 | 显示全部楼层 来自: 中国河北沧州
楼主可以查找O型圈样本,样本中对O型的沟槽尺寸有尺寸要求。
发表于 2008-3-27 16:18:53 | 显示全部楼层 来自: 中国江苏常州
楼主那个位置不对吧,应该在端面上的
发表于 2008-3-27 16:56:36 | 显示全部楼层 来自: 中国江西九江
楼主那个位置不对吧???( K$ a6 y# W1 h: _! z* l
我觉得应该在端面上的

评分

参与人数 1三维币 -2 收起 理由
柠檬咖啡 -2 复制他人发言

查看全部评分

发表于 2008-3-27 17:50:04 | 显示全部楼层 来自: 中国江苏常州
直接用个组合垫圈不就行了,我的管接头全是用组合垫的
发表于 2008-3-27 18:10:49 | 显示全部楼层 来自: 中国上海
这样的管接头可以参考JB/T966-2006《用于流体传动和一般用途的金属管接头O形圈平面密封接头》,其中的O形密封圈采用GB/T3452.1中规定的O形密封圈。! C! j+ V9 I1 U  U
标注中槽的尺寸和O形圈规格都有。+ \8 h. |$ A; L$ S$ a/ _7 e& l
标准下载:
: S8 u$ R$ W0 E0 F- m$ @6 bhttp://www.3dportal.cn/discuz/vi ... &highlight=966-2005; A. s: V0 q7 h: @
0 ^. O' v# i: }/ n2 p
[ 本帖最后由 lhf999 于 2008-3-27 18:15 编辑 ]
tu24.JPG

评分

参与人数 1三维币 +3 收起 理由
柠檬咖啡 + 3 应助

查看全部评分

发表于 2008-3-27 21:36:14 | 显示全部楼层 来自: 中国安徽淮北
一定要找接头的样本,现在比较出名的接头是永华、PARKER、EMB。样本在论坛里有。
. q* i4 }# U$ T* [5 U找到接头以后,接头有推荐的o型圈规格。接头是标准件,就不要自己设计了。
 楼主| 发表于 2008-4-3 12:25:04 | 显示全部楼层 来自: 中国浙江宁波

回复 6# 的帖子

网址打不开的,请再给一次好吗?
发表于 2008-4-3 19:47:15 | 显示全部楼层 来自: 中国上海
6楼链接失效,不能重新编辑了,再给一次:2 x* L" \( t" a% e: Q/ X1 M6 d6 ~/ V1 U
http://www.3dportal.cn/discuz/vi ... ;highlight=966-2005

评分

参与人数 1三维币 +2 收起 理由
自流井 + 2 应助

查看全部评分

头像被屏蔽
发表于 2008-8-30 17:23:12 | 显示全部楼层 来自: 中国广东深圳
提示: 作者被禁止或删除 内容自动屏蔽
发表于 2008-8-30 22:00:48 | 显示全部楼层 来自: 荷兰
回10楼,有螺纹要装O型圈的话要采用保护套,这样可以避免损伤O圈。; B% @2 |( \2 h$ L5 o9 k7 F
组合垫没有O圈密封效果好,毕竟组合垫的橡胶才多少,橡胶的特性发挥作用不明显,不过采用O圈的话,沟槽加工要求高多了,正如6楼所示的图。
7 M8 ?4 @, ?( \其实选什么不重要,只要不漏油就行。(这个观点是错误的,没有精益求精的意愿。只是本人所在公司是这样的质量态度
发表于 2008-8-31 14:06:23 | 显示全部楼层 来自: 中国山东济南
原帖由 syxplc 于 2008-3-27 16:18 发表 http://www.3dportal.cn/discuz/images/common/back.gif4 ]6 V% j0 W- e+ {
楼主那个位置不对吧,应该在端面上的

" i' k! M  [3 g1 k' k5 L0 X
* h( @4 V5 A9 i8 Z常用的有平面密封和锥密封型式
; f6 ^8 Q( @$ @# v# }楼主的是锥密封型式的ADAPTER' N- u2 H0 K. Q8 ?9 {" w- w: o
派克样本上的有O型圈对应的沟槽尺寸
发表于 2008-8-31 14:10:16 | 显示全部楼层 来自: 中国山东济南
原帖由 lhf999 于 2008-4-3 19:47 发表 http://www.3dportal.cn/discuz/images/common/back.gif8 |- F" P6 R1 ]# J' ?
6楼链接失效,不能重新编辑了,再给一次:
' p4 W4 u2 f9 e) ?& l$ d/ ?; @& |http://www.3dportal.cn/discuz/viewthread.php?tid=197105&highlight=966-2005

! c% d' a$ g$ D, |/ D+ T* ?, k4 F/ Q
这个版主给加分就不对吧3 B8 E& L5 |4 Q' r0 H7 k; ~& \% g" u: \

9 d+ P" u' M0 ~3 [% `/ |: o楼主要锥密封的,他给个平面密封的就加分啊?! x: X% M6 o% U8 C: m% K2 k! z. u; e% s

( H+ _1 y. `! J% v& S% z* s. w具体尺寸问接头加工厂家都有的: e9 H' t+ o6 s& k5 t& u

5 [& M; D# K$ _: u% F3 E5 {$ P& u[ 本帖最后由 real312 于 2008-8-31 14:12 编辑 ]
未命名.JPG
头像被屏蔽
发表于 2008-8-31 16:45:12 | 显示全部楼层 来自: 中国广东深圳
提示: 作者被禁止或删除 内容自动屏蔽
发表于 2008-8-31 21:41:50 | 显示全部楼层 来自: 中国四川成都
原因很简单,如果直接以螺纹退刀槽面为密封面的话,势必要求密封圈的大径比螺纹直径小,这样就在装配的时候有切密封圈的可能;
1 O% w1 A0 k- v* ]: h# o但是如图上所示就不同了,把密封槽开在端面上,可以将密封圈的大径做得比螺纹直径大了,这样密封圈在装配时就不会遭切了啊!只是这样就加工困难一点哦!有所得,必有所失!
发表于 2008-8-31 22:30:45 | 显示全部楼层 来自: 中国江苏无锡
受教了翱瞻
发表于 2008-8-31 22:40:23 | 显示全部楼层 来自: 中国江苏无锡
真的受教了,有高手指点,就是如沐春风啊
发表回复
您需要登录后才可以回帖 登录 | 注册

本版积分规则

Licensed Copyright © 2016-2020 http://www.3dportal.cn/ All Rights Reserved 京 ICP备13008828号

小黑屋|手机版|Archiver|三维网 ( 京ICP备2023026364号-1 )

快速回复 返回顶部 返回列表