QQ登录

只需一步,快速开始

登录 | 注册 | 找回密码

三维网

 找回密码
 注册

QQ登录

只需一步,快速开始

展开

通知     

全站
9天前
查看: 2037|回复: 4
收起左侧

[已答复] 如何选用最合理冲压模具

[复制链接]
发表于 2008-3-27 13:38:53 | 显示全部楼层 |阅读模式 来自: 美国

马上注册,结识高手,享用更多资源,轻松玩转三维网社区。

您需要 登录 才可以下载或查看,没有帐号?注册

x
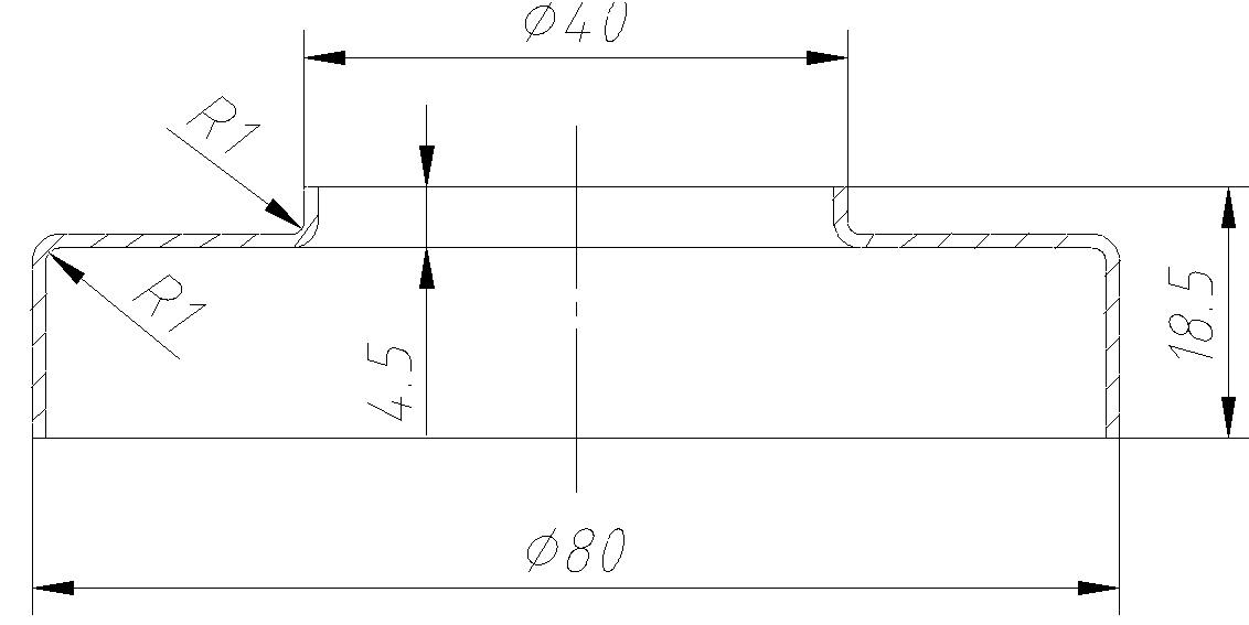
此冲压件选哪种模具组合的最优,(是用于成批生产)    材料08钢 t=1mm.
6 |0 ?7 p/ ?) p: e8 f; L7 M  z- {; Z我个人觉得是落料,拉深,冲孔和翻边的一个顺序.
+ }3 e* w, |8 S4 }$ T把落料和拉深组成一套复合模,再把冲孔和翻边组成一套模具!, b9 ]; n( q9 j2 D# Z
不知道这样是否是最优的组合方式!
Snap1.jpg
头像被屏蔽
发表于 2008-3-27 15:19:03 | 显示全部楼层 来自: 中国河北衡水
提示: 作者被禁止或删除 内容自动屏蔽
发表于 2008-4-3 11:35:20 | 显示全部楼层 来自: 中国江苏常州
这个工件用一副复合模就行  落料拉伸冲孔翻孔全部由一副复合模搞定

评分

参与人数 1三维币 +3 收起 理由
阿帕奇 + 3

查看全部评分

发表于 2008-4-3 12:08:53 | 显示全部楼层 来自: 中国江苏南京
一副模具可以满足图纸的要求!
发表于 2008-4-7 19:36:50 | 显示全部楼层 来自: 中国广东深圳
楼上的一套模具可以,能说具体点嘛,要求高点的话,肯定会有问题,一套复合肯定不行,连续模另当别论了,材料08钢 t=1mm.抽高18.5mm
发表回复
您需要登录后才可以回帖 登录 | 注册

本版积分规则


Licensed Copyright © 2016-2020 http://www.3dportal.cn/ All Rights Reserved 京 ICP备13008828号

小黑屋|手机版|Archiver|三维网 ( 京ICP备2023026364号-1 )

快速回复 返回顶部 返回列表