QQ登录

只需一步,快速开始

登录 | 注册 | 找回密码

三维网

 找回密码
 注册

QQ登录

只需一步,快速开始

展开

通知     

查看: 1902|回复: 11
收起左侧

[已答复] 请教图中的两个零件是什么

[复制链接]
发表于 2008-4-6 09:54:31 | 显示全部楼层 |阅读模式 来自: 中国江苏无锡

马上注册,结识高手,享用更多资源,轻松玩转三维网社区。

您需要 登录 才可以下载或查看,没有帐号?注册

x
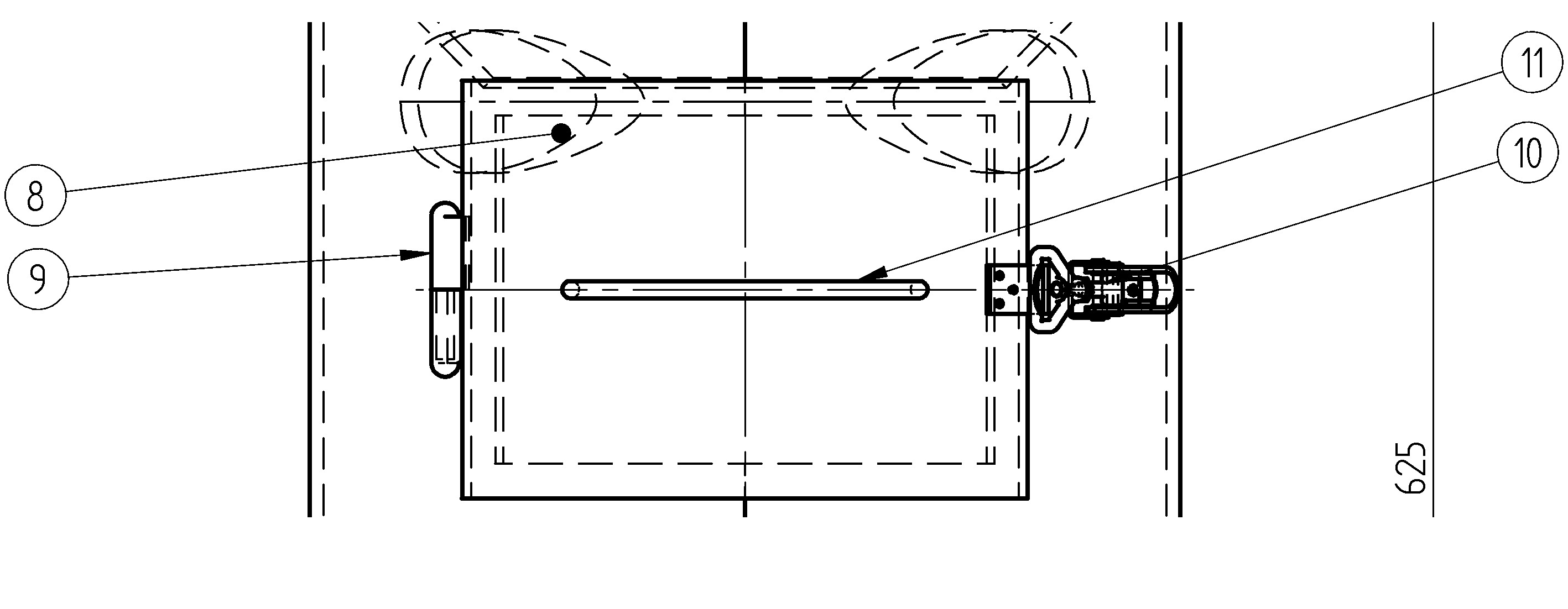
图中件号9大概是合页,10是锁扣,请问有无对照国内标准,选取国内的标准和型号?
2 M* u+ o; K1 y7 p1 W% v 1.jpg
3 v( V3 R4 E4 `0 a 2.JPG
头像被屏蔽
发表于 2008-4-6 10:18:08 | 显示全部楼层 来自: 中国湖南永州
提示: 作者被禁止或删除 内容自动屏蔽
发表于 2008-4-6 10:28:51 | 显示全部楼层 来自: 中国上海
009好像是门枢;010是夹锁
发表于 2008-4-6 13:14:51 | 显示全部楼层 来自: 中国上海
双袖合页国家标准GB/T 7282-1987

GBT 7282-1987.pdf

46.92 KB, 下载次数: 14

评分

参与人数 1三维币 +3 收起 理由
plc + 3 应助

查看全部评分

发表于 2008-4-6 13:56:55 | 显示全部楼层 来自: 中国江苏南京
这是一个箱子,左边是合页,右边是锁扣.
发表于 2008-4-6 14:20:54 | 显示全部楼层 来自: 中国江苏扬州
合页和锁扣。
1 N& u' W5 P+ f+ a% Z/ L一般五金件都是提供给钣金厂家制作,图中示意说明。
发表于 2008-4-6 14:30:22 | 显示全部楼层 来自: 中国上海
合页和锁扣1 O4 c0 e' R, m2 Y6 N* V: @+ Z8 I
看看五金手册
发表于 2008-4-6 19:06:39 | 显示全部楼层 来自: 中国广东肇庆

回复 1# 的帖子

机械手册有嘛!再不就五金手册!
发表于 2008-4-7 16:17:03 | 显示全部楼层 来自: 中国四川雅安
件号9应该是一种销轴与孔配对的铰链,件号10可能是一种比较特殊的箱扣。
发表于 2008-4-7 21:47:07 | 显示全部楼层 来自: 中国北京
锁可以根据厂家样本选择
发表于 2008-4-9 20:08:22 | 显示全部楼层 来自: 中国辽宁沈阳
9是折页,简单的门铰链;
! z) u" v1 `  p! u10是一种四连杆的锁具.不上锁也不会自动打开,加锁可防盗(初级小偷能防,稍智慧点的防不住).
发表于 2008-4-10 20:51:15 | 显示全部楼层 来自: 中国浙江温州
好像烘箱,结构简单 使用,,老祖宗早在用了
发表回复
您需要登录后才可以回帖 登录 | 注册

本版积分规则


Licensed Copyright © 2016-2020 http://www.3dportal.cn/ All Rights Reserved 京 ICP备13008828号

小黑屋|手机版|Archiver|三维网 ( 京ICP备2023026364号-1 )

快速回复 返回顶部 返回列表