QQ登录

只需一步,快速开始

登录 | 注册 | 找回密码

三维网

 找回密码
 注册

QQ登录

只需一步,快速开始

展开

通知     

全站
8天前
查看: 2296|回复: 8
收起左侧

[求助] 要求径向进给自动换向的镗头

[复制链接]
发表于 2008-5-20 20:05:55 | 显示全部楼层 |阅读模式 来自: 中国湖北武汉

马上注册,结识高手,享用更多资源,轻松玩转三维网社区。

您需要 登录 才可以下载或查看,没有帐号?注册

x
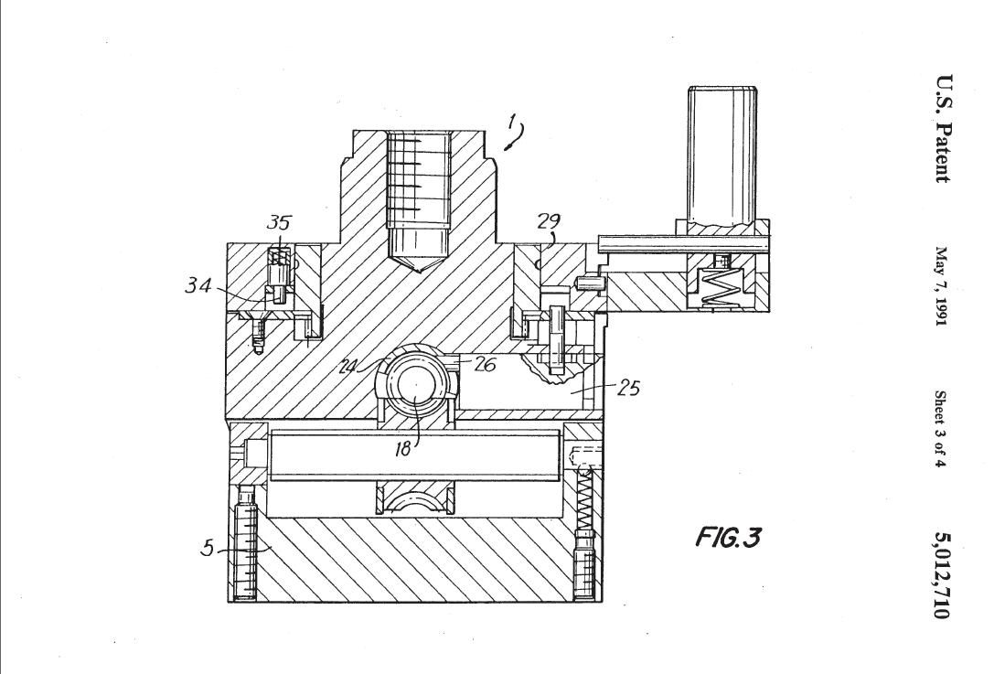
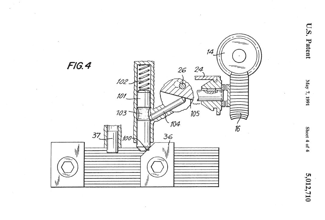
要求径向进给自动换向的镗头,有人设计过这东西没?指点一下。

图1

图1

图2

图2

图3

图3

图4

图4
发表于 2008-5-23 23:00:08 | 显示全部楼层 来自: 中国江苏常州
titter titter titter 找了很久了 谢谢啦
 楼主| 发表于 2008-5-24 00:04:17 | 显示全部楼层 来自: 中国湖北武汉
找这个有什么用?
发表于 2008-5-24 10:55:30 | 显示全部楼层 来自: 中国江苏常州
照图生产就好了呀 图示很清楚啊
 楼主| 发表于 2008-5-24 14:49:28 | 显示全部楼层 来自: 中国湖北武汉
如果是那么好做的,国内也就不会没厂家生产这个东西了,什么时候指点一下  QQ 7016556
发表于 2008-5-29 08:12:52 | 显示全部楼层 来自: 中国江苏常州
原来机械设计图册上有的 还有详细说明 可以参考一下 这个镗头由很多零件组成 蜗轮螺杆 齿轮什么的 看来要生产一个还不是容易事 专1.GIF 专2.GIF 专3.GIF 专4.GIF 专5.GIF
 楼主| 发表于 2008-5-30 01:54:23 | 显示全部楼层 来自: 中国湖北武汉
才知道搞设计不是那么简单的事了
发表于 2009-6-3 10:21:36 | 显示全部楼层 来自: 中国江苏无锡
我很感兴趣, qq:54264976 e_mail:holly@e165.com
发表于 2009-12-26 18:26:10 | 显示全部楼层 来自: 中国山东烟台
搞设计就是抄
发表回复
您需要登录后才可以回帖 登录 | 注册

本版积分规则


Licensed Copyright © 2016-2020 http://www.3dportal.cn/ All Rights Reserved 京 ICP备13008828号

小黑屋|手机版|Archiver|三维网 ( 京ICP备2023026364号-1 )

快速回复 返回顶部 返回列表