QQ登录

只需一步,快速开始

登录 | 注册 | 找回密码

三维网

 找回密码
 注册

QQ登录

只需一步,快速开始

展开

通知     

查看: 1514|回复: 2
收起左侧

[讨论] 这图纸怎样生成立体图

[复制链接]
发表于 2008-5-24 22:21:22 | 显示全部楼层 |阅读模式 来自: 中国北京

马上注册,结识高手,享用更多资源,轻松玩转三维网社区。

您需要 登录 才可以下载或查看,没有帐号?注册

x
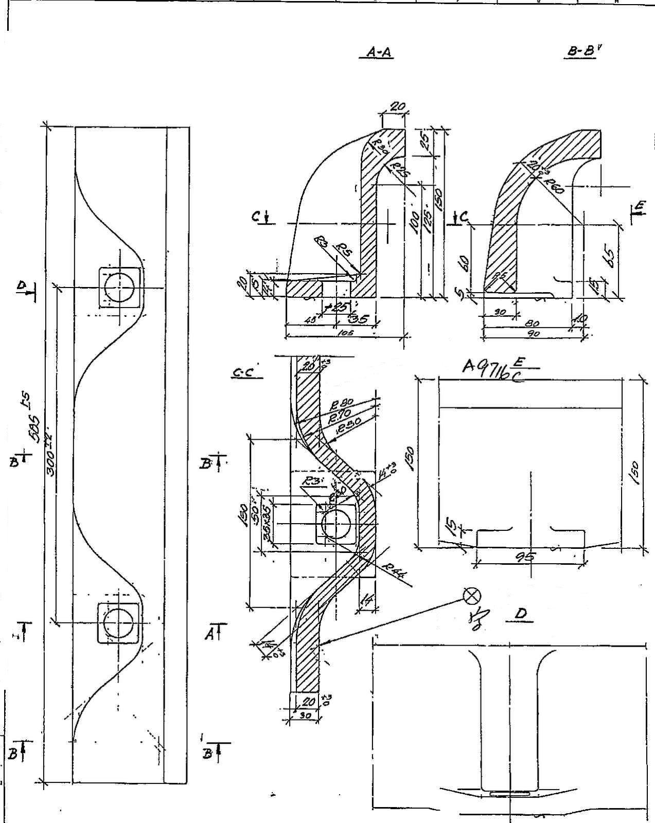
恳求高手帮助我画不出来,[ 铸件.]多谢, wx-999@163.com
page-0008.JPG
发表于 2008-5-25 15:58:15 | 显示全部楼层 来自: 中国浙江宁波
直接在UG里建模不就行了!!!!,有CAD图档就更好了!
发表于 2008-5-26 14:51:28 | 显示全部楼层 来自: 中国广东东莞
导入到UG建模块里面拉伸来画咯。
发表回复
您需要登录后才可以回帖 登录 | 注册

本版积分规则


Licensed Copyright © 2016-2020 http://www.3dportal.cn/ All Rights Reserved 京 ICP备13008828号

小黑屋|手机版|Archiver|三维网 ( 京ICP备2023026364号-1 )

快速回复 返回顶部 返回列表