QQ登录

只需一步,快速开始

登录 | 注册 | 找回密码

三维网

 找回密码
 注册

QQ登录

只需一步,快速开始

展开

通知     

全站
8天前
查看: 2710|回复: 7
收起左侧

[求助] 三环减速机

[复制链接]
发表于 2008-9-10 14:36:54 | 显示全部楼层 |阅读模式 来自: 中国辽宁葫芦岛

马上注册,结识高手,享用更多资源,轻松玩转三维网社区。

您需要 登录 才可以下载或查看,没有帐号?注册

x
那位有三环减速机设计的资料。
发表于 2008-9-18 15:03:14 | 显示全部楼层 来自: 中国广东阳江
没有,为什么要三环的呢?2 l/ M: i6 K5 R4 b( F- A
好吗?
发表于 2008-9-19 15:05:02 | 显示全部楼层 来自: LAN
三环减速机  A6 M) p3 i& y

" x! y& g. N( F1.产品特点及介绍
2 N9 W  W  w. g3 M* |/ P
! y$ T: Y0 Z8 L4 q  r/ K  m- Q  w. b; G/ K/ I
  三环减速机由三片相同的内齿环板带动一个外齿齿轮输出,故称为三环减速器,属平行轴一动轴齿轮传动减速器,齿轮啮合运动属于动轴轮系,具有少齿差行星传动特征,输出与输入轴间平行配置,又有平行轴圆柱齿轮减速器的特征。具有承载和超载能力强、传动比大、分级密集、效率高、结构紧凑、体积小、质量轻、装拆维修方便、适用性宽广等优点。可用于矿山、冶金、石油、化工、橡塑、建筑、建材、起重、运输、食品、轻工等行业。
" N7 x3 ]: B( n4 E  f& [+ J3 x% y. n" p8 g5 H& H7 F
+ `  Y! [; S# ?: j! ]
  工作条件:高速轴转速不超过1500r/min;瞬时超载转矩不大于额定输出转矩的2.7倍;工作环境温度为-40~45℃,低于0℃时,启动前应对润滑油采取预热措施;正、反两向运转。, N+ |5 L; y" g+ u' B2 L  J- s
3 v3 [* K. O( i) U
+ z; Z2 m( \- ^: l$ ~
  2.三环减速机轴伸形式1 B8 @$ ?5 Q6 R. s* ?: S3 x

$ Q6 r. I1 y3 |4 N, M0 K
6 s; z$ U$ O# n. c  Y型:圆柱轴伸,单键平键联接;: E. @4 E3 e% a& e* h( _

3 m( @) [. p$ r
( K# L* f5 m+ A. N- K' t  Z型:圆锥轴伸,单键平键联接;
9 o% y7 w0 \8 e0 ?5 @# _8 t
3 L2 B! u! l* _! V; r  J; `1 K7 V: j$ ~
  H型:渐开线花键轴伸;3 Z7 e: r4 B4 m% h1 r9 E0 O+ V* Z
9 H5 q# x) x; A8 v

! F3 U( W! x  e& g3 y% \  C型:齿轮轴伸(仅QSH(QTR)和QXSH(QXTP)减速器用);/ ^& R- }' K( M; R6 T' p
2 G4 }1 Z* E- {( K- q5 ~  d3 S
4 r6 i* l6 |/ M4 T- b  I
  K型:圆柱型轴孔,平键套装联结;6 i6 {$ {9 k' ]/ `% [. y
; I1 a1 V- @& H5 V% q
' T& ?; E0 Z- v+ C4 G; i2 W! L
  K(Z)型:圆锥形轴孔,平键套装联结;0 s1 E4 R( s, Y* B5 Y$ m2 c* X
, L  c, Z! @9 P7 D; h/ B) A7 i% J
& s2 Y& b' c9 c/ h& u4 i
  K(H)型:花键轴孔,套装联结;9 f# t3 x% {0 G; t
& ~9 d  B1 d. W  \: o

2 h) E. f9 q' [- T1 s' m+ Q  D型:轴伸与电动机直联。2 y3 s$ j( v, P0 j. K

1 M# x  i7 g5 S* S: d  Y- a9 g( d9 b  m  }8 E" q" Y: K
  3三环减速机使用及维护7 J1 V7 {# ?. V5 o3 k2 @
) ]6 X/ f7 n0 b( z. a0 ?+ a& T

: K% g$ t* }+ Q  减速器的工作条件:$ K4 S- a5 P3 @9 ?

' P' Z" Q- V$ d6 ]- Z
2 c% g& Z1 x6 I; ]) r+ |" p  a、 工作环境温度为-40℃ C~+45℃,环境温度低于0℃时,启动前润滑油应预热。: F1 \/ ~+ s4 l4 m

4 B( I2 v' T) H6 Q
% ^/ M$ v+ U+ v" Y- ]$ k  b、 高速轴转速不得超过功率表中规定的最高值。# M/ z& D- D' Q7 @! r) Q% z- |' j: @

% E) r/ R2 I0 s  L- v0 D2 B2 \: Q6 p5 w7 l3 V4 o2 _- e
  c、 瞬时允许尖锋转矩为额定转矩的2.7倍。2 ?4 \/ ~+ o0 a. N, Y3 W+ i: s
0 j% V" d4 Y# D& R( y1 X( f

# Y, j6 |/ [+ f+ N. O  d、 适用于连续,短时或断续工作制,可正反转。- V  W, [) l& v( \' S. L- |1 s% f

6 J$ x6 P' B2 o1 `; c/ Z
; Z1 \3 n+ _/ S' X  e、 减速器与原动机(常用电动机)和工作机之间应用非刚性联轴器且其轴心线应严格对中。! u. W* B& F% ^& l: L
7 V  w+ V0 i/ V5 ?" o8 C* m
# |1 L! S; g6 ]6 R( a& d% T
  安装后用手转动高速轴,使低速轴正反两向灵活一周上。, I5 ]% R' a+ S6 e1 ~; [6 T

) @" E1 B) D1 g: ]1 y* y" n" K8 R5 H/ q8 q$ ]9 w% P6 B
  减速器一般用油池溅油润滑,自然冷却,当长期连续运转热平衡功率不够时应采用取散热措施 或用循环冷却润滑。润滑油采用N110-N200中极压齿轮油。对于断续工作制可用半流体润滑脂。
, W. _, y' v) J$ Q) r( r; h8 y) T2 `, O

! t6 z; E% y" o, J& D; H  正式使用前应空运转两小时,然后按额定载荷 的25%、50%、75%100%逐级加载。情况正常,应运转平稳,无冲击,最高油温不超过80℃,温升不超过60℃。
8 I4 ]8 d: {# f( M% {( F
2 @2 q9 x4 h/ |, N  q6 w: Y9 s+ B! C
  新减速器运转300小时后换润滑油,以后3000小时换一次。换油时应清选减速器内壁及传动件。/ }9 q% }, }, V* M6 T* I/ g

4 y5 H2 c8 L6 B0 p( V& t1 u/ a( |. ]$ `/ u7 L+ F8 m; o, q  L
  应经常检查固件有无松动,油位高低,油温和轴承温度,齿轮,轴承应无异常振动和噪声。- t: L$ L2 t2 K1 J. A

0 V7 ?4 X' {+ z2 y  a$ _
& a6 Y% j$ z: |: P; ?! k' K  应保持减速器外表清洁,透气塞不得堵塞,以便散热。. v0 _  g& ]0 r; ?2 p! |% P

# w: q2 D! M+ `! `+ P, M5 y8 X+ G# g9 p5 I0 u+ v6 [; L
  使用中或开箱检查以及更换配件后减速器不得有渗漏现象。
1 U0 E( l7 u/ c* z9 v- U
) q- s  H- U; C" j. i9 e" s5 w2 i6 {2 b" K
  配件应与制造厂联系,更换配件后经跑合以及加载试验再正式使用。, Y) ?8 f' ^0 c* g7 p5 r
! I! a4 p( o" e4 H
以上资料来自于百度百科* ?/ F3 [, ]1 V( G+ @8 d

) R2 O3 b, P; K* S# A' U7 ][ 本帖最后由 虎强 于 2008-9-19 20:50 编辑 ]

评分

参与人数 1三维币 +2 收起 理由
hero2006 + 2 感谢参与

查看全部评分

发表于 2008-12-10 11:50:07 | 显示全部楼层 来自: 中国北京
发表于 2008-12-10 11:57:45 | 显示全部楼层 来自: 中国北京
http://www.nbxhyy.com/UploadImage/0024.jpg三环机工作原理简单介绍0 x! A- \8 n9 c8 T+ v6 i

( `9 Q" N% T- I) M( q% U3 D) u/ R  采用行星齿轮内啮合方式传递动力。根据火车头采用的“四杆机构”的原理,同步旋转二根曲轴,带动相互平行的、嵌有内齿轮的三只环片,在空间作平面圆周运动,内齿轮都围绕一只输出轴齿轮旋转,呈现“多层齿圈”围绕一个中心轮、作行星式“流转啮合”的布局。
# G) _9 N" q# w
4 j: Z. i7 X/ m, S1 K  O( d[二]对比同类产品,[三环减速器]的主要优点:
% t2 ]- t& |: T% `- V) W. N+ h5 s; z# ?" x/ K$ l0 g: [3 o% U
1.传动比大,单级[I]=11-99,二级[I]=50-10000;
3 _1 _( |: |% b' _$ s# l+ v7 b/ n
, `; w- T! M% `" H2.利用“动率分流”和“内齿多齿接触”的优势,承载能力较强;( K* Y* x, K" @$ r1 L/ x

  \! M8 E8 w8 P" f( R6 R3.结构较简单、零件少、体积小、重量轻;
1 |, z' O% x+ d0 z! W! k& f1 u" p  o0 l: V0 k" o2 Q
4.效率较高,单级效率[η]=92%-96%;( {$ y3 S; z) w7 S9 w2 L6 n9 d

7 X1 g' Q* u: u7 j, X& N5.不需要特殊材料和特殊加工工艺制造成本低;
* y4 A# G# e* J! z$ @& ]) q2 m' w6 H0 ?3 ]( O+ ?: \4 C9 X
6.机组齿轮线速度较低;
" X( a: U1 ^/ B8 W$ V) m  \7 l4 I  S3 X
' E6 ~& y$ r  n7.传动比范围大,可省去常规齿轮传动中所用大齿轮;1 u: A# L3 {6 T7 i" ]/ Q
' g- c8 J) Q# v) l% x( I9 u: Q
8.采用内啮合方式,有多对齿同时啮合,不发生接触疲劳破坏;
4 m2 Z1 }, o' {0 |/ p; C1 x* A
[三]三环机的性能、适用范围:
! J8 u* s- L( [) V7 D
* I' I% l# k: R* k$ m# Q0 Y* x输出扭矩范围:0.12KN.m≤[T]≤469KN.m
6 f- Y& E& _* t
7 S' p* j/ D% O1 Y( q4 H+ O减速比范围:单级减速之场合:[I]min=9-12;[I]max=90-120' {9 _( ]& T/ a1 f2 z$ j' d

5 c  F7 i% j+ j双级减速之场合:[I]max=500-10000! s7 h* h' d/ j' c- L+ P, u2 g

4 V* ]+ a% H! S' a3 s' bSH三环机可制成卧式、立式及各种安装方式与使用条件下的“派生形式”,可应用于所有动力设备需要减速的场合,特别适用于要求高安全系数的环境,是一种高档减速机。. }$ ?2 M5 ]- @$ x4 ^! r% R' c  F
# l" v4 O3 }5 T; M
1 C& c& C+ [$ |/ ]
http://s13.photo.store.qq.com/http_imgload.cgi?/rurl4_b=3a54e11c5ae0c5755f23740ca6ea5eb5b012d0f463d625fcebf2c982bc0e76b6b37226151d2ae5815653e5e0366d2af50a2e0015a22ae2cb3ef9d0918eb66aa50528ee5cca9ffc288c362eeb5d38becc4f848a15
- e' E) X" N6 ?' @9 Ahttp://s3.photo.store.qq.com/http_imgload.cgi?/rurl4_b=3a54e11c5ae0c5755f23740ca6ea5eb5b0df7fd74704e90ca5b6a504cadb60027d385b51ef34de936723d4dba6a8cfbbbb64cddfec7807040b974e7f2c2f41bb620ce2cb703f6362763176a3083471cb74840286
) N! c0 Z- O; N, ghttp://s1.photo.store.qq.com/http_imgload.cgi?/rurl4_b=3a54e11c5ae0c5755f23740ca6ea5eb5838c2a2602d479f08f6668894714a7e3f68f2dafb0bde6e4b655f7302bd5a1eaadb46caec0750f86ec77122633c22e9a18e2c0e1f18f300c0295230f34166ff52327e088) L" C4 s9 q2 U3 ?9 x) \5 B; f& m; F
http://s4.photo.store.qq.com/http_imgload.cgi?/rurl4_b=3a54e11c5ae0c5755f23740ca6ea5eb574f0cfdf30b841b784a3e47d77d8ce06915d577b4092fa4d2b5ed1bc1057a964046472e196f6d7b208637aec52c9d04a44fb99cb46a46e4b6420a70e52a1ec7596b1cf82
发表于 2008-12-11 11:13:33 | 显示全部楼层 来自: 中国山西太原
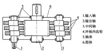
三环减速机由三片相同的内齿环板带动一个外齿齿轮输出,故称为三环减速器. 其工作原理,采用行星齿轮内啮合方式传递动力。同步旋转二根曲轴,带动相互平行的、嵌有内齿轮的三只环片,在空间作平面圆周运动,内齿轮都围绕一只输出轴齿轮旋转,呈现“多层齿圈”围绕一个中心轮、作行星式“流转啮合”的布局。它属平行轴一动轴齿轮传动减速器,齿轮啮合运动属于动轴轮系,具有少齿差行星传动特征,输出与输入轴间平行配置,又有平行轴圆柱齿轮减速器的特征。具有承载和超载能力强、传动比大、分级密集、效率高、结构紧凑、体积小、质量轻、装拆维修方便、适用性宽广等优点。结构示意见下图:
三环减速器结构示意图.jpg

评分

参与人数 1三维币 +3 收起 理由
hero2006 + 3 应助

查看全部评分

发表于 2009-2-6 10:26:28 | 显示全部楼层 来自: 中国江苏泰州
有没有具体的设计资料?
发表于 2009-2-9 11:47:40 | 显示全部楼层 来自: 中国北京

三环减速机齿轮啮合的仿真

三环减速机齿轮啮合的仿真

三环减速机齿轮啮合的仿真.rar

705.66 KB, 下载次数: 14

发表回复
您需要登录后才可以回帖 登录 | 注册

本版积分规则


Licensed Copyright © 2016-2020 http://www.3dportal.cn/ All Rights Reserved 京 ICP备13008828号

小黑屋|手机版|Archiver|三维网 ( 京ICP备2023026364号-1 )

快速回复 返回顶部 返回列表