QQ登录

只需一步,快速开始

登录 | 注册 | 找回密码

三维网

 找回密码
 注册

QQ登录

只需一步,快速开始

展开

通知     

查看: 4125|回复: 7
收起左侧

[已解决] 旋风铣的工作原理

 关闭 [复制链接]
发表于 2008-9-25 16:41:59 | 显示全部楼层 |阅读模式 来自: 中国上海

马上注册,结识高手,享用更多资源,轻松玩转三维网社区。

您需要 登录 才可以下载或查看,没有帐号?注册

x
最近看到有关旋风铣的东西但是没想出它的工作原理,哪位大虾分享下啊- N/ M; R/ K2 a( \

; _0 ~8 Y2 g) @) S[ 本帖最后由 asdolmlm 于 2008-9-27 22:18 编辑 ]
发表于 2008-9-25 16:50:33 | 显示全部楼层 来自: 中国浙江温州
旋风铣是车床高效切削螺纹的一种工艺装备,适用于大批量螺纹加工。使用时拆除车床上小刀架,将旋风铣头装于中滑板上,并将旋风头主轴的回转中心线调整到对工件中心线倾斜一个螺纹升角,随后将工件夹紧在车床卡盘上。切削过程为旋风铣头通过专用电机带动作高速旋转,转速一般为1000~1800r/min,形成主切削运动,工件装在卡盘上作缓慢旋转,转速一般为5~60r/min,形成切削过程的圆周进给运动。与此同时,旋风铣头随同床鞍作轴向移动,使工件每转一周,旋风铣头切削前进一个导程
 楼主| 发表于 2008-9-26 09:13:14 | 显示全部楼层 来自: 中国上海
谢谢楼上的介绍!我看到有人说旋风铣洗出来的螺纹表面“哪叫螺纹啊”,有的地方说铣出的螺纹表面粗糙度能到Ra0.8。我没亲眼见过,但是想象中好像第一种说法有道理,因为那是亲自用过的。其实很多地方都有一般性介绍,稍微具体些的没有,主要是旋风铣头高速旋转作主切削运动这一处不好理解,楼上朋友能具体说下吗?万分感谢!
发表于 2008-9-26 14:48:30 | 显示全部楼层 来自: 中国上海
有没有人高手知道旋风铣的成本大概多少啊
发表于 2008-9-26 14:50:59 | 显示全部楼层 来自: 中国江苏南京
在此回复一下大家关心的问题:/ O2 u  }  A' Z! O6 D
: `! v% h# K9 h- l2 F" |0 y
关于旋风铣这里有比较清楚的展示,有参数,有视频:5 Q  I! c: y/ X7 ?- @$ _
http://www.monnier-zahner.cn/mz/m644_1.html- r5 q( e: V, _7 |
http://www.monnier-zahner.cn/mz/mz120video.html
$ Q! G" K) j+ O  O' p( {0 v
+ Y: n7 D% [8 B, b9 Z瑞士兰博特瓦里有限公司 瑞士莫尼埃查纳有限公司的制造的旋风铣床有两种:
& G+ V8 @, P' @& ]$ ^6 T旋风铣 和 外旋风铣。国内比较常见的是用车床改装的内旋风铣3 z4 u4 n4 _  a0 c
# Q. \1 Q4 U8 j3 S3 L6 w* ?" y/ M3 E
关于加工精度:
7 e* {# A8 X/ J* t) C% ^外旋风铣加工的螺纹、蜗杆是可以做到DIN6 Ra0.6的。需要要毛坯、刀具、机床整体
- j8 t  g7 Y! ~刚性等因素的配合。慢工出细活嘛。
, f8 b! b! B# L( E
" N& z; d* n- u# z3 H! N- g( z/ \/ c* F/ e* I) D: m
关于旋风铣的刀具:
! d8 U2 g, {) n  |图中除滚刀以外,像齿轮片一样的刀是外旋风铣刀,像逗号一样的刀是内旋风铣刀。
  `1 p- ~& T& l5 `0 Y
. U# y; C9 G' g  F外旋风刀片的全称是“对数铲背等截面盘形铣刀”。相当于螺旋角为零的单头单圈滚刀。
# d6 D5 I: `+ d9 }0 C) G. C" ]其铲背的成型原理和滚刀铲背的成型原理相同,因此重新刃磨时只要保证等分,就能保5 w( f+ b/ h8 H: j! b
证刃口的顶点都在同一个圆周上(直径会略微减小),而且轮廓不变、后角不变。一把/ W4 y5 q. S% j
盘形铣刀正常情况下可以磨削20-30次(每次0.2毫米以下)。" D& V& ?+ ~. J7 g  z6 ^
% U* z! N6 b' |% A) v: P4 X0 F
逗号型内旋风刀片的缺点是后角为零,但是制造简单,可以沿着圆周多次重磨(不少于30次)。
; `) M+ ~% `5 H9 @; l3 `直至逗号变成句号的样子  :-): ~) C7 m: f; g& C9 L0 ^

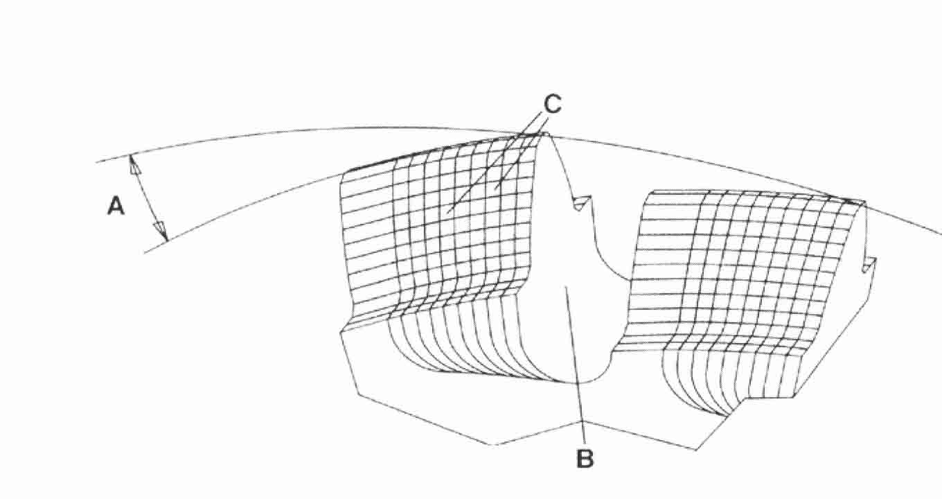
$ h5 \/ f, h$ Z关于刀架的偏斜:
& G2 K# l, i0 Z4 @& c/ k刀架的角度偏差在0.1度是可以接受的。刀具的中心高也影响齿形。这二者都会影响齿型
  K4 K3 V* _/ e9 w& [+ u检测结果图形产生喇叭口或一边倒的状态。如图有些轻微喇叭口状态。
* ], @& F% g  t8 f# J2 ~
9 s' P8 b  I* x: L关于刀具刃磨:下面是刀片刃磨需要的机床,当然用普通的滚刀刃磨床或万能工具磨也可以。* P7 T9 J& t2 t7 [' {) \& u" N
http://www.monnier-zahner.cn/mz/m657_1.html6 ?& J7 O( {  X3 C" O) r5 {

3 ~( g. j' b* W$ A* k5 J[ 本帖最后由 dongjingzhij 于 2008-9-26 15:27 编辑 ]
内旋铣.JPG
外旋铣1.JPG
稳定套.jpg
logarithmic relief face.jpg
内旋铣与外旋铣.jpg
DIN6检测报告(水印).jpg
加工用刀具(小的是内旋刀,大的是外旋刀).jpg
可刃磨刀具.jpg

评分

参与人数 1三维币 +3 收起 理由
asdolmlm + 3 应助

查看全部评分

发表于 2008-9-26 14:56:13 | 显示全部楼层 来自: 中国湖南长沙
好深奥,都看不明白.谁有图纸编写方法啊
 楼主| 发表于 2008-9-27 08:51:56 | 显示全部楼层 来自: 中国上海
感谢dongjingzhij!图文并茂,根据大家说的和我查其他资料,现在终于基本搞懂了这旋风铣。我在想:基本上绝大多数首创的东西都是老外想出来的,我们一直在做所谓的消化吸收说白了就是Crack人家的东西,就这样还不见的能吃得透。看来差距还是太大,国人应该怎么样作才能有这些创造性地思维出现呢?
发表于 2008-9-27 12:09:57 | 显示全部楼层 来自: 中国浙江宁波
旋风铣效率高,专业强,加工性能好。
发表回复
您需要登录后才可以回帖 登录 | 注册

本版积分规则


Licensed Copyright © 2016-2020 http://www.3dportal.cn/ All Rights Reserved 京 ICP备13008828号

小黑屋|手机版|Archiver|三维网 ( 京ICP备2023026364号-1 )

快速回复 返回顶部 返回列表