QQ登录

只需一步,快速开始

登录 | 注册 | 找回密码

三维网

 找回密码
 注册

QQ登录

只需一步,快速开始

展开

通知     

查看: 1315|回复: 7
收起左侧

[求助] 汽缸

[复制链接]
发表于 2008-11-20 13:49:39 | 显示全部楼层 |阅读模式 来自: 中国江苏无锡

马上注册,结识高手,享用更多资源,轻松玩转三维网社区。

您需要 登录 才可以下载或查看,没有帐号?注册

x
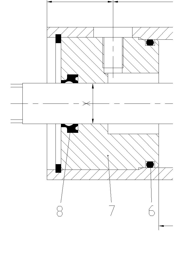
请问前缸盖尺寸X=?及公差!; D+ }' p# [8 f
, s& X" C2 Z/ M- t, l0 H* Q( Y
[ 本帖最后由 Engineer-wx 于 2008-11-20 13:55 编辑 ]
装配图-Model1.jpg
装配图-Model3.jpg
发表于 2008-11-20 16:35:13 | 显示全部楼层 来自: 中国辽宁沈阳
一般前端盖X尺寸数字同活塞杆直径,动配合为H8/h7。
 楼主| 发表于 2008-11-20 16:50:53 | 显示全部楼层 来自: 中国江苏无锡

回复 2# shifeng18 的帖子

请问这样的配合对气体进入UN圈有没影响?能否使UN圈唇边张开?我的尺寸直径20+0.07~+0.04,可是现在出现漏气现象。漏气处见附件贴图!就是双作用防尘圈的外边漏气。
# b9 G+ X9 X/ r) P* S9 o) {" T1 z/ f/ J! R5 [  ~3 v- y0 a
[ 本帖最后由 Engineer-wx 于 2008-11-20 16:51 编辑 ]
装配图-Model.jpg
发表于 2008-11-20 19:04:22 | 显示全部楼层 来自: 中国吉林吉林市
你的公差有些大
发表于 2008-11-20 19:42:07 | 显示全部楼层 来自: 中国上海
有问题呀,在密封圈的里面要留间隙以便气压通到y形圈上即可密封。
 楼主| 发表于 2008-11-21 08:14:23 | 显示全部楼层 来自: 中国江苏无锡

回复 5# zamcompy 的帖子

可以把“密封圈的里面要留间隙”详细说一下吗?
发表于 2008-11-21 08:33:15 | 显示全部楼层 来自: 中国辽宁沈阳
严格按密封圈槽尺寸进行加工,粗糙度应该达到1.6以上。还有活塞杆的粗糙度是否被破坏了。
 楼主| 发表于 2008-11-26 12:40:27 | 显示全部楼层 来自: 中国江苏无锡

回复 7# shifeng18 的帖子

活塞杆的粗糙度没破坏。
发表回复
您需要登录后才可以回帖 登录 | 注册

本版积分规则


Licensed Copyright © 2016-2020 http://www.3dportal.cn/ All Rights Reserved 京 ICP备13008828号

小黑屋|手机版|Archiver|三维网 ( 京ICP备2023026364号-1 )

快速回复 返回顶部 返回列表