QQ登录

只需一步,快速开始

登录 | 注册 | 找回密码

三维网

 找回密码
 注册

QQ登录

只需一步,快速开始

展开

通知     

全站
2小时前
查看: 2178|回复: 11
收起左侧

[已解决] 请教一个标注的含义。。

 关闭 [复制链接]
发表于 2008-11-28 14:25:22 | 显示全部楼层 |阅读模式 来自: 中国河南郑州

马上注册,结识高手,享用更多资源,轻松玩转三维网社区。

您需要 登录 才可以下载或查看,没有帐号?注册

x
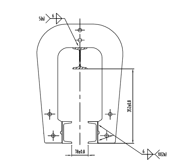
如图,其中5(n)等是什么意思??
# _5 l/ |% H" b8 Q" s0 C
, }, p% l0 x. Y8 B+ w' U& P[ 本帖最后由 cqu_guan 于 2008-12-1 15:01 编辑 ]
11.bmp
 楼主| 发表于 2008-11-28 14:27:03 | 显示全部楼层 来自: 中国河南郑州
在尺寸标注的书上找了下,没找到
 楼主| 发表于 2008-11-28 14:56:56 | 显示全部楼层 来自: 中国河南郑州
图中是一个钢结构。。
发表于 2008-11-28 15:58:02 | 显示全部楼层 来自: 中国江苏常州
是焊接公差吧!
发表于 2008-11-28 16:09:56 | 显示全部楼层 来自: 中国山西太原
这是焊缝标注符号,上下两个三角表示钢板双面角焊缝,6表示焊角高度为6mm,6(n)表示这样的单段焊缝共有6处。
- e0 [7 N/ j" A" o7 j1 d. e下面的焊缝是指向槽钢两边的,钢板双边角焊缝,焊角高6mm,10(2n)表示上下两段焊,这样的焊缝总共有10处。
' K: C3 ~# V! t- W+ c) f. ~
4 B& i/ s% x; [7 V1 ]! q. ~. Z[ 本帖最后由 gaoyns 于 2008-11-28 16:52 编辑 ]

评分

参与人数 1三维币 +3 收起 理由
asdolmlm + 3 应助

查看全部评分

发表于 2008-11-28 16:23:58 | 显示全部楼层 来自: 中国山东泰安
5(n),5是表示处数,n应该表示段焊,也就是表示有5处段焊。
" X& O" t0 @' A. a& `! _6 c) r* Y* \10(2n)表示有10处对称段焊。前面的6就是焊高了。
" _: I5 H. H; R/ F9 `愚见。

评分

参与人数 1三维币 +3 收起 理由
asdolmlm + 3 应助

查看全部评分

发表于 2008-11-28 16:41:10 | 显示全部楼层 来自: 中国吉林吉林市
5楼6楼说的对 0 n$ q/ n% \) j$ q2 N) M8 ~' d
若对n无要求时允许省约标注n值。若对焊缝段数或焊点个数有要求时则仍应标注n值。 " r$ c, j9 U* h* b7 r5 l* Q6 q# [
, P, e% d) S9 M/ I0 d7 r
以断续焊缝为例,按常规理解,有每段焊缝长度、焊缝间距、焊缝起始位置尺寸、工件上焊缝总体长度后,可以通过计算求出焊缝段数n,若再在图上标注n值,似乎出现重复标注。但对断续焊缝而言,焊缝段数n是设计给检验的一个参数。断续焊缝一般用于把两个零件通过焊接联为一体,不作为主要受力焊缝。焊缝段长度尺寸及间距尺寸的公差较大,一般不要求逐段检验,只查点焊缝段数。所以在焊缝设计中,焊缝段数n不同于尺寸链中的封闭环,把它看成是工艺要求更合适。

评分

参与人数 1三维币 +3 收起 理由
asdolmlm + 3 应助

查看全部评分

发表于 2008-11-28 21:18:46 | 显示全部楼层 来自: 中国江苏常州
为断续焊,也叫跳焊
发表于 2008-11-28 23:39:55 | 显示全部楼层 来自: 中国吉林长春
该位置数字表示焊缝数量的。和工字钢施焊的有5处,和槽钢施焊的有10处相同焊缝。
发表于 2008-11-29 16:13:59 | 显示全部楼层 来自: 中国陕西西安
有出处的请指出,以便查证!
发表于 2008-11-30 13:17:39 | 显示全部楼层 来自: 中国江苏苏州
三維網內有焊接標示資料喔!: q0 z  M) ^1 O* n0 o) ~

% h$ L7 x7 n5 J5 h0 ]& [+ M) y2 o: f
原帖由 sunshine1026 于 2008-11-19 11:23 发表 5 ^- a! C% A+ f6 ]+ U7 p
一步步教你画焊接图1057090

# [* j, P  W" C4 X! t0 v* M" H0 j5 Fhttp://www.3dportal.cn/discuz/vi ... p;page=1#pid2960258
发表于 2008-12-6 11:12:51 | 显示全部楼层 来自: 中国浙江杭州
好资料呀!我对焊接得认识已经跟进一步了!
发表回复
您需要登录后才可以回帖 登录 | 注册

本版积分规则

Licensed Copyright © 2016-2020 http://www.3dportal.cn/ All Rights Reserved 京 ICP备13008828号

小黑屋|手机版|Archiver|三维网 ( 京ICP备2023026364号-1 )

快速回复 返回顶部 返回列表