QQ登录

只需一步,快速开始

登录 | 注册 | 找回密码

三维网

 找回密码
 注册

QQ登录

只需一步,快速开始

展开

通知     

查看: 1786|回复: 11
收起左侧

[求助] 求:浇注工艺!

[复制链接]
发表于 2008-12-4 11:04:28 | 显示全部楼层 |阅读模式 来自: 中国江苏常州

马上注册,结识高手,享用更多资源,轻松玩转三维网社区。

您需要 登录 才可以下载或查看,没有帐号?注册

x
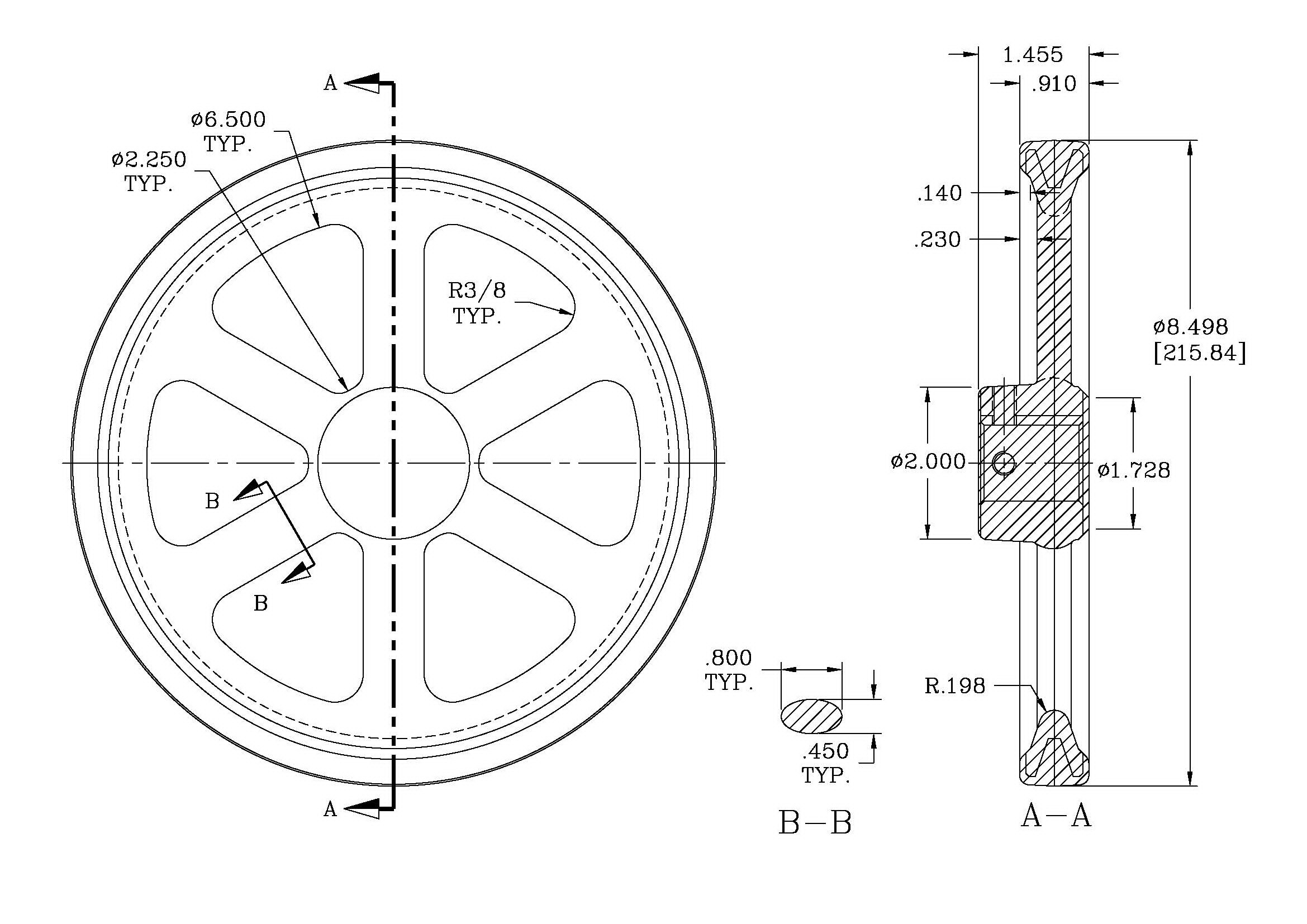
最近铸件供应商总是说,如果这种产品不加冷铁的话,无法解决中心缩凹的问题(图纸设计为实心,因为我们最小加工孔径仅约13mm,即使这么小的孔能铸出,将来数控车床钻孔的时候可能会有不小的麻烦),但是我们不希望他们加冷铁,那样中心表层硬度很高且不稳定,怎么办?请高人指点一二!谢谢!!. w6 Y) c" i$ l6 K( H# j  Y' V6 i
材质:HT200.
皮带轮02.jpg

皮带轮02.rar

35.11 KB, 下载次数: 7

AutoCad 图纸

发表于 2008-12-4 12:16:57 | 显示全部楼层 来自: 中国江苏苏州
不+冷铁?你什么想法
发表于 2008-12-4 12:25:06 | 显示全部楼层 来自: 中国江苏苏州
那就上面加一段,把缩孔引出铸件,自己割掉。
 楼主| 发表于 2008-12-4 13:31:16 | 显示全部楼层 来自: 中国江苏常州
原帖由 dingyl111 于 2008-12-4 12:25 发表 http://www.3dportal.cn/discuz/images/common/back.gif
  I8 b+ `0 B7 A那就上面加一段,把缩孔引出铸件,自己割掉。
  ^6 D) L& I1 j) e& P9 o% r9 i. |
这就是有点补贴的意思喽?可是我们有的产品,轮毂的右侧并不加工呀,怎么办呢?
发表于 2008-12-4 14:30:10 | 显示全部楼层 来自: 中国江苏无锡
最好的办法还是下芯子。数控加工应该不是问题。
发表于 2008-12-4 15:38:02 | 显示全部楼层 来自: 中国四川宜宾

回复 3# dingyl111 的帖子

同意!你的产品应该要求UT,因此必须加冒口将缺陷去除!
发表于 2008-12-4 15:47:39 | 显示全部楼层 来自: 中国四川德阳
上面加冒口,把缩孔引出去,最后把冒口锯掉
 楼主| 发表于 2008-12-4 16:07:41 | 显示全部楼层 来自: 中国江苏常州
谢谢各位的帮助!我让他们试试看!
发表于 2008-12-5 17:31:47 | 显示全部楼层 来自: 中国北京
供应商还管这个啊!
发表于 2008-12-7 20:44:27 | 显示全部楼层 来自: 中国黑龙江哈尔滨
原帖由 jingdizhiwa 于 2008-12-5 17:31 发表 http://www.3dportal.cn/discuz/images/common/back.gif
. U/ o9 M" g' v2 G. e供应商还管这个啊!
好的厂家是对质量很负责的
发表于 2008-12-8 17:33:55 | 显示全部楼层 来自: 中国河北石家庄
原帖由 jingdizhiwa 于 2008-12-5 17:31 发表 http://www.3dportal.cn/discuz/images/common/back.gif  v  x" U0 C/ O) w# P$ L- G- M
供应商还管这个啊!

% ~% n' A: j* u在几位铸造行家的帮助下,铸造厂家的合理要求得到满足,问题得到解决。并不是画出什么样的图纸,就一定能铸出什么形状工件的,应当将日常的技术工作充满了此类事情,可是有多少能得到这样的双方都满意的解决呢?这是一个很好的与上游厂家合作的范例。
发表于 2008-12-8 23:51:12 | 显示全部楼层 来自: 中国云南昆明
HT200要能把缩孔消除其实很简单,没那么复杂,加补缩头或是明冒口补缩都能解决。适当把浇温降低或是采用暗冷铁等都能解决。你要能把你现在出现缩孔的工艺说一下更能解决了
发表回复
您需要登录后才可以回帖 登录 | 注册

本版积分规则


Licensed Copyright © 2016-2020 http://www.3dportal.cn/ All Rights Reserved 京 ICP备13008828号

小黑屋|手机版|Archiver|三维网 ( 京ICP备2023026364号-1 )

快速回复 返回顶部 返回列表