QQ登录

只需一步,快速开始

登录 | 注册 | 找回密码

三维网

 找回密码
 注册

QQ登录

只需一步,快速开始

展开

通知     

查看: 3463|回复: 23
收起左侧

[已答复] 盘管裂纹产生原因

[复制链接]
发表于 2008-12-29 19:16:37 | 显示全部楼层 |阅读模式 来自: 中国北京

马上注册,结识高手,享用更多资源,轻松玩转三维网社区。

您需要 登录 才可以下载或查看,没有帐号?注册

x
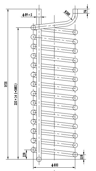
有一台盘管,结构简图如下,材料为ASME SB-407  UNS N08800(镍合金)9 J. ?* i( Y- q' D
截图01.jpg

; k* Y$ f; a/ H其成型为热煨成型,温度(高频加热)850℃-900℃,其成型图片如下: 图片(014).jpg
( [2 n3 K5 Y* \( G1 `% P! Y* f% S$ c2 P! i0 M/ V* }& j  e

& }0 c1 Z# ?9 M" m
# R. O; D: j( N. T8 R6 @4 V- ?: c2 y( Q3 K, G% g
图片(011).jpg ! A* P& ?9 j& Z
! _$ `2 s+ V6 P: K1 ^' r
成型后,盘管表面出现裂纹,图片如下,请大家帮忙分析一下裂纹产生的原因
6 n, A# M7 N; e+ f2 c+ L  l( }4 r: L IMG_0010.jpg & t0 w  p: c% ^: F  f" Y9 e
+ F, D: I! _5 u$ U- W: k$ g1 V
IMG_0012.jpg - ]1 J* d, X5 \
# o0 B3 C5 E) E3 F, ]/ e' t
[ 本帖最后由 zzpxp 于 2009-9-22 08:02 编辑 ]
图片(010).jpg
截图02.jpg
截图02.jpg
发表于 2008-12-30 08:50:09 | 显示全部楼层 来自: 中国浙江宁波
你的管子是什么状态供货的呢?冷加工退火还是热轧退火?
发表于 2008-12-30 10:20:21 | 显示全部楼层 来自: 中国浙江台州

回复 1# ljf507 的帖子

在下提供一点高镍合金的资料2 Y2 [$ o: c0 L) {/ u
■镍合金 ; O  _7 e+ x  L* `: J
以镍为基体加入其他元素而构成的有色合金。 " s1 Q, }1 m" y8 H+ s* D
按用途分为:
7 ~5 g# x0 y3 z: @3 F( F! Q①镍基高温合金。主要合金元素有铬、钨、钼、钴、铝、钛、硼、锆等。其中铬起抗氧化和抗腐蚀作用,其他元素起强化作用。在650~1000℃高温下有较高的强度和抗氧化、抗燃气腐蚀能力,是高温合金中应用最广、高温强度最高的一类合金。用于制造航空发动机叶片和火箭发动机、核反应堆、能源转换设备上的高温零部件。 + c# |7 [! M! w9 e8 h. F
②镍基耐蚀合金。主要合金元素是铜、铬、钼。具有良好的综合性能,可耐各种酸腐蚀和应力腐蚀。最早应用的是镍铜合金,又称蒙乃尔合金;此外还有镍铬合金、镍钼合金、镍铬钼合金等。用于制造各种耐腐蚀零部件。 . V( ?; Y3 R; n; V+ w: k
③镍基耐磨合金。主要合金元素是铬、钼、钨,还含有少量的铌、钽和铟。除具有耐磨性能外,其抗氧化、耐腐蚀、焊接性能也好。可制造耐磨零部件,也可作为包覆材料,通过堆焊和喷涂工艺将其包覆在其他基体材料表面。
* f0 J! C. B. K④镍基精密合金。包括镍基软磁合金、镍基精密电阻合金和镍基电热合金等。最常用的软磁合金是含镍80%左右的玻莫合金,其最大磁导率和起始磁导率高,矫顽力低,是电子工业中重要的铁芯材料。镍基精密电阻合金的主要合金元素是铬、铝、铜,这种合金具有较高的电阻率、较低的电阻率温度系数和良好的耐蚀性,用于制作电阻器。镍基电热合金是含铬20%的镍合金,具有良好的抗氧化、抗腐蚀性能,可在1000~1100℃温度下长期使用。 * Y( ~5 c  p, G+ T2 o$ ]- D
⑤镍基形状记忆合金。含钛50(at)%的镍合金。其回复温度是70℃,形状记忆效果好。少量改变镍钛成分比例,可使回复温度在30~100℃范围内变化。多用于制造航天器上使用的自动张开结构件、宇航工业用的自激励紧固件、生物医学上使用的人造心脏马达等。
% X1 @( O9 R; o7 T; `4 F5 q& V% }7 H
在下提供一点关于高镍合金的特性
4 c6 F5 |& H' F0 u- w■高镍合金可应用于以下行业: ! K. B7 N0 a+ K1 T! S6 p
1.热处理工业。如炉辊、钟式炉及退火炉等。
8 \1 h+ N; F, _; M$ O- t2. 煅烧炉。如用其来煅烧生产高性能刚玉,煅烧铬铁矿,以生产铬铁合金,回收在石油化工中用作催化剂的镍。 ! j9 v4 g# }3 H+ k& W( {
3.化工和石油化工,用其制备新的蒸汽裂化粗汽油炉,以生产氢等。
5 c; e. D. p; a) M7 L4.自动化装置。如催化支撑系统,火花塞。 / [8 I! L! L" Z. H4 ?
5.核工业用清洗设备,如核废料清除。
' h, [* W+ d; l& c6.钢铁工业。如直接还原铁矿石工艺,生产海绵钛。: w) q% N: j% u2 G4 I2 p
& U% D5 f3 ^' f
[ 本帖最后由 cailong123 于 2008-12-30 10:21 编辑 ]
发表于 2008-12-30 10:30:40 | 显示全部楼层 来自: 中国浙江台州

回复 1# ljf507 的帖子

楼主提得问题很深奥,
( _4 \8 k) W2 I3 T' g我个人认为:管子加热预弯后应保温在一定的温度下,在缓慢的降低温度,确保金属晶体颗粒不变大。减少管子弯后应力集中。要分析晶体构造,可以参考一些金属热处理书籍。。
 楼主| 发表于 2008-12-30 12:40:09 | 显示全部楼层 来自: 中国辽宁大连
原帖由 niao_csu 于 2008-12-30 08:50 发表 http://www.3dportal.cn/discuz/images/common/back.gif
% D7 r# h. v# Q+ {  v7 D- m+ D你的管子是什么状态供货的呢?冷加工退火还是热轧退火?

4 h" j4 ?* M+ w冷加工退火
发表于 2008-12-30 16:53:46 | 显示全部楼层 来自: 中国浙江宁波
全部都是纵向的裂纹,应该是煨弯时出现较大的拉应力。会不会是弯管曲率过大导致壁厚减薄太多?详细原因不知道。如果冷弯会出现这个情况吗?关注中,希望楼主急需反馈信息,偶们也学习学习8 i* l7 }# a2 l1 G/ Z) s: ]! p

9 C# b6 _9 v- C, |8 x* ^6 x[ 本帖最后由 niao_csu 于 2008-12-30 16:57 编辑 ]
发表于 2008-12-30 17:09:05 | 显示全部楼层 来自: 中国北京
1、有可能使材料的原因;# V* ~; y/ K% _
2、加工的半径太小,可以考虑多次成型。
4 J( c" V& {" l. G/ D% L% [盘管的加工是比较讲究的,不知楼主的盘管是几个头?

评分

参与人数 1三维币 +2 收起 理由
liuhob + 2 应助

查看全部评分

发表于 2008-12-30 17:17:52 | 显示全部楼层 来自: 中国浙江宁波
我问了我公司的国外装置工程师,他建议弯管前预热下。
 楼主| 发表于 2008-12-30 19:22:28 | 显示全部楼层 来自: 中国湖北武汉

回复 8# niao_csu 的帖子

谢谢您!我个人认为产生裂纹有3方面原因
7 x4 z' s; B0 K* @- W! ~* ]7 {+ t第一:材料本身的特性(当然材料力学性能、化学成分是合格的)
# H" b+ F, X2 {第二:成型工艺
5 {1 j& G1 ?% Y1 Z* o' k第三:这种材料能不能热成型?是否热成型容易产生裂纹哪?
4 n7 t0 `0 Q8 V我大概了解一下,镍合金材料成型是很讲究的,由于材料特殊,成型时必须保证表面的清洁,表面不得有油污等污染物,否则表面容易发脆,容易出现裂纹。. ~" T+ ]* R# _' D& y
成型过程中可能弯曲半径小,拉应力较大,裂纹是由于拉应力产生的。
8 g( N% x4 J. S$ A现在关键是裂纹打磨清除并消除应力热处理后能不能再出现新的裂纹?因为盘管里介质为氢气--易燃易爆的。; t% w  q" ^, y: E
这种材料为ASME SB-407  UNS N08800相当于国内的NS111,谁有这种材料的热成型工艺或应该注意的事项,希望大家不吝指出。
 楼主| 发表于 2008-12-30 19:23:00 | 显示全部楼层 来自: 中国湖北武汉
谢谢大家!我个人认为产生裂纹有3方面原因
. ]' m8 r9 X# r: @( v第一:材料本身的特性(当然材料力学性能、化学成分是合格的)
' L" j* N3 u3 k第二:成型工艺
: U! D9 ^+ `2 r第三:这种材料能不能热成型?是否热成型容易产生裂纹哪?7 n4 S9 e; d0 B
我大概了解一下,镍合金材料成型是很讲究的,由于材料特殊,成型时必须保证表面的清洁,表面不得有油污等污染物,否则表面容易发脆,容易出现裂纹。9 @; t, [  z  Q# b
成型过程中可能弯曲半径小,拉应力较大,裂纹是由于拉应力产生的。
! E9 v. |2 M* c2 R- d现在关键是裂纹打磨清除并消除应力热处理后能不能再出现新的裂纹?因为盘管里介质为氢气--易燃易爆的。
+ W0 e) U2 v  A/ \- l4 u& i这种材料为ASME SB-407  UNS N08800相当于国内的NS111,谁有这种材料的热成型工艺或应该注意的事项,希望大家不吝指出。5 p  q# G4 m* s" |4 |
上面有这种材料成型前后的金相组织图
( i" ^: g! {$ f+ g& e成型前组织呈等轴晶均布, |9 V+ U3 r" B
成型后组织呈等轴晶均+均布应力线

; w: y% z7 ^% \; V- K+ q从金相组织看,成型后并没有破坏盘管的金相组织。
6 p6 X, W9 w" c$ y6 F- Q3 ?* z& V5 D% Y0 a: W( g4 M
[ 本帖最后由 ljf507 于 2008-12-30 19:31 编辑 ]

评分

参与人数 1三维币 +5 收起 理由
liuhob + 5 技术讨论

查看全部评分

发表于 2008-12-30 21:26:23 | 显示全部楼层 来自: 中国山东青岛
从楼主提供的金相组织图和裂纹形貌来看,裂纹是由于成型过程中弯曲半径太小、造成的拉应力过大造成,这是靠成型工艺、热处理所无法解决的,最好还是从结构方面改善,如:是否需要这么粗的管子成型,是否可以将曲率半径变大等,管子的壁厚可不可以小一些等。
发表于 2008-12-30 22:49:41 | 显示全部楼层 来自: 中国浙江嘉兴
按一般经验肯定是加工工艺的事,如果变大管子成型半径好像也是不可能的,因为你应该是放入特定容积的加热舱室(如炉膛),还是用煨前预热和煨后缓冷的办法来解决这个问题。  j+ m9 r" L$ |# Y5 i$ `& a' i
  你可以考虑先煨一小段管子看一下情况,从图片看好像你煨制时中间没检查、没停顿一气呵成,这样不好啊!
% q. a1 L+ A( I( }
6 g; A- y3 E% Y: Q9 y/ \[ 本帖最后由 tiantan5858 于 2008-12-30 22:51 编辑 ]
发表于 2008-12-31 08:12:15 | 显示全部楼层 来自: 中国浙江宁波
是啊,像这种管子这么贵,弯管初期一定要小心观察啊,发现问题越早损失越小。何况里面的介质是氢气,里面的压力自然也不低,温度还很低,可以说环境非常恶劣啊。你就是消除裂纹之后消除热应力热处理人家业主也不一定会接受啊。万一出事可是大事故。
发表于 2008-12-31 08:19:25 | 显示全部楼层 来自: 中国浙江温州
原帖由 ljf507 于 2008-12-30 19:23 发表 http://www.3dportal.cn/discuz/images/common/back.gif
- T3 W/ h  E. t3 b谢谢大家!我个人认为产生裂纹有3方面原因
  D9 A/ Z1 O/ M7 R第一:材料本身的特性(当然材料力学性能、化学成分是合格的)' d# W; |6 g0 B5 Y
第二:成型工艺
' C3 y# o7 @. {" v, N2 x% C' |第三:这种材料能不能热成型?是否热成型容易产生裂纹哪?% G. v$ h* p) d; p! _5 R
我大概了解一下,镍合金材料成 ...

6 R6 W9 R, `- J* i0 `* s
$ n" N# c( s) A0 Y" D- z" G分析得很全面,我认为是不是管材本身质量有问题,建议成型前先热处理一下,预热退火,再则管壁厚度是不是太厚。
 楼主| 发表于 2008-12-31 10:59:24 | 显示全部楼层 来自: 中国辽宁大连
介质为氢气,工作温度450℃,当然了炉堂温度为600℃,要是氢气泄漏危害大
发表于 2008-12-31 16:30:45 | 显示全部楼层 来自: 中国辽宁沈阳
倾向于三种说法:1.材料性能,是不是本身就不合格# q/ w6 I* P8 O
                2.弯曲半径太大,就是曲率小,煨制过程拉应力过大,造成裂纹
' d& g" i) J- f4 F% g% x! R                3.管壁太厚
发表于 2008-12-31 20:42:08 | 显示全部楼层 来自: 中国浙江宁波
原帖由 网络菜鸟 于 2008-12-30 17:09 发表 http://www.3dportal.cn/discuz/images/common/back.gif
, ]( I2 p; p2 n. y6 k" I& L1、有可能使材料的原因;7 U0 g+ h7 E4 t6 Z
2、加工的半径太小,可以考虑多次成型。 * H% X$ m+ j1 N5 M8 `+ n
盘管的加工是比较讲究的,不知楼主的盘管是几个头?

4 U. j& ^% O- |7 @& {( B) k9 u2 }0 a! P- V) N% j
呵呵,这种盘管好像没有办法采用多次成型的工艺啊。

评分

参与人数 1三维币 +5 收起 理由
liuhob + 5 技术讨论

查看全部评分

发表于 2009-1-4 15:28:11 | 显示全部楼层 来自: 中国江苏苏州
温度是否能再提高
发表于 2009-1-4 16:42:03 | 显示全部楼层 来自: 中国浙江宁波
也不知道处理好没有,还关心着处理过程及结果如何呢.楼主,有最新情况请上来发表一下,谢谢了
 楼主| 发表于 2009-1-5 08:03:24 | 显示全部楼层 来自: 中国辽宁大连
谢谢,目前正在处理中!
发表于 2009-1-5 09:06:37 | 显示全部楼层 来自: 中国江苏无锡
这种盘管应该可以冷盘
, E: @2 e, T6 w1 U$ s, }1 g3 K
' [7 P$ t9 D/ X0 q不过我们这里的材质一般都是20号炉管或者普通不锈钢( x! r: s3 C6 X$ s
* ~+ q1 r0 F' G5 |- c
一般采用盘管机分段盘,盘成几段后管子对接成型
+ A2 G9 k  G: d2 A% P
. m. l. c5 c! I3 {楼主现在的问题明显是热加工时出现的问题,改成冷盘没问题
发表于 2009-1-5 09:12:30 | 显示全部楼层 来自: 中国吉林吉林市
无材质没有问题,应从加热的温度,盘管时的速度两方面去考虑,没有标准可寻,只能靠经验

评分

参与人数 1三维币 +2 收起 理由
liuhob + 2 应助

查看全部评分

发表于 2009-1-10 14:23:53 | 显示全部楼层 来自: 中国辽宁大连
是不是热成形的加热温度过低造成的裂纹啊?# v% b: V" P" {7 _9 F7 K
INCO公司推荐的热加工温度是870~1200℃。( w/ o/ x) x' C; H+ t( j4 |
深加工的加热温度为1010~1200℃

评分

参与人数 1三维币 +2 收起 理由
liuhob + 2 应助

查看全部评分

发表于 2009-1-10 15:59:55 | 显示全部楼层 来自: 中国四川攀枝花
了解一下,
发表回复
您需要登录后才可以回帖 登录 | 注册

本版积分规则


Licensed Copyright © 2016-2020 http://www.3dportal.cn/ All Rights Reserved 京 ICP备13008828号

小黑屋|手机版|Archiver|三维网 ( 京ICP备2023026364号-1 )

快速回复 返回顶部 返回列表