QQ登录

只需一步,快速开始

登录 | 注册 | 找回密码

三维网

 找回密码
 注册

QQ登录

只需一步,快速开始

展开

通知     

全站
2天前
查看: 1283|回复: 0
收起左侧

[求助] 有人用搞过比例减压阀的HCD模型么?

[复制链接]
发表于 2009-1-3 20:57:06 | 显示全部楼层 |阅读模式 来自: 中国四川成都

马上注册,结识高手,享用更多资源,轻松玩转三维网社区。

您需要 登录 才可以下载或查看,没有帐号?注册

x
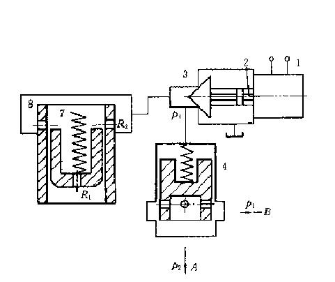
各位高人指点一下,我用HCD建的先导式比例减压阀模型对不对?
6 v- L. l1 i- m: V) m7 Y/ g暂不考虑流量稳定器。
# J  f& C7 o* k0 y& z; X6 B! I! {, U! C$ u1 x4 V+ J) w. v
[ 本帖最后由 龙门起重机 于 2009-1-3 20:59 编辑 ]
原理图.jpg
电液比例减压阀.jpg
发表回复
您需要登录后才可以回帖 登录 | 注册

本版积分规则

Licensed Copyright © 2016-2020 http://www.3dportal.cn/ All Rights Reserved 京 ICP备13008828号

小黑屋|手机版|Archiver|三维网 ( 京ICP备2023026364号-1 )

快速回复 返回顶部 返回列表