QQ登录

只需一步,快速开始

登录 | 注册 | 找回密码

三维网

 找回密码
 注册

QQ登录

只需一步,快速开始

展开

通知     

查看: 1965|回复: 13
收起左侧

[已答复] 实际困难:一种转盘加工装配

[复制链接]
发表于 2009-1-5 11:19:22 | 显示全部楼层 |阅读模式 来自: 中国江西景德镇

马上注册,结识高手,享用更多资源,轻松玩转三维网社区。

您需要 登录 才可以下载或查看,没有帐号?注册

x
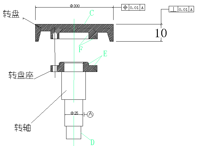
各位好,本人现在实际生产要加工如下图所示的转盘组合,其中,转盘用螺丝固定在转盘座上.
+ F/ w$ z( R8 }! o, m& f要求:装配完成后,C面及Φ300的旋转精度在0.01mm内.
2 S7 k/ F* F" O工作时转盘转动是在Φ25处并列装两个轴承,在D处装A型皮带轮带动.$ B; D  |- z  u6 G
现在,由于加工条件限制,只能用普通车床加工.
+ S, [. h: z; w! Z
# g% F* f6 j7 U  p& L目前,我使用方法是,1.先分别车加工转轴及转盘,2装配完成后,夹轴,精车转盘外圆及平面,% |* z0 E. G2 h% F0 g  N8 l# |
但装配后,旋转总有30--40丝的误差* a* K# t$ Z7 M, ]

) w* k4 z& Q* q+ _1 A- Y  l请哪位赐教,如何加工才好,或者要使用哪些工夹具?
: i! ~9 F* j! @+ Q( f7 R先行致谢了
8 q& d" j3 @( F1 }1 p; A4 E! Z2 y* H

1 C# @0 z) e2 L. Z% N) M- h& j' B( {1 Q
补充一下准备采用的方法,请高手看下行不?
1 Y8 \0 ^: L7 b* H1.   双 中心孔顶,加工轴承档及E处配合尺寸) y3 E. Y* b. q' }4 Q8 F
2 , 粗车转盘C,F处,并加工配合螺钉孔
! X. w  V0 P4 K5 J- B3.   以精车后的C面定位,加工F处配合尺寸
; u2 V  o+ d, t; j9 `4 |4.  装配
) e' p) s: w$ m$ q. q+ P3.
1.png
发表于 2009-1-5 12:13:30 | 显示全部楼层 来自: 中国北京
我个人觉得你的加工方法没有错!
* x  w/ ^% f5 h1 E但是车床达不到那么高的精度,精车完后应该在上磨床的!

评分

参与人数 1三维币 +1 收起 理由
zyj10282005 + 1 应助

查看全部评分

发表于 2009-1-5 13:24:22 | 显示全部楼层 来自: 中国湖北武汉
二次装夹后的找正方法有问题吧,建议的转盘中心开个孔,让顶针能继续顶在轴中心孔中,保持轴的双顶针装夹,精车C面及外圆。
 楼主| 发表于 2009-1-5 14:00:06 | 显示全部楼层 来自: 中国江西景德镇

回复 3# j.chen404 的帖子

是啊,二次装后,怎么车都达不到要求.也想过在盘上开孔,但转盘使用中受限制,不能开孔.
1 T. X3 h, `3 |" [* q2 l还有没有别的方法?
 楼主| 发表于 2009-1-5 14:01:59 | 显示全部楼层 来自: 中国江西景德镇
原帖由 yz 于 2009-1-5 12:13 发表 http://www.3dportal.cn/discuz/images/common/back.gif
* s) H& Q$ {5 p我个人觉得你的加工方法没有错!* v7 ]  v5 ]' |) l9 E
但是车床达不到那么高的精度,精车完后应该在上磨床的!

# a  p* F0 q# j0 c% r( Z0 K7 A
9 @' J+ A& \" I' \( h+ E7 V# k大哥,我只能用车加工.
发表于 2009-1-5 14:09:19 | 显示全部楼层 来自: 中国湖北武汉
先车好转盘,轴承档上留余量,装配后以转盘为基础校正,精车两轴承档试试
发表于 2009-1-5 15:26:42 | 显示全部楼层 来自: 中国湖北十堰
建议采用双顶尖,装配后精车A基准及转盘C面、外圆。这样能保证转盘的C面、外圆和基准一刀成形,相对精度会好得多。
发表于 2009-1-5 16:31:16 | 显示全部楼层 来自: 中国浙江宁波
看了有点迷糊,转盘座精度能达到多少。它是标准件么?如果它的同心度不够,转盘和转轴加工精度再高也没有用。0 r; a$ U0 h( z* H
还有装配后加工端面和外圆也是同一毛病。三个零件一个同心度达不到就不行。转盘座也需要精加工。; M, p2 w7 A& N6 O, b
" }& _% m/ M% O9 W. S+ M" A
另关于轴类加工,提供一份资料供参考,详细介绍加工阶梯轴的工艺。转盘及转盘座均可以同样参照。

轴类零件加工工艺.pdf

694.12 KB, 下载次数: 10

发表于 2009-1-5 16:57:38 | 显示全部楼层 来自: 中国江苏苏州
很难做好的,考虑到刚性问题这很重要。
发表于 2009-1-6 10:54:54 | 显示全部楼层 来自: 中国上海
实话说,楼主这件东西让我很不理解,这么高的要求,又设计成这种结构。想问一下,是自己想出来的?还是安原样修配(仿造)的?
% x1 ^: y* L6 ^0 i" j我说几句,供大家批评:
) [5 l( ~% B$ T( y1、“装配完成后,C面及Φ300的旋转精度在0.01mm内.”这要求已经不是你车床精度高不高,工艺设计合不合理的问题了。你做到完美,还有轴承间隙问题,还有装配精度、变形问题。
: w  j; C9 p4 B# S2、你既然把盘片与轴分开,设计上说无非为了更换方便的需要,但在这一精度下,你根本保证不了二次安装的精度。不要说你只用螺丝固定,即便加上定位销也无济于事。配做是必然的,也就是说方便不了。  H5 L, n  b5 D$ y9 G
3、不论你是什么车床,你只要做二次装夹,都不可能达到0.01mm的精度,打千分表都很难,建议你用千分表打打你的卡盘或主轴,你就会明白的。

评分

参与人数 1三维币 +3 收起 理由
渔樵 + 3 技术讨论

查看全部评分

 楼主| 发表于 2009-1-6 15:42:42 | 显示全部楼层 来自: 中国江西景德镇
原帖由 马尔马拉海 于 2009-1-6 10:54 发表 http://www.3dportal.cn/discuz/images/common/back.gif+ @4 y6 Y7 Y" R/ G
实话说,楼主这件东西让我很不理解,这么高的要求,又设计成这种结构。想问一下,是自己想出来的?还是安原样修配(仿造)的?( N& Q# e, @8 o3 m  J! M
我说几句,供大家批评:5 l" |8 A- P1 i5 n0 z: f  ]6 ?
1、“装配完成后,C面及Φ300的旋转精度在0.01mm内.”这要求已 ...

- B/ Q/ S! `& Q* R$ O" H
% Y; ?- u. d/ W- |% n* j
& R/ O7 H$ y6 Y' D老兄指教的是!
9 T" c4 _: T/ ?" D5 ~1 d; {这个零件是仿制的.就是这么个结构,平常来说,精度要求在0.02-0.05内都可以了.最近最到个用户特别强调旋转精度,费了好大劲都拿不下来----所以跑到这里求教各位了.0 \  a1 s" A5 ]6 R* G
% {: J4 e- h* H
这是一种陶艺拉坏机用的,这个精度要求并不跟其它部位相关(也即不是装配要求),只是在转盘运转时,如果精度不能达到0.01mm以下,目测时就有较大的摆动感觉.
发表于 2009-1-6 21:52:58 | 显示全部楼层 来自: 中国陕西汉中
建议去掉中间的转盘做,其余尺寸装配后一次车出
发表于 2009-1-7 17:49:21 | 显示全部楼层 来自: 中国湖北武汉
建议采用双顶尖
发表于 2009-1-8 14:47:13 | 显示全部楼层 来自: 中国江苏无锡
关键问题,装配后夹外圆车,用普通三爪肯定不行,必须用高精度的弹簧夹套。另一个办法转盘上留中心孔,装配完双顶磨端面,如果量不大的话,还有一种办法,装配后用薄垫片调整。
发表回复
您需要登录后才可以回帖 登录 | 注册

本版积分规则


Licensed Copyright © 2016-2020 http://www.3dportal.cn/ All Rights Reserved 京 ICP备13008828号

小黑屋|手机版|Archiver|三维网 ( 京ICP备2023026364号-1 )

快速回复 返回顶部 返回列表