QQ登录

只需一步,快速开始

登录 | 注册 | 找回密码

三维网

 找回密码
 注册

QQ登录

只需一步,快速开始

展开

通知     

全站
3天前
查看: 1649|回复: 3
收起左侧

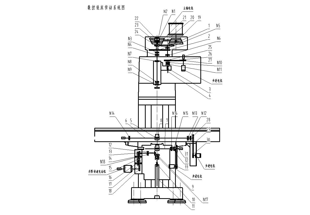
[已解决] 求数控立式铣床传动系统图!

 关闭 [复制链接]
发表于 2009-3-5 22:48:48 | 显示全部楼层 |阅读模式 来自: 中国陕西

马上注册,结识高手,享用更多资源,轻松玩转三维网社区。

您需要 登录 才可以下载或查看,没有帐号?注册

x
急切求各位高手能提供完整的立式铣床传动系统方案图!在下感激不敬,感激不敬!谢谢!O(∩_∩)O谢谢
发表于 2009-3-6 09:33:03 | 显示全部楼层 来自: 中国上海
数控立式铣床传动系统图
数控铣床.JPG
发表于 2009-3-6 12:16:10 | 显示全部楼层 来自: 中国河南洛阳
高档数控铣床一般没有传动链,中低档数控铣床采用传动链,并且也很简单,主要看机床结构和用途情况,确定传动方案,加以设计就是了。
 楼主| 发表于 2009-3-6 18:46:07 | 显示全部楼层 来自: 中国陕西
谢谢指教!非常感谢! :)
发表回复
您需要登录后才可以回帖 登录 | 注册

本版积分规则

Licensed Copyright © 2016-2020 http://www.3dportal.cn/ All Rights Reserved 京 ICP备13008828号

小黑屋|手机版|Archiver|三维网 ( 京ICP备2023026364号-1 )

快速回复 返回顶部 返回列表