QQ登录

只需一步,快速开始

登录 | 注册 | 找回密码

三维网

 找回密码
 注册

QQ登录

只需一步,快速开始

展开

通知     

查看: 2484|回复: 2
收起左侧

[求助] 磁电机转子的装配

[复制链接]
发表于 2009-3-12 09:08:40 | 显示全部楼层 |阅读模式 来自: 中国浙江杭州

马上注册,结识高手,享用更多资源,轻松玩转三维网社区。

您需要 登录 才可以下载或查看,没有帐号?注册

x
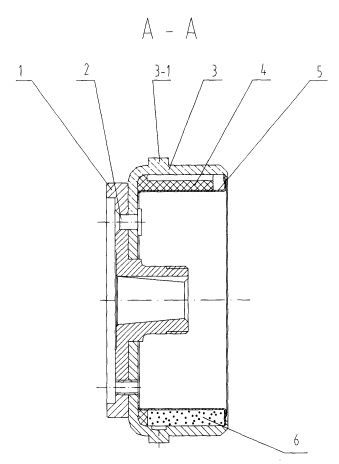
摩托车磁电机转子的图如附件,请教一下大家,这个转子的装配顺序是怎么样的?磁钢、集磁环和转子壳之间都是紧压的吗?飞轮壳侧部是最后翻边的吗?先谢谢了!$ ]2 l; q( B; o2 E3 H* U
图中,1-连接盘,2-铆钉,3-转子外壳,4-固定套,5-集磁环,6-磁钢
a1.jpg
a2.jpg
发表于 2009-3-12 11:00:58 | 显示全部楼层 来自: 中国江苏常州
1,连接盘精加工
8 o% t; ^/ ^  T2,连接盘与外壳铆接
1 j2 n+ u6 x/ K9 k: N3,上数控车外壳组合件,包括那个锥孔。: R2 {) C( n* o: {( s  z& N% z
4,装磁钢固定架和磁钢。0 w2 {% Z7 V9 d: g! b3 R
5,烘干- r2 I/ c  I9 m! y2 L
6,车集磁环。( c/ Y/ g' ]1 `+ ^$ j# a+ B
7,校正动平衡或则是静平衡。
. l3 k# s$ J* Z3 _1 m8,补损伤的镀锌层。

评分

参与人数 1三维币 +5 收起 理由
xyzabcxyzabc + 5 应助

查看全部评分

 楼主| 发表于 2009-3-12 11:35:24 | 显示全部楼层 来自: 中国浙江杭州
多谢楼上朋友的指点!再请教一下烘干是什么目的啊?集磁环是紧压进去的吗,之后再车集磁环内部尺寸啊?( s3 a9 g& O9 z/ \
另外飞轮外壳上的凸台是冲出来的话,是先冲凸台再拉伸吗?请指点,谢谢!( y- U! R5 L0 x3 g
/ ?- {  Z5 n! @8 q: z1 T6 }9 l& T
[ 本帖最后由 sky19 于 2009-3-12 11:39 编辑 ]
发表回复
您需要登录后才可以回帖 登录 | 注册

本版积分规则


Licensed Copyright © 2016-2020 http://www.3dportal.cn/ All Rights Reserved 京 ICP备13008828号

小黑屋|手机版|Archiver|三维网 ( 京ICP备2023026364号-1 )

快速回复 返回顶部 返回列表