QQ登录

只需一步,快速开始

登录 | 注册 | 找回密码

三维网

 找回密码
 注册

QQ登录

只需一步,快速开始

展开

通知     

查看: 1474|回复: 6
收起左侧

[已解决] 键连接的问题 多谢

 关闭 [复制链接]
发表于 2009-4-8 11:48:15 | 显示全部楼层 |阅读模式 来自: 中国湖北黄石

马上注册,结识高手,享用更多资源,轻松玩转三维网社区。

您需要 登录 才可以下载或查看,没有帐号?注册

x
键连接的问题  多谢- C. H  R+ @2 x  l7 R6 u

9 K- A' u( ?2 W' }  ^; q# sA18×70  GB1096-79    轮毂L=80   A型平键 有效工作长度是多少。  
; m% a0 S. H+ y; O9 c我想问下。  18   70   啥意思。  后面那些。
) G. Z. C7 g3 R) ?4 H
6 o8 ^/ Y: D  C/ h/ ~还有1个题目。   轮毂与州采用普通平键连接,配合处轴径d=80mm   则键的 粕面尺寸
- z5 b* G: M* Y" B9 Ob ·h     一般取多少。   咋算   多谢!
 楼主| 发表于 2009-4-8 11:49:51 | 显示全部楼层 来自: 中国湖北黄石
随便搭车 问下    齿轮精度代号  7-6-6 GM GB10095-88   
" |9 ~+ Q& P! }9 o; F' k各个玩意代表啥意思     7代表啥
, f* N/ i4 b" K+ H% N% ^% oM代表啥  多谢大哥大姐们了
发表于 2009-4-8 15:48:05 | 显示全部楼层 来自: 中国北京
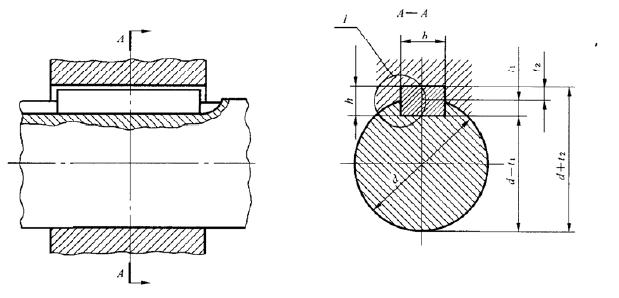
是指键的截面尺寸bXh,含意可参考下图:
未命名.jpg

评分

参与人数 1三维币 +5 收起 理由
userkypdy + 5 谢谢应助!

查看全部评分

发表于 2009-4-8 16:00:36 | 显示全部楼层 来自: 中国辽宁沈阳
看一下选取表格你的问题就都明白了。
! \. k$ w) F' ?见下表:
1.jpg

评分

参与人数 1三维币 +5 收起 理由
userkypdy + 5 谢谢应助!

查看全部评分

发表于 2009-4-8 16:09:07 | 显示全部楼层 来自: 中国山西太原
1  A18×70  GB1096-79    是A型普通平键,表示宽18mm、长70mm、A表示两端都是半圆形,后面是国家标准号。4 ^% }" _9 S; X) r6 A/ h0 P2 {
2  轴径d=80mm    b ·h=22×14 mm  这些尺寸在机械设计手册上查表就可得到。

评分

参与人数 1三维币 +3 收起 理由
userkypdy + 3 谢谢应助!

查看全部评分

发表于 2009-4-8 18:44:35 | 显示全部楼层 来自: 中国上海
原帖由 网络菜鸟 于 2009-4-8 15:48 发表 http://www.3dportal.cn/discuz/images/common/back.gif
6 j4 }! Y8 L6 p1 ^% H是指键的截面尺寸bXh,含意可参考下图:
2 l0 `* B0 ?5 r

$ M2 A6 n* g3 u5 [" N  ~70代表h,好像不对吧
发表于 2009-4-8 19:20:36 | 显示全部楼层 来自: 中国江苏南京
70表示L长度A18是标准普通平键H是定高

评分

参与人数 1三维币 +3 收起 理由
userkypdy + 3 积极交流

查看全部评分

发表回复
您需要登录后才可以回帖 登录 | 注册

本版积分规则


Licensed Copyright © 2016-2020 http://www.3dportal.cn/ All Rights Reserved 京 ICP备13008828号

小黑屋|手机版|Archiver|三维网 ( 京ICP备2023026364号-1 )

快速回复 返回顶部 返回列表