QQ登录

只需一步,快速开始

登录 | 注册 | 找回密码

三维网

 找回密码
 注册

QQ登录

只需一步,快速开始

展开

通知     

全站
5天前
查看: 9165|回复: 24
收起左侧

[已答复] 请问这个活接头是什么标准的?

[复制链接]
发表于 2009-4-18 20:57:04 | 显示全部楼层 |阅读模式 来自: 中国江苏苏州

马上注册,结识高手,享用更多资源,轻松玩转三维网社区。

您需要 登录 才可以下载或查看,没有帐号?注册

x
如图所示本是GB 3289-37的活接头,不同点在于件3是个O形圈,而不是平的橡胶圈,结构也有点不同,是采用的O形圈的槽。想请教这种活接头是什么标准号,主要是这种活接头防漏油效果比较好。1 X3 I1 _1 X* V) K* G
1.JPG
 楼主| 发表于 2009-4-20 09:56:17 | 显示全部楼层 来自: 中国江苏苏州
图形有点不对,应该是下图的样子:( e6 p# ]; j. N! b
1.jpg
发表于 2009-4-20 21:14:07 | 显示全部楼层 来自: 中国内蒙古包头

应该是气动接头

看楼上的图形
( `3 G" X9 ?% [( d4 E应该是气动管接头吧
发表于 2009-4-21 07:51:06 | 显示全部楼层 来自: 中国福建厦门
原帖由 hero2006 于 2009-4-18 20:57 发表 http://www.3dportal.cn/discuz/images/common/back.gif1 m$ c. ^0 R. U2 H0 h# @
如图所示本是GB 3289-37的活接头,不同点在于件3是个O形圈,而不是平的橡胶圈,结构也有点不同,是采用的O形圈的槽。想请教这种活接头是什么标准号,主要是这种活接头防漏油效果比较好。9 I2 M" S/ u) J' W
1263591
8 h1 j* d9 D1 T
0 M/ G! ~+ R& _! b, O* ?$ X
没有理解你所讲的意思。
发表于 2009-4-21 13:11:28 | 显示全部楼层 来自: 中国河北石家庄
楼主所说的活接头管件是PPR管件结构,此种管件的密封采用O形圈端面密封结构。与管子连接处有带扣的也有直管粘结的。给你从网上找了一个PPR活接头图片/ y( I' y! h7 A$ @3 B' J
product-135316-4261133.jpg
2 V) F, P! Z' f4 o, G4 B  P% N
1 K9 w" k' b4 N" u# U只是使用过,国标号不知道,这个东西在现在的建筑管道作业中大量使用。请在网上搜索“PPR管件”或“PPR活接头”就可以知道生产厂家了。可以将你的具体尺寸联系落实,也可以叫你们厂子的采购人员到五金店里去询问PPR活接头的相关信息也能落实。

评分

参与人数 1三维币 +2 收起 理由
asdolmlm + 2 鼓励参与

查看全部评分

发表于 2009-4-21 16:56:24 | 显示全部楼层 来自: 中国安徽淮北
5#说的PPR活接,看过,非常实用,国标可到网上查查
发表于 2009-4-21 17:12:45 | 显示全部楼层 来自: 中国山西太原
5#说得对,PP-R(聚丙烯管件)在建筑管道安装中用的很多,就有超版说的这种结构。但相应的行业标准还没见到,国标中没有。

评分

参与人数 1三维币 +2 收起 理由
userkypdy + 2 技术交流

查看全部评分

发表于 2009-4-21 17:44:37 | 显示全部楼层 来自: 中国北京
应该是锥管螺纹活接头,或者叫油任。国标号GB 3289-37不变,密封圈是o形还是平面的不影响国标编号。+ c  H$ T# r8 w

2 n5 ]) f( f0 \2 n" u5 L[ 本帖最后由 hhq426 于 2009-4-21 17:47 编辑 ]
 楼主| 发表于 2009-4-21 20:00:30 | 显示全部楼层 来自: 中国江苏苏州

回复 8# hhq426 的帖子

若标准号不变,只加上标记:带O形圈,并且材料改成碳钢,估计厂家结构上需要做点改动。
+ ~2 e* ^" ~8 \- E我们的采购说可以这样采购,但要把这个图形给人家。
2 O! i7 ~. G+ S% }1 b对于厂家来说,应该是很简单的事情,可由于没有标准号,图面上不是很好表述。并且这次在这个厂家做了,下次换另一个厂家,又是非标,价格上不太好,若能有标准号就再好不过了。
1 t3 s" F8 l/ j2 v! {- C0 o: [听说美国有这个标准,但接口是NPT螺纹的。暂时还没有找到标准号
4 ?+ Q* x* t- b/ E& [& W7 T
+ \! k7 `/ n* R, m, N( a+ W老是有人看不懂我的帖。
发表于 2009-4-21 23:16:34 | 显示全部楼层 来自: 中国江苏镇江

回复 9# hero2006 的帖子

船舶附件-中间螺纹接头
 楼主| 发表于 2009-4-22 13:12:27 | 显示全部楼层 来自: 中国江苏苏州
找到了部分内容:, C, d  l% F" o1 |! f1 c) w' D) I- W
1 1/2"NPT - STOCKHAM NO.694 - BLACK MALLEABLE IRON CLASS 150, ASTM A197, ANSI B16.3 & ANSI B1.20.1/ w9 f+ H. x7 M7 }5 l
可能是ANSI B16.3,但没有找到标准。
发表于 2009-4-25 13:53:15 | 显示全部楼层 来自: 中国河北石家庄

回复 9# hero2006 的帖子

即使是O形圈端面密封的活接头,其本质也是低压管路用件,如果安装手法没有问题,两种活接头实际使用效果一致,没有太大区别,如果只是设备制造借用件,个人认为没有必要这样处理   _7 ]- u, l3 o9 s3 _# ]# j
尤其建议楼主不要采用定制的方法,除非你一批定的数量足够你使用几年的!一般管件均为玛钢件,改为其它钢种必须重新制作模具,你不会让厂家给你新投一批模具用来铸造吧?(一套模具根本不具备生产意义)你所找的标准号个人认为对你的具体工作没有太大意义,你列出了国外标准,采购员到哪里去买? + _! Z0 G* H7 T5 q
也就是在前一段时间有个工程施工时大量采用PPR管件才用到不是玛钢材质的管件,你可以和http://www.yhjlfm.cn/gjzb.php 或类似厂家联系,他们应该能够给出相关标准和活接头标准号的,而且应该有你所要求的东东,实在不行用铜活接头补焊改制也比定制碳钢活接头要合适一点儿吧?" V$ _/ I: `1 `: U" I- ~, H: H" w
个人意见,谨供参考。

评分

参与人数 1三维币 +3 收起 理由
userkypdy + 3 技术交流

查看全部评分

发表于 2009-4-25 14:17:36 | 显示全部楼层 来自: 中国重庆
发个漂亮的活接头,也不晓得标准
无焊管接头1.jpg

评分

参与人数 1三维币 +2 收起 理由
天际孤帆 + 2 鼓励交流,欢迎附图说明。

查看全部评分

发表于 2009-4-25 14:49:49 | 显示全部楼层 来自: 中国湖南株洲
我们单位是专做各种接头的,向这种也有
发表于 2009-5-3 19:16:49 | 显示全部楼层 来自: 中国浙江杭州
有些东西不一定要一样的,只要用途好就行,不妨碍结构;你是水管上的接头吧,不是气动用的浮动接头

评分

参与人数 1三维币 +2 收起 理由
天际孤帆 + 2 新会员交流发言鼓励。

查看全部评分

发表于 2009-5-3 22:04:34 | 显示全部楼层 来自: 中国浙江杭州
普通活接头应是管螺纹的。

评分

参与人数 1三维币 +2 收起 理由
天际孤帆 + 2 新会员交流发言鼓励。

查看全部评分

发表于 2009-5-4 15:42:50 | 显示全部楼层 来自: 中国北京
普通的活接头,不过需要定做,一般的做接头的厂家都能做。  p1 f9 y. {0 X2 I% _$ |' `
只要螺纹标准知道就行,O 型圈的大小可以根据实际需要指定。! ~% B) Z: w" @$ a% @
不需要搞那么复杂,就普通的密封。
5 W: D/ l5 C6 B; r# @3 i  [* }8 W
- ]) o' O- p" I( ^我开始设计时也那样
发表于 2009-5-4 16:24:52 | 显示全部楼层 来自: 中国山东济南
学习中 俺是新手  
3 W! O. R: n: c3 C对这个还不太了解 1 Q. ^, k( s8 i* s
呵呵
发表于 2009-5-4 23:40:58 | 显示全部楼层 来自: 中国安徽芜湖
有一本关于管接头的书,本论坛好象有而且非常全面
发表于 2009-5-4 23:59:34 | 显示全部楼层 来自: 中国山东潍坊
老大,这种管接头用得很多啊, 集中润滑的管接头也是这种,接的是高压软管或是铜管,  这东西可以直接买到, 启东润滑、南通润滑、还有淄博润滑他们都有。 他们会给你寄一个大样本, 整套的润滑手册。, k% Y! p5 V" Z& O/ X
你要问他们从网上查也可以,你不方便的话明天我到办公室看看他们的电话。

评分

参与人数 1三维币 +2 收起 理由
天际孤帆 + 2 技术讨论+应助

查看全部评分

发表于 2009-11-30 11:01:00 | 显示全部楼层 来自: 中国浙江嘉兴
不锈钢的活接头标准又是多少?
发表于 2009-11-30 13:38:07 | 显示全部楼层 来自: 中国浙江嘉兴
原帖由 hero2006 于 2009-4-21 20:00 发表 http://www.3dportal.cn/discuz/images/common/back.gif9 S7 I# `' G# j0 K) w7 T$ K1 `
若标准号不变,只加上标记:带O形圈,并且材料改成碳钢,估计厂家结构上需要做点改动。
. r# F  r3 U9 m我们的采购说可以这样采购,但要把这个图形给人家。
! {' T" ]& r0 [4 `3 x$ B+ }对于厂家来说,应该是很简单的事情,可由于没有标准号,图面上不是很好表 ...

, w) X# T. E$ e! i# s: G6 r' m7 O
$ j5 [" X. F8 }5 z- e
0 w. F* W4 f" Y8 I7 K) K! y! h$ o' [% j有个的。0 q$ S6 d/ Y+ C3 T& t" l; C
MSS SP-83-2006 3000级承插焊和螺纹钢管活接头(英文版)

MSS SP-83-2006 Class 3000 Steel Pipe Unions Socket Welding and Threaded.pdf

169.57 KB, 下载次数: 19

发表于 2009-12-2 19:52:26 | 显示全部楼层 来自: 中国北京
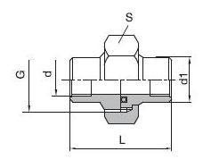
楼主的是螺纹活接头,如果两端无螺纹的则是承插活接头,发个承插活接头的图:并发这两种活接头的标准资料
% D+ I% g8 h2 y$ h$ w1 [$ F2 r* e- w9 @3 R. F
[ 本帖最后由 hhq426 于 2009-12-2 19:59 编辑 ]
clip_image001.jpg

活接头公称通径标准.rar

4.22 KB, 下载次数: 33

发表于 2010-8-17 09:21:37 | 显示全部楼层 来自: 中国江苏南京
不锈钢活接头是不没有国标啊?网上都是美标
发表于 2010-10-9 11:44:57 | 显示全部楼层 来自: 中国江西九江
本帖最后由 lifa19841005 于 2010-10-9 11:49 编辑
2 d6 F! _1 [$ ?3 v5 y
5 Q+ X; R$ M/ V6 [3 s这个活接头的标准是JB/ZQ4418-2006

JBZQ 4418-2006 活接头.pdf

28.85 KB, 下载次数: 29

评分

参与人数 1三维币 +2 收起 理由
天际孤帆 + 2 鼓励交流

查看全部评分

发表回复
您需要登录后才可以回帖 登录 | 注册

本版积分规则

Licensed Copyright © 2016-2020 http://www.3dportal.cn/ All Rights Reserved 京 ICP备13008828号

小黑屋|手机版|Archiver|三维网 ( 京ICP备2023026364号-1 )

快速回复 返回顶部 返回列表