QQ登录

只需一步,快速开始

登录 | 注册 | 找回密码

三维网

 找回密码
 注册

QQ登录

只需一步,快速开始

展开

通知     

全站
4天前
查看: 1465|回复: 2
收起左侧

[求助] 泵上带的LS阀与多路阀上的LS阀手否相同?

[复制链接]
发表于 2009-4-27 08:46:30 | 显示全部楼层 |阅读模式 来自: 中国浙江杭州

马上注册,结识高手,享用更多资源,轻松玩转三维网社区。

您需要 登录 才可以下载或查看,没有帐号?注册

x
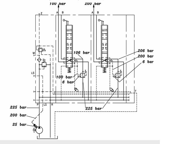
对比附件中的两个原理图,那个二通补偿器是否与泵上带的LS阀是否是同一个东西啊?
, ^) q) F$ Q( U# n' O* @5 Z- C/ J泵和多路阀可否同时都带有压力补偿阀?
/ R* K% k8 Y. r; e还有第一个图中的泵是不是如第三个图所示?只是把LS信号引导弹簧腔里?& v  z4 ?7 K9 h+ T0 P- p7 W; J

0 _$ `/ J$ O# c7 J) A[ 本帖最后由 dcz19831009 于 2009-4-27 11:46 编辑 ]
20090425_d851483c49e47a05e9c6qXhn8TQlCbO4.jpg
未命名.JPG
未命名1.JPG
发表于 2009-4-29 11:10:41 | 显示全部楼层 来自: 中国辽宁本溪
我也在学习中。; M) c; a9 }8 g) v" H5 y" }/ ?
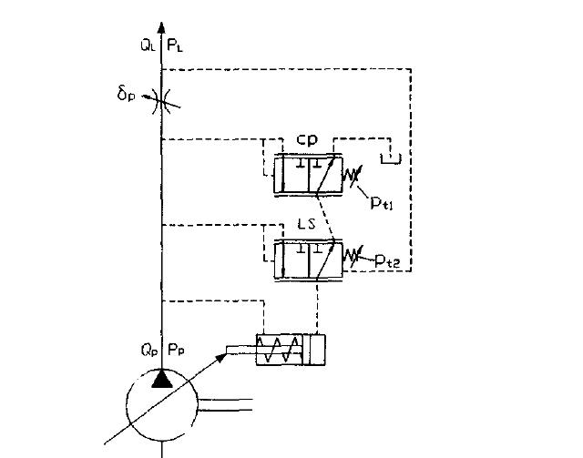
1.“二通补偿器是否与泵上带的LS阀是否是同一个东西啊”
, v% f2 a) F! e" R1 F  s   不是。泵上的LS阀决定上图中的压力补偿器+多路阀阀口之进出口的压差,并通过它来改变泵斜盘的倾角进而改变泵的排量。而多路阀中的压力补偿器的作用是将各负载的压力差在补偿阀口以发热的形式补偿掉。( W/ ]4 k8 d3 Y
2.“还有第一个图中的泵是不是如第三个图所示?只是把LS信号引导弹簧腔里?”
$ m! T$ h7 U+ r# }2 A   我想是的。
 楼主| 发表于 2009-4-29 14:16:03 | 显示全部楼层 来自: 中国浙江杭州
我后来又查了些资料,我看到其实第一个图中的闭式泵应该和现在发的这个图的一样,也就是负载敏感泵,只不过这个图中的那个节流阀其实就是实际系统中的方向阀、多路阀的阀口,一般不在供货范围内,而泵上的LS阀其实就像是开中心系统中的三通压力补偿阀,只不过集成在泵上了,而且通过此LS阀可调节泵排量,不像开中心系统那样溢流掉,所以这两个问题就全都解决了
1 M8 x- Y7 `' Z( g7 H
7 G% D" p( C  k0 q[ 本帖最后由 dcz19831009 于 2009-4-29 15:55 编辑 ]
负载敏感泵.JPG

负载敏感技术在液压系统中的应用.PDF

158.48 KB, 下载次数: 17

发表回复
您需要登录后才可以回帖 登录 | 注册

本版积分规则

Licensed Copyright © 2016-2020 http://www.3dportal.cn/ All Rights Reserved 京 ICP备13008828号

小黑屋|手机版|Archiver|三维网 ( 京ICP备2023026364号-1 )

快速回复 返回顶部 返回列表