QQ登录

只需一步,快速开始

登录 | 注册 | 找回密码

三维网

 找回密码
 注册

QQ登录

只需一步,快速开始

展开

通知     

查看: 2060|回复: 5
收起左侧

[求助] 风机的进风口有什么要求?

[复制链接]
发表于 2009-5-7 21:04:07 | 显示全部楼层 |阅读模式 来自: 中国山东日照

马上注册,结识高手,享用更多资源,轻松玩转三维网社区。

您需要 登录 才可以下载或查看,没有帐号?注册

x
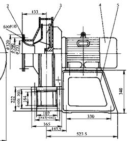
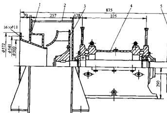
二冷风机的进风喇叭口有什么设计要求?我们能直接测量造一个吗?好像上边有严格的弧线要求,要不影响吸风系数?我们这里的引风机型号是Y4-73-14D的。谁有相关资料能否提供一下,谢谢!
发表于 2009-5-7 23:28:05 | 显示全部楼层 来自: 中国台湾
如果要做叶轮不太建议自己做;其它则可试试$ b8 ~8 ?. H  O5 u; K! l
国产标准号风机很少有弧状。
发表于 2009-5-8 00:41:09 | 显示全部楼层 来自: 中国天津
学习一下
发表于 2009-7-11 19:42:36 | 显示全部楼层 来自: 中国广西防城港
路过学习一下。。。。。
发表于 2009-7-13 08:59:51 | 显示全部楼层 来自: 中国湖北荆州
进风口保证转弯处要圆滑过渡,半径尽量大.减少阻力,提高效率.

评分

参与人数 1三维币 +2 收起 理由
虎强 + 2 技术讨论

查看全部评分

发表于 2009-7-13 15:22:45 | 显示全部楼层 来自: 中国山西太原
风机的进风口形状与叶轮的设计参数和叶片形状有关,设计原则是使进口的气流阻力最小,能圆滑地进入叶轮的流道。要自行设计涉及的东西较多,要测绘,可借助曲线尺。要求不同的风机,进风口的形状也不同,进风口有喇叭形、圆锥形和直筒形。见下图:
风机喇叭形进口管.jpg
风机圆锥形进口管.jpg
风机直筒形进口管.jpg

评分

参与人数 1三维币 +5 收起 理由
虎强 + 5 技术讨论

查看全部评分

发表回复
您需要登录后才可以回帖 登录 | 注册

本版积分规则


Licensed Copyright © 2016-2020 http://www.3dportal.cn/ All Rights Reserved 京 ICP备13008828号

小黑屋|手机版|Archiver|三维网 ( 京ICP备2023026364号-1 )

快速回复 返回顶部 返回列表