QQ登录

只需一步,快速开始

登录 | 注册 | 找回密码

三维网

 找回密码
 注册

QQ登录

只需一步,快速开始

展开

通知     

查看: 1858|回复: 3
收起左侧

[讨论结束] 关于《机械工人》中的一篇论文

[复制链接]
发表于 2009-5-13 15:38:00 | 显示全部楼层 |阅读模式 来自: 中国吉林长春

马上注册,结识高手,享用更多资源,轻松玩转三维网社区。

您需要 登录 才可以下载或查看,没有帐号?注册

x
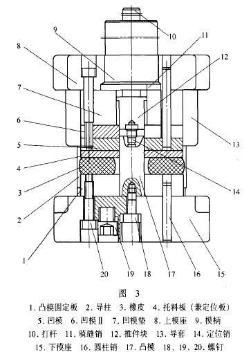
最近一直在研究外缘整修技术,也想从网上找些这方面的知识,在《机械工人》2005年第11期找到了一篇文章:《整修模的设计及外缘整修技术的应用》,见附件。
* q+ Z7 z/ U$ A这些天一直在研究这篇文章,觉得能从中获得一些帮助,但文章中给的模具图示例(见附图),感觉有疑问,此模具是在一套模上实现两次整修,所以上下有两个凹模,但凸模只有一个,也就是说两次整修的凸凹模间隙有一个会很大,从我这些天所了解的知识来看,整修的间隙应该很小,所以,个人认为很难在一套模具的实现两次整修。6 a0 q/ @6 M2 q* B0 k$ O3 `1 W
通过这篇文章,我真的怀疑,一些发表在各类技术刊物上的技术论文和文章等,是否都经过实践验证?是否经过专业的审核?
1 q- o! j& E; q( a当然我只是通过个人分析才下的这个结论,不一定对,所以,请大家也下载一下这篇文章看一下,共同讨论一下,我也想听听大家的见解!觉
1 _9 d% B8 A5 F
! Q6 y/ v; l9 b8 Q" v: c2 p[ 本帖最后由 yubq7296 于 2009-5-13 16:10 编辑 ]
snap1.jpg

整修模的设计及外缘整修技术的应用.rar

142.09 KB, 下载次数: 5

发表于 2009-5-13 22:45:13 | 显示全部楼层 来自: 中国辽宁沈阳
"也就是说两次整修的凸凹模间隙有一个会很大",怎么会得出这样的结论。有无可能,一个小,另一个更小。
 楼主| 发表于 2009-5-14 09:16:03 | 显示全部楼层 来自: 中国吉林长春
论文中确定一次整修余量双边为0.3-0.35(按料厚4.5,中硬钢),凸模为同一个,凹模为两个,如果二次整修凹模与凸模间隙为几道的话,一次整修凹模与凸模的间孙就会是0.3以上,这个间隙跟普通冲载相差不多,起不到整修的效果!
发表于 2009-5-14 10:17:48 | 显示全部楼层 来自: 中国辽宁沈阳
"一次整修凹模与凸模的间孙就会是0.3以上"   不会呀。
1 Z. p  G; S% ?& M一次整修余量双边为0.3-0.35(按料厚4.5,中硬钢)。     可以,差不多了。7 B3 i9 |( a5 A4 q: G& _( @5 M" l5 V

; U0 e* R9 q  c0 W1 W; j& e整修余量和间隙有关系,但没必然联系。这个类似于进给量。
发表回复
您需要登录后才可以回帖 登录 | 注册

本版积分规则


Licensed Copyright © 2016-2020 http://www.3dportal.cn/ All Rights Reserved 京 ICP备13008828号

小黑屋|手机版|Archiver|三维网 ( 京ICP备2023026364号-1 )

快速回复 返回顶部 返回列表