QQ登录

只需一步,快速开始

登录 | 注册 | 找回密码

三维网

 找回密码
 注册

QQ登录

只需一步,快速开始

展开

通知     

查看: 2218|回复: 10
收起左侧

[讨论结束] 内花键的修磨

 关闭 [复制链接]
发表于 2009-7-30 09:58:11 | 显示全部楼层 |阅读模式 来自: 中国江苏无锡

马上注册,结识高手,享用更多资源,轻松玩转三维网社区。

您需要 登录 才可以下载或查看,没有帐号?注册

x
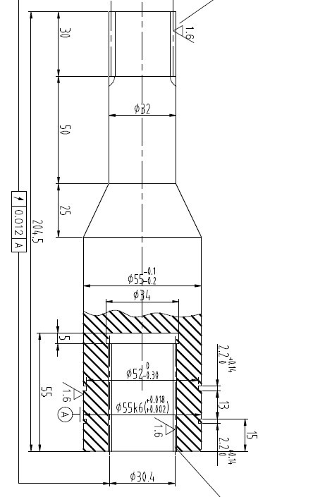
内孔27的内花键盲孔。长度50,能采用哪种磨床修磨?哪里可以加工?精度能否达到5级?
发表于 2009-7-30 18:25:05 | 显示全部楼层 来自: 中国江苏常州
还是贴个图吧,是磨小径吧,零件结构如何,都得看看吧?
发表于 2009-7-31 15:04:44 | 显示全部楼层 来自: 中国上海
磨花键?作个芯棒(外花键)研磨试试
) }0 P  g! v* }% Y磨小径 有小孔磨床可以磨的
 楼主| 发表于 2009-8-1 08:49:53 | 显示全部楼层 来自: 中国江苏无锡
看来国内的加工能力真的差的远啊
发表于 2009-8-1 16:33:03 | 显示全部楼层 来自: 澳大利亚
修磨,不是批量制造了!你在哪?沈阳能修!
 楼主| 发表于 2009-8-5 07:27:16 | 显示全部楼层 来自: 中国江苏无锡
我是江苏的,沈阳哪家啊?能给个具体联系方式吗?
发表于 2009-8-5 10:49:22 | 显示全部楼层 来自: 中国黑龙江鸡西
内花键盲孔。长度50,可以使用推刀在压力机上进行推削(类似拉床),采用成型法加工,可以达到5级精度要求、除非零件花键还需要淬火,否则不需要修磨。
 楼主| 发表于 2009-8-5 13:56:53 | 显示全部楼层 来自: 中国江苏无锡
零件材料是需要渗碳淬火的
发表于 2009-8-6 00:14:46 | 显示全部楼层 来自: 中国江苏常州
一般不要修磨的,联接用的,控制热变形,定好工艺尺寸。楼主是否传个图纸。
 楼主| 发表于 2009-8-24 09:54:34 | 显示全部楼层 来自: 中国江苏无锡
看看图纸啊
未命名.jpg
 楼主| 发表于 2009-12-16 07:54:06 | 显示全部楼层 来自: 中国江苏无锡
没有解决,后来还是按普通加工好后就用的 ,时间拖不起
发表回复
您需要登录后才可以回帖 登录 | 注册

本版积分规则


Licensed Copyright © 2016-2020 http://www.3dportal.cn/ All Rights Reserved 京 ICP备13008828号

小黑屋|手机版|Archiver|三维网 ( 京ICP备2023026364号-1 )

快速回复 返回顶部 返回列表