QQ登录

只需一步,快速开始

登录 | 注册 | 找回密码

三维网

 找回密码
 注册

QQ登录

只需一步,快速开始

展开

通知     

查看: 3259|回复: 6
收起左侧

[讨论] 对机械装配图中零、部件序号编排采用的公共指引线应该如何理解

[复制链接]
发表于 2009-8-4 10:30:59 | 显示全部楼层 |阅读模式 来自: 中国北京

马上注册,结识高手,享用更多资源,轻松玩转三维网社区。

您需要 登录 才可以下载或查看,没有帐号?注册

x
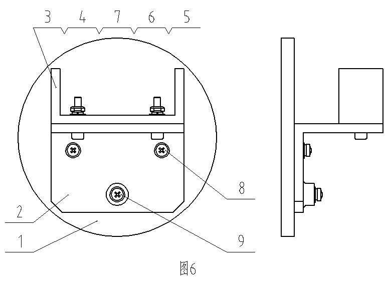
GB/T 4458.2-2003 机械制图 装配图中零、部件序号及其编排方法》中的4.4部分指出:- n, N* e: E- w% i+ ]/ n8 q! l. A; v
在装配图中编写零、部件序号时,一组紧固件以及装配关系清楚的零件组,可以采用公共指引线,如上图。
; D5 _% M( U5 V) B+ ?6 C- v此处,“一组紧固件以及装配关系清楚的零件组”应该如何正确理解?
6 O8 u; Q6 M# Q2 |3 ~假设有一个装配体(结构是否合理请不要讨论),这个装配体由123三个零件和若干紧固件组成。结合上述说法,判断一下下面各图标注的正确与否,如果可能,最好阐述理由。对于如下各图,规定各序号与零件的对应关系如下:' I* A* r& a$ e8 ^' Q
序号1:零件1
2 H2 {; s  a6 o$ V
3 V. \: F0 Z7 Q/ \2 t) v8 @- L- _
序号2:零件2
' y9 h5 p; e; A9 M" @  f序号3:零件3
4 [2 n5 I. P4 C& m9 `; t" x序号4:内六角圆柱头螺钉 GB/T 70.1 M3X16( j) z7 s3 n4 d( a9 E% B
序号51型六角螺母 GB/T 6170 M3- W3 }5 x* T/ Q; ~9 Y; ?9 @7 P3 a
序号6:标准型弹簧垫圈 GB/T 93 3$ G: m4 j9 z; q- K( S) N; ]
序号7:平垫圈 GBT 97.1 3: }$ E! V$ z( Z
序号8:十字槽盘头螺钉 GBT 818 M3X10
7 N$ Y4 P% `' Y) F" c. d5 ], c序号9:十字槽盘头螺钉 GBT 818 M3X16
6 P) ]$ y- j* c- `/ v+ p" O
. D, P  ^0 o+ {" x: _* V+ |& u/ z( l
xh1.JPG * ~" u2 y, T) H9 k
8 b/ G  }8 n+ Q! L

( k+ n8 S8 T0 N/ b- _ xh2.JPG - K6 Y5 p0 e4 {* H5 M
* t. D# J" g6 v+ h
7 E" i6 b* Q& `- {2 z+ L& a  q$ j9 ~
xh3.JPG : v# b2 z% N6 `4 K' L2 e4 X
, t( Y4 O! s& s8 e# t& J1 J
4 O( \& g) T+ ~# o
xh4.JPG
" I9 B. V0 m2 Y# ^' z! [: `" }5 C* ]; Q# @

4 A+ C, T5 G8 V' i4 J& R# ^ xh5.JPG
7 x% D+ C% t0 f4 Y/ X- E5 j" g" j8 c  k2 Y9 M
! g; M+ t# \5 r( M
xh6.JPG : K/ f% k8 m! ^3 R3 B  ]0 F% W

* b  ^  z, W; f8 m. N0 T: e: X$ P% ?+ N% }9 G0 F
xh7.JPG
0 M" J0 A' o8 e' i9 [; Y& H& P$ X* s6 J$ Z; |
再补充一个图:# k$ x% ?/ [' {2 f* V

. V. ~+ b' Q5 {" C! T xh8.JPG ( J/ w$ i0 Y8 y' U" `
4 K0 p" K" a* _
[ 本帖最后由 wjxwin2006 于 2009-8-4 12:55 编辑 ]
发表于 2009-8-4 11:18:00 | 显示全部楼层 来自: 中国上海
个人认为:2 W2 v9 g) c2 U1 u; N! F: Y, F( R- F
内六角圆柱头螺钉按图4
+ a' U; j& t! e( R$ W十字槽盘头螺钉按图7
% G9 ^. p) J! F# O/ u( y0 E123按图145都行
 楼主| 发表于 2009-8-4 11:38:53 | 显示全部楼层 来自: 中国北京
是不是就是说,零部件和紧固件不能一起用公共指引线?紧固件的序号顺序按装配顺序而不是按“栓->钉->母->垫”的顺序?
  i% G% `; q% Q% E- {' \, O% e9 |/ [1 z& z3 T2 ^9 g+ J
[ 本帖最后由 wjxwin2006 于 2009-8-4 11:43 编辑 ]
发表于 2009-8-4 11:53:53 | 显示全部楼层 来自: 中国上海
最好是不至于引起误解,虽然有时也能看懂,但最好不要这样用。
1 J% a+ s* V4 ]顺序是这样的。
( @0 H( i$ `3 l! G我们一般是将零部件先编号,标准件最后编号,如果零部件为1~50,标准件则从100开始这样子。
发表于 2009-8-4 22:17:13 | 显示全部楼层 来自: 中国上海
图2、3、6、7是错误的,尤其是图2,太离谱了吧。
1 c: Q: b! n& |6 |* H图4、5、8是有不好的,序号还是应按4、5、6、7的,而且图8没有不要重复这么多。
; ^: Y. v0 Q! T0 X+ _, E4 a5 J0 W$ K0 r8 O2 `. L7 @& S* a+ n
“一组紧固件以及装配关系清楚的零件组”,最好理解成“一组紧固件,或装配关系清楚的零件组”,把零件和紧固件共用一条指引线,那“关系”是一点也不清楚了,实在吃不准按照图1是不会有错的, :lol:
发表于 2009-8-4 22:38:43 | 显示全部楼层 来自: 中国上海
个人意见,一是零件、复用件(借用件)、标准件、外购件(其实标准件也属于外购件,这里所说的外购件是指市场上没有统一标准的采购件)等序号应做出不同的标志,比如零件用1、2、3...,复用件(借用件)用J1、J2、J3...,标准件和外购件和编在一起用B1、B2、B3...表示,这样图纸会更加清晰;二是序号大小要按顺时针或反时针规则排列并与零件号一一对应,不要序号是一种排列方法,零件号又是一种排列方法,即序号为1的,零件的编号最好也是1,序号是10的,零件号也是10,这样查找零件才方便。
2 Q& v; [+ T: N- T" j楼主所说的“一组紧固件以及装配关系清楚的零件组”一般只用在同一位置上的螺栓、垫圈、螺母组合上,其它组合很少很少用,尤其是零件的组合,零件的组合可用部件或组合件(只用一个代号,组合件中各零件可有自己下一级的代号)来表示。# B' h2 U5 b2 L7 y5 @6 ]

* p# Y2 E. f9 p[ 本帖最后由 枫林相伴 于 2009-8-4 22:40 编辑 ]
 楼主| 发表于 2009-8-11 17:44:52 | 显示全部楼层 来自: 中国北京
在纺织机械的标准里面,紧固件是不单独编号的,它的紧固件与被紧固的零件是共用同一条指引线的,而且直接将紧固件的标识写出来。要按照大家的理解,纺织机械的标准是错误的?
发表回复
您需要登录后才可以回帖 登录 | 注册

本版积分规则


Licensed Copyright © 2016-2020 http://www.3dportal.cn/ All Rights Reserved 京 ICP备13008828号

小黑屋|手机版|Archiver|三维网 ( 京ICP备2023026364号-1 )

快速回复 返回顶部 返回列表