QQ登录

只需一步,快速开始

登录 | 注册 | 找回密码

三维网

 找回密码
 注册

QQ登录

只需一步,快速开始

展开

通知     

查看: 1425|回复: 1
收起左侧

[已解决] 不锈钢管道单边焊支管变形如何矫形?

[复制链接]
发表于 2009-8-21 17:21:04 | 显示全部楼层 |阅读模式 来自: 中国上海

马上注册,结识高手,享用更多资源,轻松玩转三维网社区。

您需要 登录 才可以下载或查看,没有帐号?注册

x
各位三维的兄弟姐妹们:
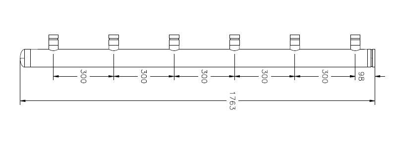
  ]  L7 b2 d2 g现有不锈钢316管道焊接,结构如图。主管道外径89mm,壁厚3mm,共有6个支管焊接在一侧位置。
' W8 ?% s. r! V" f* S/ k支管外径48mm,壁厚2.7mm.* ^' D1 v! f% O8 s- Z( _8 P
7 _$ [/ o2 X! ~" G! ~
焊接后主管道会受热变形而弯曲,这样一个形式采用什么方法进行矫形比较适合?
. s1 T* q* |& M' C9 S+ B# ^3 }; a- ?

( z/ h6 r. S9 C: r5 n2 K目前本人有个想法,用丙烷火焰进行矫形,但是矫形时采用什么形式的工装比较适合?
7 X& ?6 j2 s+ ]
2 e7 t9 a( P" g) L# ]谢谢!
pipe.jpg
 楼主| 发表于 2009-8-27 10:50:46 | 显示全部楼层 来自: 阿根廷
忘了说明一下:支管道不是通过冷拔拉出的;而是采用下图方式来焊接的。
aa.jpg
发表回复
您需要登录后才可以回帖 登录 | 注册

本版积分规则


Licensed Copyright © 2016-2020 http://www.3dportal.cn/ All Rights Reserved 京 ICP备13008828号

小黑屋|手机版|Archiver|三维网 ( 京ICP备2023026364号-1 )

快速回复 返回顶部 返回列表