QQ登录

只需一步,快速开始

登录 | 注册 | 找回密码

三维网

 找回密码
 注册

QQ登录

只需一步,快速开始

展开

通知     

全站
6天前
查看: 1696|回复: 14
收起左侧

[求助] 请大家帮忙看下这个系统模型

[复制链接]
发表于 2009-8-26 08:48:28 | 显示全部楼层 |阅读模式 来自: 中国江苏无锡

马上注册,结识高手,享用更多资源,轻松玩转三维网社区。

您需要 登录 才可以下载或查看,没有帐号?注册

x
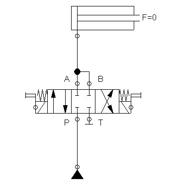
在这个模型中,换向阀换向能实现单作用缸的伸出么?注意,T口是堵掉的,请大家帮忙看下5 Y& x5 P' ^. k3 V: h
未命名.jpg
发表于 2009-8-26 08:53:15 | 显示全部楼层 来自: 中国上海
这样的问题,不做回答
 楼主| 发表于 2009-8-26 08:54:46 | 显示全部楼层 来自: 中国江苏无锡
原帖由 lwaqq320 于 2009-8-26 08:53 发表 http://www.3dportal.cn/discuz/images/common/back.gif
% U4 F: M3 V, o8 {! @' n5 C这样的问题,不做回答
( U; e3 U9 I4 F$ M" S& j
如果知道,请不吝赐教!
发表于 2009-8-26 09:06:31 | 显示全部楼层 来自: 中国四川成都
能伸出,无缩回动作。
发表于 2009-8-26 09:07:02 | 显示全部楼层 来自: 中国上海
能实现,无论处于左位还是右位,液压缸进油口接在无杆腔,即差动连接,可以伸出
发表于 2009-8-26 09:39:42 | 显示全部楼层 来自: 中国辽宁沈阳
为什么要这么做呢?为什么不让液压缸回呢
发表于 2009-8-26 10:08:32 | 显示全部楼层 来自: 中国辽宁鞍山
缩回的话就成问题了
1 N( ?# J) P$ k& V$ y无法缩回
发表于 2009-8-26 10:46:43 | 显示全部楼层 来自: 中国浙江绍兴
只能伸不能缩,左右位没有分别,没什么意义啊
发表于 2009-8-26 10:56:26 | 显示全部楼层 来自: 中国江苏无锡
可以不堵T口,堵B口就可以实现左位伸出,右位在外力作用下收回了!
发表于 2009-8-26 15:07:23 | 显示全部楼层 来自: 新加坡
堵B,T直接接回油就可以实现。
/ k$ G5 J( u6 f  g) w8 o1 |现在的油路用换向阀似乎没什么用处。
发表于 2009-8-26 15:13:48 | 显示全部楼层 来自: 中国河南南阳
没有T口,无法实现后退。
; H9 }% N+ a/ b- Y即使有T口,也需外力的作用下才能实现后退。
头像被屏蔽
发表于 2009-8-26 15:20:23 | 显示全部楼层 来自: 中国江苏无锡
提示: 作者被禁止或删除 内容自动屏蔽
发表于 2009-8-26 17:20:11 | 显示全部楼层 来自: 中国广东广州
这还真不用回答,这是问题吗
发表于 2009-8-26 21:00:09 | 显示全部楼层 来自: 中国湖北襄阳
应该不行。P口就算没有单向阀。油路回泵的时候依然回不去额。,,
发表于 2009-8-26 21:51:00 | 显示全部楼层 来自: 中国北京

回复

楼主说的是单作用缸 可能要停掉泵  下降吧 呵呵
发表回复
您需要登录后才可以回帖 登录 | 注册

本版积分规则

Licensed Copyright © 2016-2020 http://www.3dportal.cn/ All Rights Reserved 京 ICP备13008828号

小黑屋|手机版|Archiver|三维网 ( 京ICP备2023026364号-1 )

快速回复 返回顶部 返回列表