QQ登录

只需一步,快速开始

登录 | 注册 | 找回密码

三维网

 找回密码
 注册

QQ登录

只需一步,快速开始

展开

通知     

查看: 2693|回复: 7
收起左侧

[求助] 求教有关非标推力球轴承寿命问题?

[复制链接]
发表于 2009-9-7 09:43:40 | 显示全部楼层 |阅读模式 来自: 中国江苏苏州

马上注册,结识高手,享用更多资源,轻松玩转三维网社区。

您需要 登录 才可以下载或查看,没有帐号?注册

x
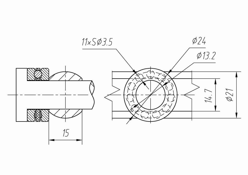
生产中遇到一个问题,由于结构限制,推力球轴承承载面最窄处只有14.7。工作时,轴转速45RPM,( q) M' ~1 _9 a- q& m
轴向载荷是交变的,峰值载荷为1.3吨。生产了两批轴承,一批的寿命基本为15000次左右,另一批基本在3500转左右,相差很大。轴承盖材料用Q195,表面渗碳,厚度0.6-1,表面硬度在58-66左右。有没有高手能指导一下,为什么两批轴承的寿命相差如此大。轴承失效模式是轴承座圈开裂。/ k: U6 K; H% D8 O  R

0 W* e9 ], `+ X) P. T+ S3 U[ 本帖最后由 vienaldo 于 2009-9-7 10:12 编辑 ]
轴承总成剖视 Model (1).jpg
 楼主| 发表于 2009-9-7 09:46:20 | 显示全部楼层 来自: 中国江苏苏州
轴承各外形尺寸都是合格的,硬度基本相同。轴承座圈厚度3.5mm,沟槽深0.5mm,沟槽半径R1.75' t; |( X# {- e  @- B; I

. r' l! z% E* e& Q8 u# a4 F[ 本帖最后由 vienaldo 于 2009-9-7 10:12 编辑 ]
发表于 2009-9-7 10:26:42 | 显示全部楼层 来自: 中国上海
1。载荷最大1.3吨,你用的推力轴承太小了,寿命不长很正常,建议加大轴承或采用推力圆柱滚子轴承。球轴承的寿命L=(C/P)^3  百万转,其中C-轴承的额定动载荷,P-轴承所受的当量动载荷。
) z( c2 O+ H. `; o4 p2。承载处尺寸太小,可以增加过度垫。% I+ g* b" B1 m! D; n
3。同一批轴承在同样的载荷下寿命相差悬殊是正常现象。轴承的疲劳寿命离散范围很大。

评分

参与人数 1三维币 +5 收起 理由
hero2006 + 5 技术讨论

查看全部评分

 楼主| 发表于 2009-9-7 10:57:02 | 显示全部楼层 来自: 中国江苏苏州
原帖由 TKG-09 于 2009-9-7 10:26 发表 http://www.3dportal.cn/discuz/images/common/back.gif
" F& L2 ]* w4 u4 M- D# N( F, Q1。载荷最大1.3吨,你用的推力轴承太小了,寿命不长很正常,建议加大轴承或采用推力圆柱滚子轴承。球轴承的寿命L=(C/P)^3  百万转,其中C-轴承的额定动载荷,P-轴承所受的当量动载荷。
) e# _6 ]* _! w9 ]) L/ b2。承载处尺寸太小,可以增 ...

; m# w3 _( t1 \! J. s5 g6 h, L$ N9 F0 P% I/ }8 n# y) E# U
主要因为结构尺寸限制了轴承大小,而且这个轴承只要求它寿命在1.4万转。其载荷曲线如下:
, Y3 t, n6 c$ ]) `: G( t/ v4 i) f/ R L11K load curve calculate.jpg * q/ o, D% w' k" Q& k8 T

5 Z) b7 e3 e) }" A[ 本帖最后由 vienaldo 于 2009-9-7 10:59 编辑 ]
发表于 2009-9-7 17:42:08 | 显示全部楼层 来自: 中国湖北襄阳
你说的截面14.7是整个轴承的还是单个套圈的
% d" K/ O" ?4 l5 v6 i: R如果是整个轴承的,你的套圈最小截面(沟底径到端面的距离)是多少?% C5 V9 Z; G, _( ?( a
如果最小截面太小,有效渗碳层深度是否合适?
( I2 J# p& F! A/ V建议测下套圈心部硬度,并且控制渗碳后的组织
8 X9 [  C2 m( Z0 P2 k( t) R; g8 c- Y8 q如果价格允许,采用套圈材料G20CrMo渗碳较好。9 d5 k+ Y. W1 K. Q( u- F
; @' X1 S5 H4 T- y" D# A
[ 本帖最后由 gp0134 于 2009-9-7 17:45 编辑 ]

评分

参与人数 1三维币 +4 收起 理由
hero2006 + 4 技术讨论

查看全部评分

 楼主| 发表于 2009-9-8 13:24:02 | 显示全部楼层 来自: 中国江苏苏州
原帖由 gp0134 于 2009-9-7 17:42 发表 http://www.3dportal.cn/discuz/images/common/back.gif
1 [* e9 w+ g  F* |& c- Q你说的截面14.7是整个轴承的还是单个套圈的, ?) a2 E- @: V% W
如果是整个轴承的,你的套圈最小截面(沟底径到端面的距离)是多少?: H1 Y4 m0 s; U/ z; y
如果最小截面太小,有效渗碳层深度是否合适?( P, ^6 I0 ]6 O+ S+ |
建议测下套圈心部硬度,并且控制渗碳后的组织
# e% ?' _) @( A: _5 m如果 ...

  Q; i9 c5 H# W+ H) q8 z用了一个很土的办法,轴承座圈一半夹在台虎钳上,用榔头敲断,第一批的样品很难敲断,有韧性,第二批的比较脆,一下就断了。我也认为是渗碳过程出的问题。
 楼主| 发表于 2009-9-15 08:41:58 | 显示全部楼层 来自: 中国江苏苏州
现在发现主要是渗碳后的回火过程出了点问题
发表于 2009-12-29 15:10:59 | 显示全部楼层 来自: 中国上海
学习了,谢谢!最近都在跟轴承打交道,这个贴很好!谢谢!
发表回复
您需要登录后才可以回帖 登录 | 注册

本版积分规则


Licensed Copyright © 2016-2020 http://www.3dportal.cn/ All Rights Reserved 京 ICP备13008828号

小黑屋|手机版|Archiver|三维网 ( 京ICP备2023026364号-1 )

快速回复 返回顶部 返回列表