QQ登录

只需一步,快速开始

登录 | 注册 | 找回密码

三维网

 找回密码
 注册

QQ登录

只需一步,快速开始

展开

通知     

查看: 2973|回复: 10
收起左侧

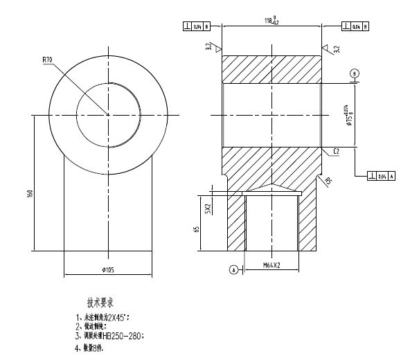
[讨论] 该零件如何加工比较好

[复制链接]
发表于 2009-9-24 13:32:56 | 显示全部楼层 |阅读模式 来自: 中国江苏无锡

马上注册,结识高手,享用更多资源,轻松玩转三维网社区。

您需要 登录 才可以下载或查看,没有帐号?注册

x
各位高手,附件中的零件如何加工比较好,请大家帮忙,谢谢?
  o1 I# t8 b4 B' ^- ]顺请教如何将图纸贴出来?谢谢!
+ }6 r  I  k4 \; K& @8 m9 I! _( b* p$ Q, C, ?- M( x, }
耳环加工图.pdf (15.75 KB, 下载次数: 8)
发表于 2009-9-24 13:42:46 | 显示全部楼层 来自: 中国湖北武汉
我帮楼主贴个图吧,这个在加工行业是典型的零件,楼主要拿这个求助的话建议找本《机械加工工艺人员手册》看看
截图00.jpg

评分

参与人数 1三维币 +1 收起 理由
xl.zhuo + 1 应助

查看全部评分

发表于 2009-9-24 14:05:58 | 显示全部楼层 来自: 中国上海
大致工艺:$ {4 A+ [  o: f% [- N4 V
锻(铸)——粗铣各端面——划线——粗车或钻孔——调质——四爪夹持,精车孔φ75及端面——精铣孔φ75另一端面——上90°弯板,精车M64x2及端面。

评分

参与人数 1三维币 +2 收起 理由
xl.zhuo + 2 参与技术讨论

查看全部评分

 楼主| 发表于 2009-9-24 15:24:35 | 显示全部楼层 来自: 中国江苏无锡

回复 3# TKG-09 的帖子

谢谢楼上两位相助,如果不用锻(铸)件而用板件能否加工出该零件呢?7 V" K' E3 Q) B; K
因为数量较少,从成本上考虑,哪种更为划算呢?
发表于 2009-9-24 15:37:41 | 显示全部楼层 来自: 中国上海
可以用板材加工。如果允许焊接的话,成本会比锻(铸)件少;若不允许拼焊,需用厚度为125的板材,且数量又少,成本与锻(铸)件相当。

评分

参与人数 1三维币 +2 收起 理由
xl.zhuo + 2 参与技术讨论

查看全部评分

发表于 2009-9-24 16:07:04 | 显示全部楼层 来自: 中国北京
原帖由 practical 于 2009-9-24 15:24 发表 http://www.3dportal.cn/discuz/images/common/back.gif
: _) T: T7 @! k5 J% n谢谢楼上两位相助,如果不用锻(铸)件而用板件能否加工出该零件呢?* S& O6 J9 Y% r8 l0 X
因为数量较少,从成本上考虑,哪种更为划算呢?

( @8 a' m" L2 Z5 `
, A- k$ g+ k' U( w  W* `& v5 j' S如果是整体的话:先用线切割把左边的外形割下来,再用加工中心加工直径105的圆(不用加工中心的话余量除不掉),和螺纹孔(工艺也可颠倒,不过余量太大),然后在加工R70的就简单了!5 ~, K8 l/ A1 ~$ W' l
铸造是要模具的,短期的话不可取,如果长期合作就锻造!如果能焊接简单你肯定也知道!呵呵!
发表于 2009-9-24 18:00:09 | 显示全部楼层 来自: 中国天津
线切割成本太高了,像这种耳环,不需要这么的高的精度,园外型精加工可以用插床搞定,一般的是在两孔及其他的端面加工完毕后在使用插床。
* h1 Y/ S7 G/ l/ d很简单的一个工件。
; Q) d/ V9 @/ \4 z. C4 M( r$ W: T- v! t- }9 }" s+ X0 P, j6 {
[ 本帖最后由 小布小 于 2009-9-24 18:01 编辑 ]
发表于 2009-9-25 08:11:58 | 显示全部楼层 来自: 中国北京
原帖由 小布小 于 2009-9-24 18:00 发表 http://www.3dportal.cn/discuz/images/common/back.gif. @9 L: i0 u0 @; U5 f/ o
线切割成本太高了,像这种耳环,不需要这么的高的精度,园外型精加工可以用插床搞定,一般的是在两孔及其他的端面加工完毕后在使用插床。9 N9 p* z2 w: Z, s
很简单的一个工件。

. Y" b* f& {& e4 M( ?1 e3 [( N3 F0 Z) \- L" `; z2 Y& a
也不知道楼主的公司有没有插床!如果几件的话线切割还是可以考虑的,百件以下可以考虑插床,再多的话只有锻造了!呵呵!
发表于 2009-9-25 11:34:29 | 显示全部楼层 来自: 中国浙江宁波
不铸不锻的话相贯线部分加工不好,不能完全符合图纸。
发表于 2009-9-25 19:25:07 | 显示全部楼层 来自: 中国黑龙江哈尔滨
找厚的钢板 先下成方料然后 粗车--钻----镗-----精车(攻丝)-----精镗
 楼主| 发表于 2009-9-26 10:41:32 | 显示全部楼层 来自: 中国江苏无锡
谢谢各位。
, h2 I( N, ^& l! R" B因为数量少,锻件周期长,铸件达不到强度,所以只好用板件加工,但是圆弧相贯线部份不知该如何加工?
发表回复
您需要登录后才可以回帖 登录 | 注册

本版积分规则


Licensed Copyright © 2016-2020 http://www.3dportal.cn/ All Rights Reserved 京 ICP备13008828号

小黑屋|手机版|Archiver|三维网 ( 京ICP备2023026364号-1 )

快速回复 返回顶部 返回列表