QQ登录

只需一步,快速开始

登录 | 注册 | 找回密码

三维网

 找回密码
 注册

QQ登录

只需一步,快速开始

展开

通知     

全站
10天前
查看: 1979|回复: 1
收起左侧

[已解决] 微型电热蒸汽发生器

[复制链接]
发表于 2009-10-19 13:13:03 | 显示全部楼层 |阅读模式 来自: 中国广东茂名

马上注册,结识高手,享用更多资源,轻松玩转三维网社区。

您需要 登录 才可以下载或查看,没有帐号?注册

x
设计要求如下:进口为常温常压水,出口为0.5MPa,150度的蒸汽。由于没搞过这玩意,更缺乏这方面的资料,现将偶的设想方案提出,请各位老大看看拍拍砖。
! X+ H. t2 A7 u: }) L% Qhttp://file:///G:/蒸汽
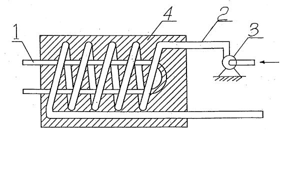
; q/ i; U- O/ g* Q* i/ G% C" Y7 i如图所示,由电热管(220V1、水管(DN82、微型高压泵3、金属铸件4所组成,(电热管1和水管2同铸于一个金属铸件4)。当电热管通电加热后,热量迅速传递到整个金属铸件和水管中,并使其迅速加热到100℃以上,这时,启动水泵3,向水管注入外来水,水即被加热蒸发成水蒸汽,水蒸汽在管内继续加热而成具有一定压力的过热蒸汽,最后从水管的出口处输出而被利用。2 A, n) P) |* [  J6 p* q
. ^- G4 r; E1 [# y: b: I' v2 }
微型高压泵3参数如下:
$ c5 H/ m9 Y! T2 E) b5 k最大流量:1~12.5L/min% {6 ?- _+ t: J' U) ]
最高压力:0.24~0.9MPa  B- H: b( r& v4 p8 `" h+ q) O; w
功率:10~40W
2 ^7 f8 |7 y8 f( l+ m% g电压:12~24VDC! A5 q7 N6 i, m; _
泵体材质:FRPP0 b+ a( Y0 X7 s9 e: @8 {

) O  o6 d9 |) C! L请问:2 @! m0 |2 ?7 V
1.方案是否可行?
' n' s6 R/ U2 |- G2 B& c7 n! l2.电热管1的功率要多大?! w* m/ a- ]3 f  h# N+ h
3.水管2的换热面积是多少?
蒸汽.JPG
发表于 2009-10-20 10:40:50 | 显示全部楼层 来自: 中国浙江宁波
我没有搞过设计,这方面的计算公式没有掌握。但是凭我的经验有些地方要注意。1,水管由常温常压在铸铁里加热,那么管膨胀问题要引起高度重视,接口处管可能破裂甚至发生危险。2,管在铸铁里并且有电加热丝,膨胀为题要解决。3, 0.5MPa,150度是过热蒸汽还是饱和蒸汽有待查热工手册。
$ Z( r$ Q; x5 n7 _8 q1 t+ e我认为想法很好,变成产品有一定难度
发表回复
您需要登录后才可以回帖 登录 | 注册

本版积分规则


Licensed Copyright © 2016-2020 http://www.3dportal.cn/ All Rights Reserved 京 ICP备13008828号

小黑屋|手机版|Archiver|三维网 ( 京ICP备2023026364号-1 )

快速回复 返回顶部 返回列表